HS-50part list(注釋) - 第284页
Teilekatalog (Parts Catalog) Bebilderte Teileliste (Illustrated Parts) Bildtafel (Figure) 28 Ausgabe (Edition) 11-03 Doppeltransport feste Seite rechts Dual conveyor, fixed rail right 28 30 -

Teilekatalog (Parts Catalog) Bebilderte Teileliste (Illustrated Parts)
Bildtafel (Figure) 28
A
usgabe (Edition) 11-03
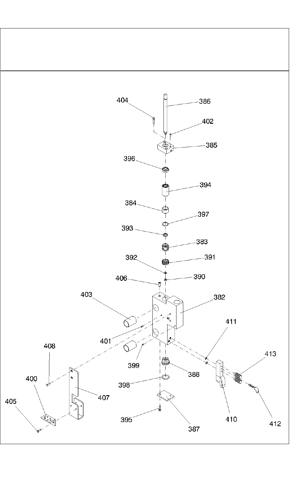
Doppeltransport feste Seite rechts
Dual conveyor, fixed rail right
28 29 -

Teilekatalog (Parts Catalog) Bebilderte Teileliste (Illustrated Parts)
Bildtafel (Figure) 28
Ausgabe (Edition) 11-03
Doppeltransport feste Seite rechts
Dual conveyor, fixed rail right
28 30 -

Teilekatalog (Parts Catalog) Bebilderte Teileliste (Illustrated Parts)
Bildtafel (Figure) 28
A
usgabe (Edition) 11-03
Doppeltransport feste Seite rechts
Dual conveyor, fixed rail right
28 31 -