HS-50part list(注釋) - 第38页
Teilekatalog (Parts Catalog) Bebilderte Teileliste (Illustrated Parts) Bildtafel (Figure) 4 Ausgabe (Edition) 11-03 Grundportal Base portal 42 -

Teilekatalog (Parts Catalog) Bebilderte Teileliste (Illustrated Parts)
Bildtafel (Figure) 4
A
usgabe (Edition) 11-03
Grundportal
Base portal
41 -

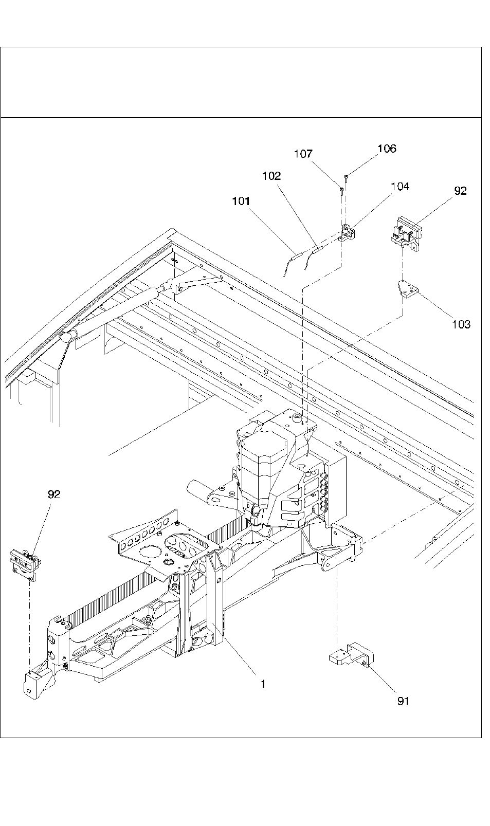
Teilekatalog (Parts Catalog) Bebilderte Teileliste (Illustrated Parts)
Bildtafel (Figure) 4
Ausgabe (Edition) 11-03
Grundportal
Base portal
42 -

Teilekatalog (Parts Catalog) Bebilderte Teileliste (Illustrated Parts)
Bildtafel (Figure) 4
A
usgabe (Edition) 11-03
Grundportal
Base portal
43 -