HS-50part list(注釋) - 第469页
Teilekatalog (Parts Catalog) Bebilderte Teileliste (Illustrated Parts) Bildtafel (Figure) 31 A usgabe (Edition) 11-03 Einfachtransport feste Seite links Single conveyor fixed side left 31 33 -

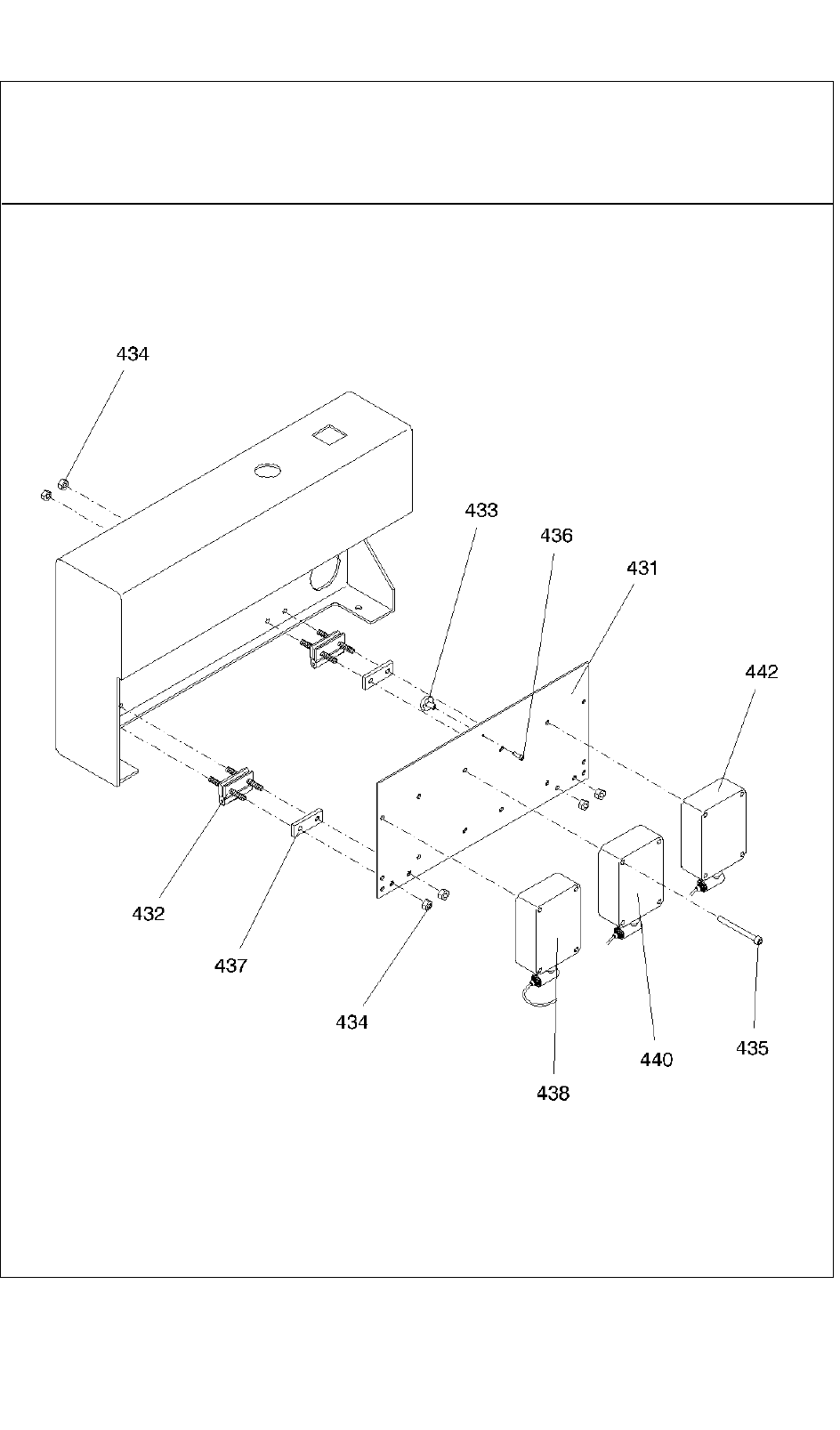
Teilekatalog (Parts Catalog) Bebilderte Teileliste (Illustrated Parts)
Bildtafel (Figure) 31
Ausgabe (Edition) 11-03
Einfachtransport feste Seite links
Single conveyor fixed side left
31 32 -

Teilekatalog (Parts Catalog) Bebilderte Teileliste (Illustrated Parts)
Bildtafel (Figure) 31
A
usgabe (Edition) 11-03
Einfachtransport feste Seite links
Single conveyor fixed side left
31 33 -

Teilekatalog (Parts Catalog) Bebilderte Teileliste (Illustrated Parts)
Bildtafel (Figure) 31
Ausgabe (Edition) 11-03
Einfachtransport feste Seite links
Single conveyor fixed side left
31 34 -