HS-50part list(注釋) - 第510页
Teilekatalog (Parts Catalog) Bebilderte Teileliste (Illustrated Parts) Bildtafel (Figure) 34 Ausgabe (Edition) 11-03 Haupt- und Sektorenverteiler Main- and sector distributor 34 6 -

Teilekatalog (Parts Catalog) Bebilderte Teileliste (Illustrated Parts)
Bildtafel (Figure) 34
A
usgabe (Edition) 11-03
Haupt- und Sektorenverteiler
Main- and sector distributor
34 5 -

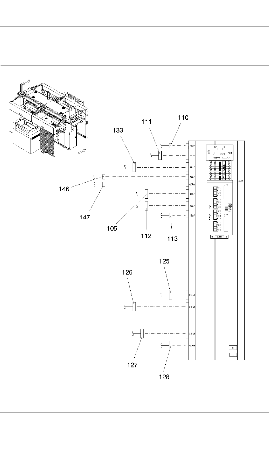
Teilekatalog (Parts Catalog) Bebilderte Teileliste (Illustrated Parts)
Bildtafel (Figure) 34
Ausgabe (Edition) 11-03
Haupt- und Sektorenverteiler
Main- and sector distributor
34 6 -

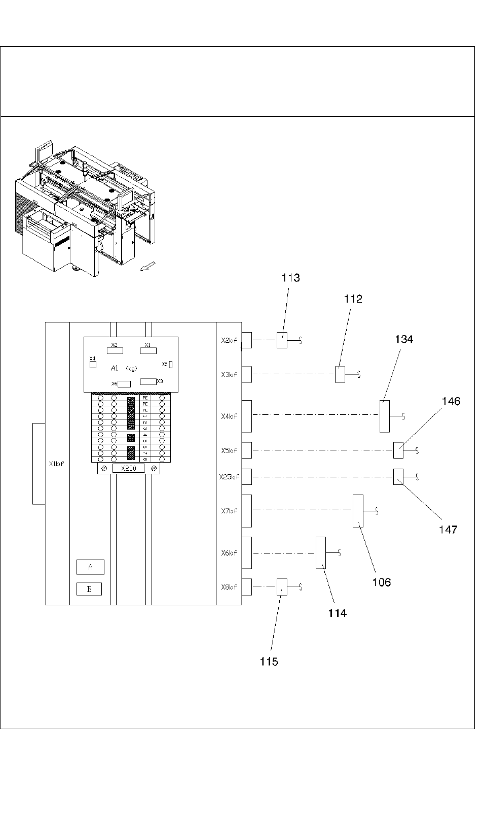
Teilekatalog (Parts Catalog) Bebilderte Teileliste (Illustrated Parts)
Bildtafel (Figure) 34
A
usgabe (Edition) 11-03
Haupt- und Sektorenverteiler
Main- and sector distributor
34 7 -