HS-50part list(注釋) - 第590页
Teilekatalog (Parts Catalog) Bebilderte Teileliste (Illustrated Parts) Bildtafel (Figure) 43 Ausgabe (Edition) 11-03 Kabelliste Cable list 43 18 -

Teilekatalog (Parts Catalog) Bebilderte Teileliste (Illustrated Parts)
Bildtafel (Figure) 43
A
usgabe (Edition) 11-03
Kabelliste
Cable list
43 17 -

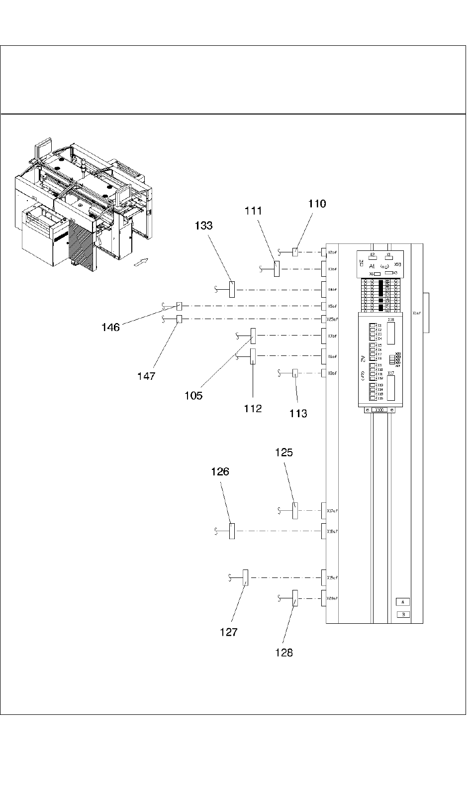
Teilekatalog (Parts Catalog) Bebilderte Teileliste (Illustrated Parts)
Bildtafel (Figure) 43
Ausgabe (Edition) 11-03
Kabelliste
Cable list
43 18 -

Teilekatalog (Parts Catalog) Bebilderte Teileliste (Illustrated Parts)
Bildtafel (Figure) 43
A
usgabe (Edition) 11-03
Kabelliste
Cable list
43 19 -