Modular dual conveyor_20211123_074221
Modular dual conveyor Page 1 / 60 23.11.2021

Modular dual conveyor
Page 1 / 60 23.11.2021

Modular dual conveyor
Page 2 / 60 23.11.2021

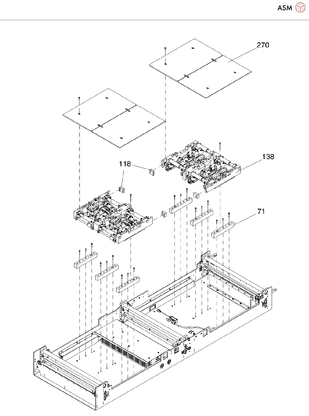
Modular dual conveyor
Page 3 / 60 23.11.2021
Modular dual conveyor Page 1 / 60 23.11.2021


