Micron Technical Reference V9 Volume 1 - 第85页

COVERS PRINTER COVERS Chapter Issue 11, Jan 17 Technical Reference Manual 3.43 Upper Front Corner Panels T o remove the upper front corner panels, carry out the following: 1. Open the front printhead cover . NOTE 1. Befo…

100%1 / 290
COVERS
PRINTER COVERS
3.42 Technical Reference Manual Chapter Issue 11, Jan 17
To remove the safety cover, remove the two securing screws.
Rear Corner Panels To remove the rear corner panels, carry out the following:
1. Remove the Left Hand Safety Cover (as detailed previously).
2. Remove the Right Hand Safety Cover (as detailed previously).
3. Using a 4mm Allen key, undo the appropriate four captive screws.
4. Lift the panel clear of the printer frame, taking care not to damage the earth
cable.
5. Repeat Steps 3 and 4 for the other rear corner panel, if required.
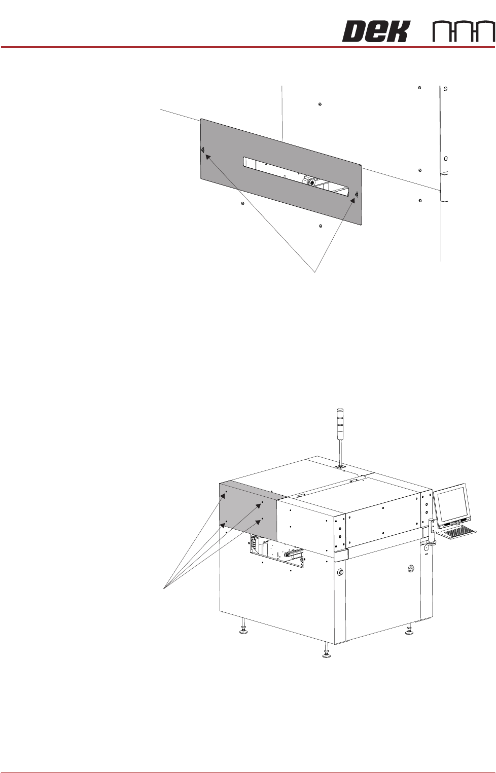
Safety Cover Securing Screws
Front Left Quarter View
Captive Screws
COVERS
PRINTER COVERS
Chapter Issue 11, Jan 17 Technical Reference Manual 3.43
Upper Front Corner
Panels
To remove the upper front corner panels, carry out the following:
1. Open the front printhead cover.
NOTE
1. Before a front corner panel can be removed, the control switches (jog
switch and system switch) must be disconnected.
2. To disconnect the system switch and jog buttons carry out the following:
a. Locate the two release slots in the contact assembly part of the switch.
b. Insert the switch release tool (Part No 188647) into the slots and push
until the release tool clicks into place.
c. Leaving the switch release tool in position, pull the contact assembly from
the switch body.
d. Remove the switch release tool from the contact assembly.
COVERS
PRINTER COVERS
3.44 Technical Reference Manual Chapter Issue 11, Jan 17
NOTE
To refit the contact assembly to the switch body, using the locating
keyway, push the two units together until they click into place.
3. Using a 4mm Allen key, undo the appropriate four captive screws.
4. Remove the panel clear of the printer, taking care not to damage the earth
cable.
5. Repeat Steps 3 to 4 for the other upper front corner panel, if required.
Front Left Quarter View
Captive Screws