SIPLACE Machine de placement 80 S FG - 第552页
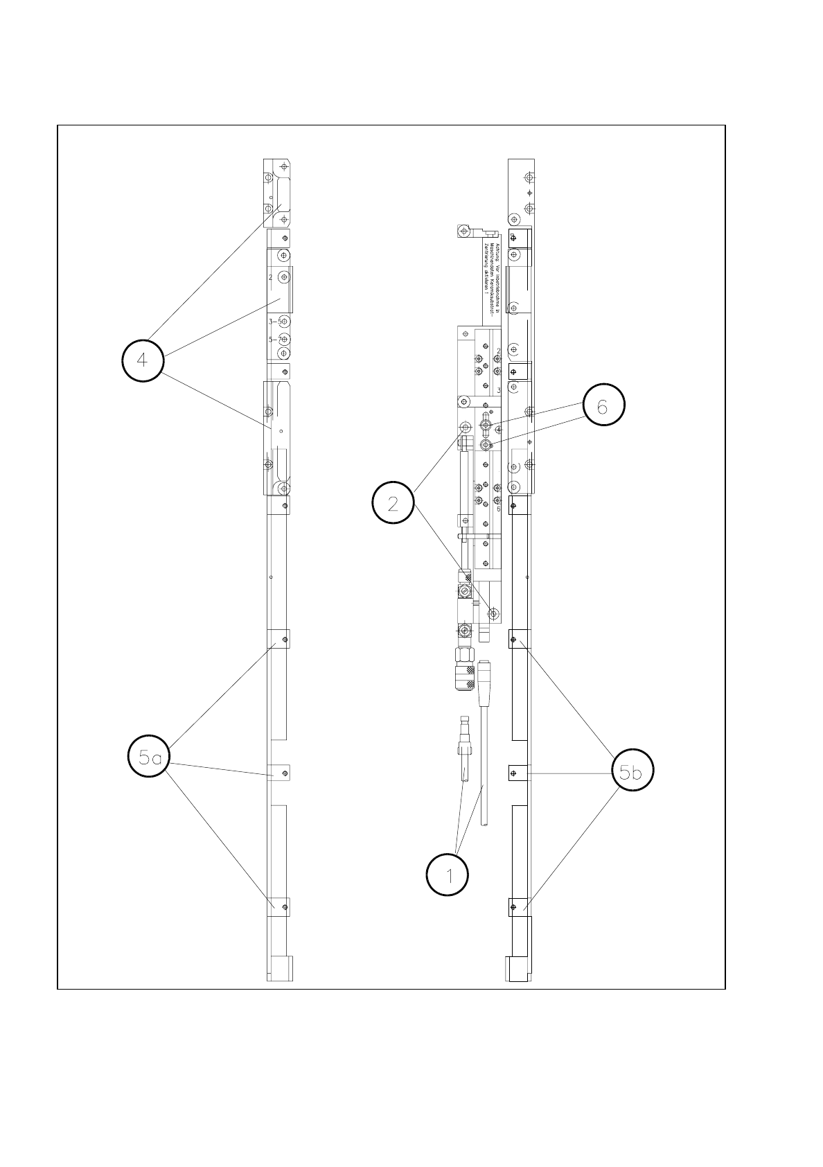
Notice d’exploitation SIPLACE 80 S /F/G 11 Extensions de la station Edition 07/97 Version du logiciel à partir d e SR.010.xx 11.6 Centrage du substrat en céramique 11 - 27 Fig. 11.6.2 Centrage du substrat en céram ique (…

11 Extensions de la station Notice d’exploitation SIPLACE 80 S/F/G
11.6 Centrage du substrat en céramique Edition 07/97 Version du logiciel à partir de SR.010.xx
11 - 26
Fig. 11.6.1 Vue générale (vue de dessus)

Notice d’exploitation SIPLACE 80 S/F/G 11 Extensions de la station
Edition 07/97 Version du logiciel à partir de SR.010.xx 11.6 Centrage du substrat en céramique
11 - 27
Fig. 11.6.2 Centrage du substrat en céramique (vue latérale)
11.6.4 Données techniques
Tailles de substrats pouvant être traitées 50 mm x 50 mm (2" x 2") jusqu'à 7" max.
Autres tailles sur demande
Alimentation pneumatique 5 bar

11 Extensions de la station Notice d’exploitation SIPLACE 80 S/F/G
11.6 Centrage du substrat en céramique Edition 07/97 Version du logiciel à partir de SR.010.xx
11 - 28
❒