JM-20-Rev04 - 第99页
- 94 - NOTE( 注記 ) #01....FOR FRONT SIDE 手前側用 #02....FOR REAR SIDE 奥側用 #03....FOR EN EN 用 REF.NO NOTE PART NO D E S C R I P T I O N 品 名 Qty 1 #01 401-37069 RO LLER_GUID E_F_ASSY ローラーガイドF組 1 2 #02 401-37065 ROLLER_GUIDE_R_…

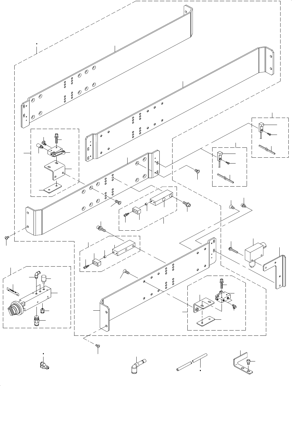
- 93 -
47.LIFTER UNIT COMPONENTS(2)
リフターユニット関係(2)
3
11
7
8
10
6
18
24
20
22
21
23
19
4
4
1
2
31
30
27
32
28
33
34
37 35
38
25
29
36
46
26
45
26
18
25
19
3
24
20
21
22
23
12
13
17
14
15
43
42
44
39
5
40
41
47
49
48
50
9
16
52
51

- 94 -
NOTE( 注記 ) #01....FOR FRONT SIDE 手前側用
#02....FOR REAR SIDE 奥側用
#03....FOR EN EN 用
REF.NO NOTE PART NO D E S C R I P T I O N
品 名
Qty
1
#01
401-37069 ROLLER_GUIDE_F_ASSY
ローラーガイドF組
1
2
#02
401-37065 ROLLER_GUIDE_R_ASSY
ローラーガイドR組
1
3
#01
401-36936 ROLLER_GUIDE_F
ローラーガイドF
(2)
4
#02
401-36937 ROLLER_GUIDE_R
ローラーガイドR
(2)
5 401-41955 BANK_VALVE_L_ASM
バンクバルブL組
(1)
6 401-42414 BANK_VALVE_BR
バンクバルブ_BR
(1)
7 PV-0105050-00 MECHANICAL VALVE
メカニカル バルブ
(1)
8 SL-6042592-TN SCREW M4 L=25
座金付き六角穴ボルト M4 L=25
(2)
9 E2811-729-000 VALVE NUT PLATE
バルブナットプレート
(1)
10 PJ-3040405-05 ELBOW
エルボユニオン
(1)
11 PX-0505010-00 SILENCER
消音器
(1)
12 401-41956 BANK_VALVE_R_ASM
バンクバルブR組
(1)
13 401-42414 BANK_VALVE_BR
バンクバルブ_BR
(1)
14 PV-0105050-00 MECHANICAL VALVE
メカニカル バルブ
(1)
15 SL-6042592-TN SCREW M4 L=25
座金付き六角穴ボルト M4 L=25
(2)
16 E2811-729-000 VALVE NUT PLATE
バルブナットプレート
(1)
17 PJ-3040405-05 ELBOW
エルボユニオン
(2)
18 SM-1051452-TN PLATE SCREW M5 L=14
皿ねじ M5 L=14
(4)
19 E2777-721-0A0 BANK STOPPER ASM.
バンクストッパ組
(2)
20 E2777-721-000 BANK STOPPER
バンクストッパ
(1)
21 E2778-721-000 STOPPER RUBBER
ストッパゴム
(1)
22 E2779-721-000 STOPPER COLLAR
ストッパカラー
(2)
23 SL-6031292-TN SCREW M3 L=12
座金付き六角穴ボルト M3 L=12
(2)
24 SL-6051642-TN SCREW M5 L=16
座金付き六角穴ボルト M5 L=16
(4)
25 SM-1051052-TN PLATE SCREW M5 L=10
皿ねじ M5 L=10
4
26 SM-0040801-SC SCREW
トラスねじ M4 L=8
4
27 400-00585 SELECTOR ASSY
セレクタ組
1
28 PV-0151170-A0 SELECTOR
セレクタ
(1)
29 PV-0251030-00 CHECK VALVE
チェックバルブ
(1)
30 PJ-3010651-03 HALF UNION 6XPT1/8
ハ−フユニオン
(1)
31 PJ-3040651-03 SWIVEL ELBOW
自在エルボ
(2)
32 PX-0551040-00 SILENCER (PT1/8)
サイレンサ
(1)
33 E2793-721-000 FL LABEL
FL ステッカ
(1)
34
#02
PJ-3080600-03 UNION Y
ユニオンワイ
2
35 PJ-3040600-01 REDUCER ELBOW
レデュ−サエルボ
1
36
#01
BT-0600400-EC URETHANE TUBE BLUE 6X4
ポリウレタン チューブ 青 6X4
6.5
37
#01
PJ-3080600-03 UNION Y
ユニオンワイ
3
38
#01
401-37753 BANK UP SENSOR(FL)ASSY
バンクアップセンサ(FL)組
1
39 HX-0067100-0A GROMMET
グロメット
(0.04)
40 401-37320 BANK UP SENSOR(F) ASM
バンクアップセンサ(F)組
(1)
41 SM-4860801-SC SCREW M2.6 L=8
なべ小ねじ M2.6 L=8
(1)
42
#03
400-02287 B SW CABLE ASM(EN)(CE)
バンクスイッチケーブル組(CE)
1
43
#03
401-36939 BANK_SENS_BR_EN
バンクセンサブラケットEN
1
44
#03
SL-4042591-SC SCREW M4 L=25
座金付きなべ小ねじ M4 L=25
2
45
#03
SL-6040892-TN SCREW M4 L=8
座金付き六角穴ボルト M4 L=8
2
46
#02
BT-0600400-EC URETHANE TUBE BLUE 6X4
ポリウレタン チューブ 青 6X4
12.1
47
#02
401-37754 BANK UP SENSOR(RL)ASSY
バンクアップセンサ(RL)組
1
48 401-37321 BANK UP SENSOR(R) ASM
バンクアップセンサ(R)組
(1)
49 SM-4860801-SC SCREW M2.6 L=8
なべ小ねじ M2.6 L=8
(1)
50 HX-0067100-0A GROMMET
グロメット
(0.04)
51
#02
400-12013 BANK UP SENSOR DOG
バンクアップセンサドグ
1
52
#02
SM-6050802-TN SCREW
六角穴ボルト
2

- 95 -
48.AUXILIARY MEMORY COMPONENTS
補助記憶装置関係
3
5
4
6
2
1
10
12
9
9
11
10
8
7