SP18 Mechanical - 第183页
Ref No. Remark s R 1 Q'ty 24 下 受 けピンセットユニッ ト(M) Support-Pin Setting Unit (M) イラスト No. Part No. 品 名 品番 数量 R 2 パーツリスト Kit N o . キット品 番 Kit Name キット名称 KXFX033X A00 Part Name 備 考 セクションNo. PARTS LIST Section No. R 3 BASE…

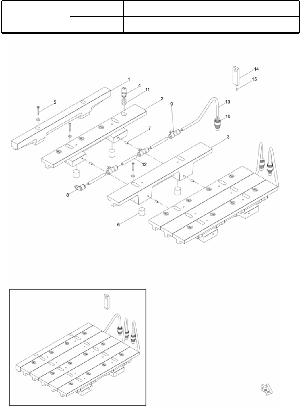
24
下
受
けピンセットユニット(M)
Support-Pin Setting Unit (M)
パーツレイアウト
Ki
t
N
o
.
キット
品番
Kit Name
キット名称
KXFX033XA00
セクションNo.
PARTS LAYOUT
Section No.
--
S53
( KKXFX033XA00-04A )

Ref
No.
Remarks
R
1
Q'ty
24
下
受
けピンセットユニット(M)
Support-Pin Setting Unit (M)
イラスト
No.
Part No.
品 名品番 数量
R
2
パーツリスト
Kit N
o
.
キット品
番
Kit Name
キット名称
KXFX033XA00
Part Name
備 考
セクションNo.
PARTS LIST
Section No.
R
3
BASE
1
1 N210004413AA
PLATE
1
2 KXFB0525A00
PLATE
2
3 KXFB0526A00
PLATE
1
4 KXFB0527A00
PLATE
1
5 KXFB01RHA00
PLATE
1
6 KXFB01RJA00
BLOCK
2
7 KXFB01RKA00
RAIL
1
8 KXFB0528A00
NUT
2
9 KXFB0020A00
SCALE
1
10 KXFB052HA00
KNOB
2
11 KXF0CQ0AA00 Round knob M4X12L
PLUNGER
1
12 N510060260AA FP-8
SCREW
6
13 N510018255AA
Cross recessed Truss head machine screw M3X8-4.8 A2J (Trivalent)
RUBBER-LEG
4
14 KXF0CQ2AA00 C-30-RK-2320
PIN
4
15 N510020598AA MMS4-15
S54
--
( KKXFX033XA00-04A )

25
基
板吸着
下
受
ブロック(M)
Board Vacuum Support Block (M)
パーツレイアウト
Kit No.
キット品
番
Kit Name
キット名称
KXFX039UA00
セクションNo.
PARTS LAYOUT
Section No.
S55