SP18 Mechanical - 第67页
Ref No. Remark s R 1 Q'ty 6-B スキージヘッド Squeeg ee Head イラスト No. Part No. 品 名 品番 数量 R 2 パーツリスト Kit N o . キット品 番 Kit Name キット名称 N610012848AA Part Nam e 備 考 セクションNo. PARTS LIST Section No. R 3 PLATE 2 5 N210025248AD PLAT…

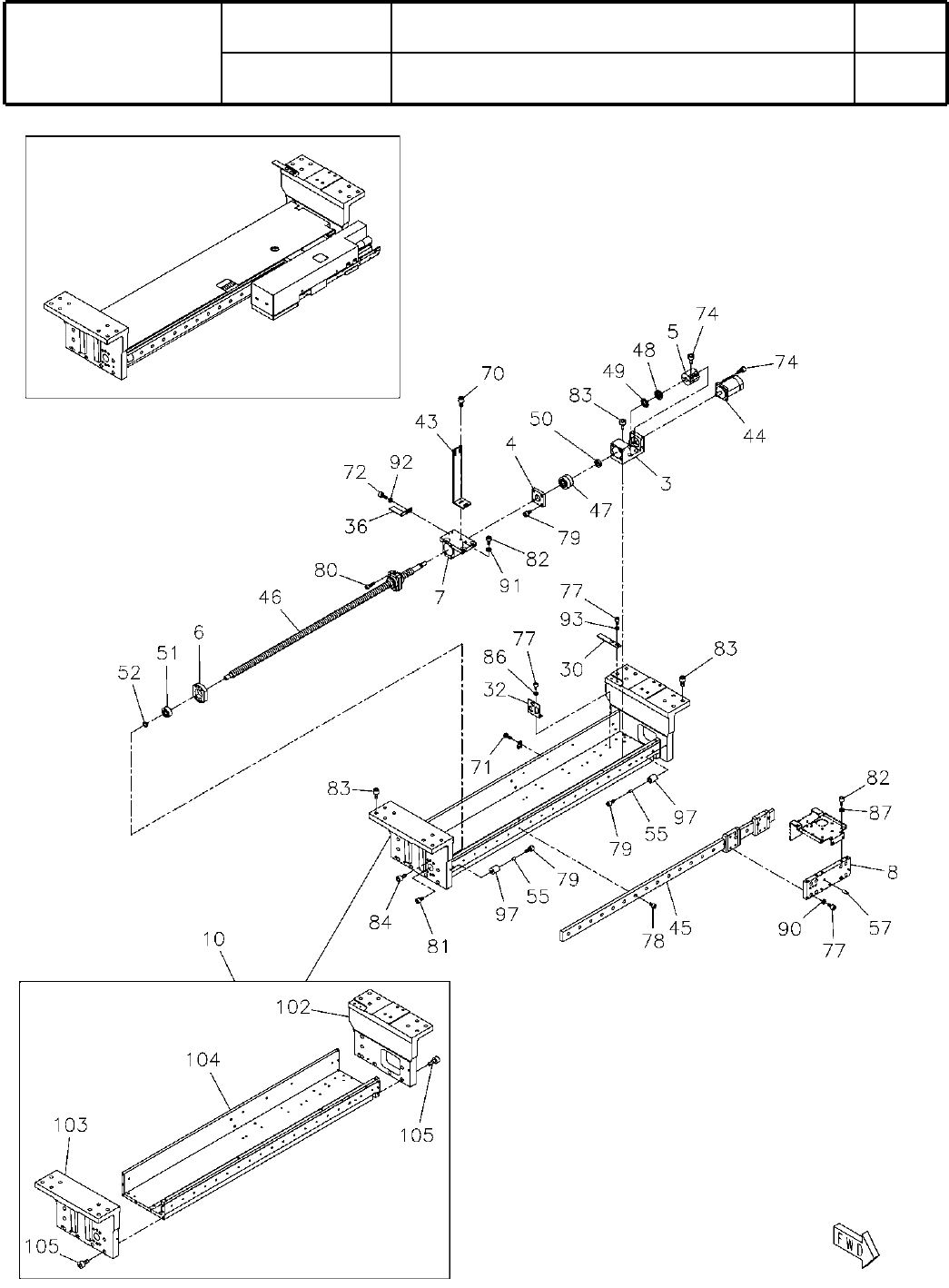
6-B
スキージヘッド
Squeegee Head
パーツレイアウト
Ki
t
N
o
.
キット
品番
Kit Name
キット名称
N610012848AA
セクションNo.
PARTS LAYOUT
Section No.
--
M51
( KN610012848AA-20-2 )

Ref
No.
Remarks
R
1
Q'ty
6-B
スキージヘッド
Squeegee Head
イラスト
No.
Part No.
品 名品番 数量
R
2
パーツリスト
Kit N
o
.
キット品
番
Kit Name
キット名称
N610012848AA
Part Name
備 考
セクションNo.
PARTS LIST
Section No.
R
3
PLATE
2
5 N210025248AD
PLATE
1
6 N210043193AB
PLATE
1
7 N210043194AB
PLATE
2
8 N210043195AA
GUIDE
4
9 N210043196AB
BUSH
4
18 KXF096CAA00 SMF16GWUU
LM-SHAFT
4
19 N510016377AA SN16X147-CNMBN
BOLT
4
20 N510017730AA
Hexagon head bolt Best class M4X25-6g 4T A2J (Trivalent)
SPRING
8
21 N510060860AA CS 0.8-8-10
JOINT
2
22 N610134007AA
BEARING
4
23 KXF07EGAA00 UP000
SHAFT
2
24 N510034086AA SF10055M00N
WASHER
4
25 N510020766AA KK16
SPRING
4
27 N510020783AA WWY10-30
SCREW
4
31 N510018384AA
Hexagon socket set screw Cup point M5X8-45H A2J (Trivalent)
PIN
2
32 N510021877AA MMSTP8-30
PIN
2
33 N510021878AA MMSTP10-30
BOLT
16
35 N510017344AA
Hexagon socket head cap screw M4X10-10.9 A2J (Trivalent)
BOLT
2
38 N510017386AA
Hexagon socket head cap screw M5X10-10.9 A2J (Trivalent)
BOLT
4
40 N510017401AA
Hexagon socket head cap screw M5X30-10.9 A2J (Trivalent)
BOLT
2
41 N510017428AA
Hexagon socket head cap screw M6X12-10.9 A2J (Trivalent)
BOLT
8
42 N510017435AA
Hexagon socket head cap screw M6X20-10.9 A2J (Trivalent)
BOLT
4
45 N510017470AA
Hexagon socket head cap screw M8X16-10.9 A2J (Trivalent)
WASHER
8
52 N510018481AA
Small round-plain washer 6 10H A2J (Trivalent)
NUT
4
54 N510017855AA
Hexagon nut Type-1 Best class M4-6H-4T A2J (Trivalent)
SCREW
5
68 XYN4+J8FN
Cross recessed Pan head machine screw with SW & Small round-plain was
WASHER
5
69 N510018762AA
Toothed lock washer 4 External toothed Steel Unichrome white (Trivalent)
BOLT
8
80 N610039327AA
BOLT
8
84 N510017433AA
Hexagon socket head cap screw M6X16-10.9 A2J (Trivalent)
CYL-NUT
2
87 N210055403AA
Cylinder
1
88 N610026803AA Limit Switch:-B1A03-B1A04
Cylinder
1
89 N610026805AB Limit Switch:-B1A05 -B1A06 -B1A10
SPEED-CONTROLLER
2
92 N406SC3W66 SC3W-6-6
SPEED-CONTROLLER
2
93 KXF09WUAA00 ASD330F-01-06S
M52
--
( KN610012848AA-20-2 )

7-A
認識
ユニット
Recognition Unit
パーツレイアウト
Kit No.
キット品
番
Kit Name
キット名称
N610025641AA
セクションNo.
PARTS LAYOUT
Section No.
M53