SP18 Mechanical - 第77页
Ref No. Remark s R 1 Q'ty 8-B マスククリーニングユニット Mask Cleaning Unit イラスト No. Part No. 品 名 品番 数量 R 2 パーツリスト Kit N o . キット品 番 Kit Name キット名称 N610027799AA Part Nam e 備 考 セクションNo. PARTS LIST Section No. R 3 MANI FOLD 1 5 N21…

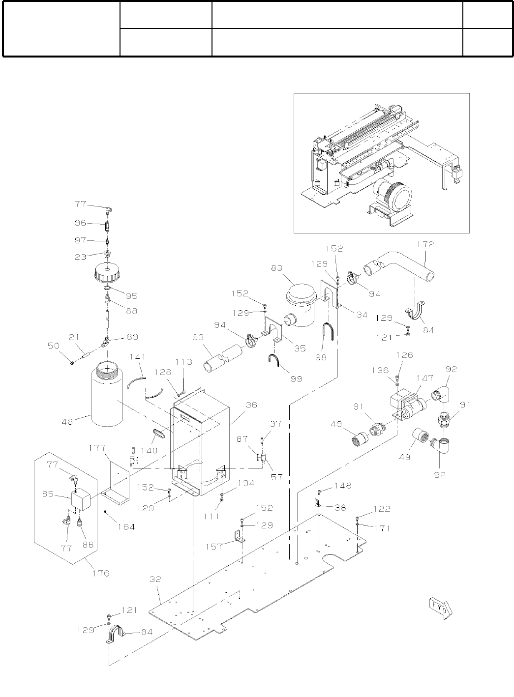
8-B
マスククリーニングユニット
Mask Cleaning Unit
パーツレイアウト
Ki
t
N
o
.
キット
品番
Kit Name
キット名称
N610027799AA
セクションNo.
PARTS LAYOUT
Section No.
--
M61
( KN610027799AA-25-2 )

Ref
No.
Remarks
R
1
Q'ty
8-B
マスククリーニングユニット
Mask Cleaning Unit
イラスト
No.
Part No.
品 名品番 数量
R
2
パーツリスト
Kit N
o
.
キット品
番
Kit Name
キット名称
N610027799AA
Part Name
備 考
セクションNo.
PARTS LIST
Section No.
R
3
MANIFOLD
1
5 N210042618AA
Simplicity Making to detaching
1
6 N610097100AB
PLATE
1
8 N210041926AE
JOINT
2
10 N210158590AA
BLOCK
2
11 N210041929AB
BRACKET
1
24 N210054971AB
BRACKET
1
40 N210055858AA
BRACKET
1
41 N210055859AA
BRACKET
1
42 N210041974AA
GUIDE
1
43 N210041971AE
BRACKET
1
44 N210055860AA
BRACKET
1
45 N210055861AA
Sensor
1
54 N610026843AA Sensor:-B1011
CYLINDER
1
55 N610026841AA Limit Switch:-B1007-B1010
CYLINDER
1
58 N510015455AA SSD-L-16-15-N
JOINT
4
59 N510021104AA PL4-M5M-0.3
JOINT
3
64 N510011177AA KQ2S16-04S
JOINT
1
65 N431KQ2U1600 KQ2U16-00
JOINT
2
66 N510015459AA KQ2V16-04S
LINEAR-WAY
2
67 N510016065AA SRS9MUU+55LM(01871092K000)
PIN
1
74 KXF0CXLAA00 1017003-30010
BOLT
2
108 N510017305AA
Hexagon socket head cap screw M3X10-10.9 A2J (Trivalent)
BOLT
12
109 N510017308AA
Hexagon socket head cap screw M3X12-10.9 A2J (Trivalent)
BOLT
4
112 N510017376AA
Hexagon socket head cap screw M4X6-10.9 A2J(Trivalent)
BOLT
8
113 N510017381AA
Hexagon socket head cap screw M4X8-10.9 A2J (Trivalent)
BOLT
8
114 N510017344AA
Hexagon socket head cap screw M4X10-10.9 A2J (Trivalent)
BOLT
16
115 N510017346AA
Hexagon socket head cap screw M4X12-10.9 A2J (Trivalent)
BOLT
2
119 N510017364AA
Hexagon socket head cap screw M4X35-10.9 A2J (Trivalent)
BOLT
4
122 N510017395AA
Hexagon socket head cap screw M5X16-10.9 A2J (Trivalent)
WASHER
29
128 N510018497AA
Round finish plain washer 4 10H A2J (Trivalent)
WASHER
2
132 N510018478AA
Small round-plain washer 3 10H A2J (Trivalent)
WASHER
6
135 N510020099AA Thick washer for M4
WASHER
2
137 N510018327AA Spring lock washer No.2 3 S A2J (Trivalent)
WASHER
2
138 N510018330AA Spring lock washer No.2 4 S A2J (Trivalent)
COVER
1
145 N210048715AA
JOINT
2
149 KXF029GAA00 KJH04-00
BRACKET
1
170 N210046326AA
M62
--
( KN610027799AA-25-2 )

8-C
マスククリーニングユニット
Mask Cleaning Unit
パーツレイアウト
Ki
t
N
o
.
キット
品番
Kit Name
キット名称
N610027799AA
セクションNo.
PARTS LAYOUT
Section No.
--
M63
( KN610027799AA-25-3 )