P-188-003e - 第53页
Key No. P AR T No. P AR T NAME Q’ty REMARKS NOTE MODEL TCM-X1 10J 0306-001 51 703 41 1 141 6705 W ASHER SPR 5 2 810E--010-703 705 630 1 17 2132 SUPPORT(R) 1 810E--010-705 706 630 067 0240 BOL T 3 810E--010-706 707 41 1 1…

MODEL TCM-X110J
0306-001
50
Key No.1
See Fig.EC-1
Key No.5
See Fig.E-1
See Fig.E-1
Key No.23
707
720
730
736
735
734
728
708
732
731
733
717
715
712
709
709
709
708
707
720
703
709
703
709
717
743
723
713
743
713
710
726
714
712
721
715
722
716
725
705
727
729
706
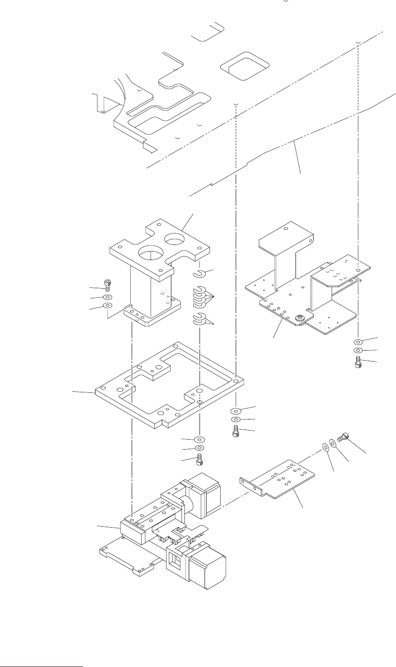
中間ベース部
MIDDLE BASE SECTION
Fig. E-8
部品落下防止カバー
Component Drop Prevension Cover

Key No. PART No. PART NAME Q’ty REMARKS
NOTE
MODEL TCM-X110J
0306-001
51
703 411 141 6705 WASHER SPR 5 2 810E--010-703
705 630 117 2132 SUPPORT(R) 1 810E--010-705
706 630 067 0240 BOLT 3 810E--010-706
707 411 141 2905 WASHER SPR 4 4 810E--010-707
708 411 141 4008 WASHER V 4X9X0.8 4 810E--010-708
709 630 000 7749 BOLT,HEX-SCT 7 810E--010-709
710 630 117 2125 COVER 1 810E--010-710
712 630 115 0529 SPRING,FLAT 2 810E--010-712
713 630 070 9902 MACHINE SCREW 4 810E--010-713
714 630 117 0459 SUPPORT 1 810E--010-714
715 630 117 2156 SUPPORT 2 810E--010-715
716 630 117 2149 SUPPORT(L) 1 810E--010-716
717 630 112 2908 PLUNGER 2 810E--010-717
720 630 000 7619 BOLT,HEX-SCT 4 810E--010-720
721 630 122 6385 PLATE 1 810E--010-721
722 630 117 1586 SUPPORT 1 810E--010-722
723 411 002 2600 SCR FLT 3X6 4 810E--010-723
725 630 117 2279 GUIDE 1 810E--010-725
726 630 071 9161 BOLT,HEX-SCT 2 810E--010-726
727 630 113 9616 HOLDER 1 810E--010-727
728 630 113 9586 HANDLE 1 810E--010-728
729 630 001 3962 SPRING,COMP 1 1128 810E--010-729
730 630 117 7335 BRACKET 1 810E--010-730
731 630 000 7626 BOLT,HEX-SCT 2 810E--010-731
732 411 141 2905 WASHER SPR 4 2 810E--010-732
733 411 141 4008 WASHER V 4X9X0.8 2 810E--010-733
734 630 000 7756 BOLT,HEX-SCT 2 810E--010-734
735 411 141 6705 WASHER SPR 5 2 810E--010-735
736 630 029 1391 WASHER 2 810E--010-736
743 411 141 5609 WASHER F 2.5X5X0.5 4 810E--010-743
E-8

MODEL TCM-X110J
0507-002
52
認識ユニット部
RECOGNITION UNIT SECTION
Fig. EB-2
スコープ
XY
ユニット
Scope XY Unit
119
111
120
108
112
108
112
121
115
114
113
107
109
108
106
105
104
See Fig.L-1
Key No.12
118
117
103
110
102
101