JM-100-Rev06PDF - 第81页
- - REF.NO NOTE PARTNO DESCRIPTION Qty 1 #01 402-07389 DRIVE_CYLINDER_UNIT_F IX 1 2 #02 402-07396 DRIVE_CYLINDER_UNIT_LIFTER 1 3 402-06622 DRIVE_CYLINDER_65 (1) 4 402-06623 DRIVE_SUPPORT_65 (1) 5 SL-60…

- -
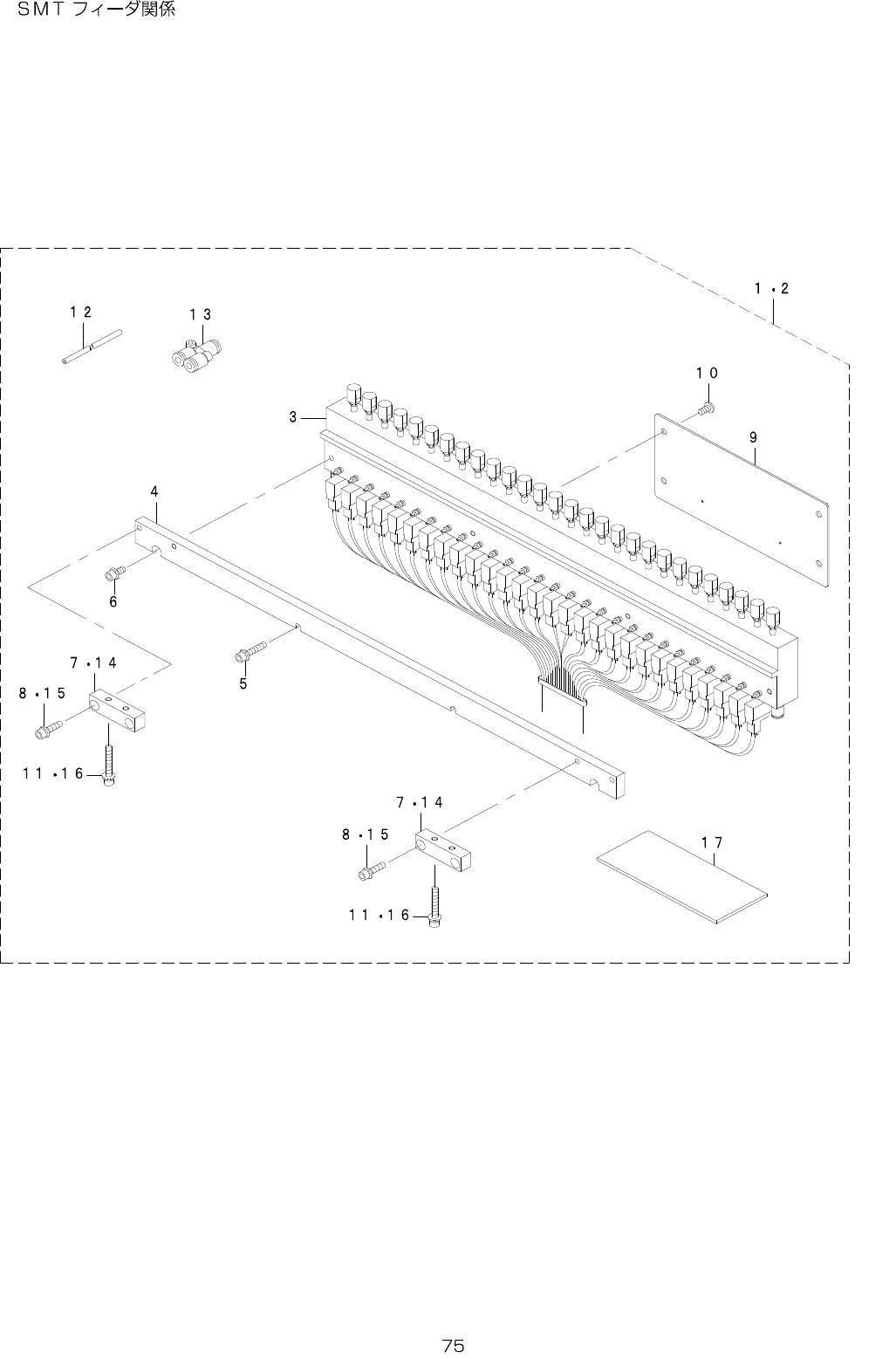
38.SMTFEEDERCOMPONENTS

- -
REF.NO NOTE PARTNO DESCRIPTION Qty
1
#01
402-07389 DRIVE_CYLINDER_UNIT_FIX 1
2
#02
402-07396 DRIVE_CYLINDER_UNIT_LIFTER 1
3 402-06622 DRIVE_CYLINDER_65 (1)
4 402-06623 DRIVE_SUPPORT_65 (1)
5 SL-6052592-TN SCREWM5L=25 (2)
6 SL-6051292-TN SCREWM5L=12 (2)
7
#01
E2634-721-000 DRIVERBRACKETSUPPORTA (2)
8
#01
SL-6052092-TN SCREWM5L=20 (4)
9 402-06472 DC_CONN_BR (1)
10 SM-4051001-SC SCREWM5L=10 (2)
11
#01
SL-6053592-TN SCREWM5L=35 (4)
12 BT-0600400-EC URETHANETUBEBLUE6X4 (1)
13 PJ-3080600-07 UNIONY (2)
14
#02
400-00598 DRIVERBRACKETSUPPORTC (1)
15
#02
SL-6051292-TN SCREWM5L=12 (4)
16
#02
SL-6051242-TN SCREWM5L=12 (2)
17 401-39344 CB_INNER_L (1)

- -
39.REARMONITOR&KEYBOARDCOMPONENTS