CP743机械手册 - 第179页
Downloaded at 2010/06/22 16:01 JST by 3MVH4663 DL#RmYmji4w 第 4 部 第 1 章 站的各部 Edition 2.1 4-1-17 CP-7 33E/743ME/743E 机械手册 1.6 供料器高度异常检测 ( 第 1 站 ) 要 点 为了检测供料器的设置状态,在 D1 , D2 的待机位置各安装了 2 组传感器,在吸件位置安 装了一组传感器,共有 5 组传感器。 使用专用治具…

Downloaded at 2010/06/22 16:01 JST by 3MVH4663 DL#RmYmji4w
第 1 章 站的各部 第 4 部
CP-733E/743ME/743E 机械手册 4-1-16 Edition 2.1
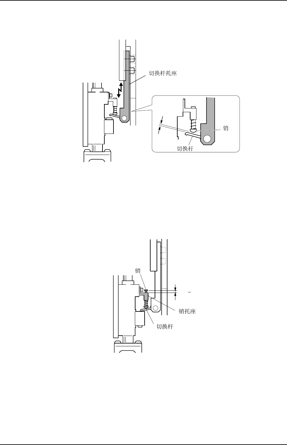
4. 将销与切换杆之间的间隙调整到 0.6mm。此调整通过上下移动切换杆托座进行。
C7SM4020S
0.6 mm
5. 将凸轮角度回到 0 度。将 1st 吸嘴上下电磁阀设置为 ON,使凸轮杆开始动作。使用
伺服计数器,确认固有值 PICK UP POS.NZ 的数值(伺服计数器值在 4000pulses 左
右)。
6. 一边看着凸轮刻度盘,再次旋转凸轮手柄,将凸轮角度调整到 170 度。
7. 确认被切换杆顶起的销与销托座的间隙为 0.5~1.0mm。
0.5 1.0 mm
C7SM4021CM

Downloaded at 2010/06/22 16:01 JST by 3MVH4663 DL#RmYmji4w
第 4 部 第 1 章 站的各部
Edition 2.1 4-1-17 CP-733E/743ME/743E 机械手册
1.6 供料器高度异常检测 (第 1 站)
要 点
为了检测供料器的设置状态,在 D1,D2 的待机位置各安装了 2 组传感器,在吸件位置安
装了一组传感器,共有 5 组传感器。
使用专用治具,来进行各传感器的定位调整。此外, 调整传感器的灵敏度。
C7SM4022S
D1
D1
备注) 上图仅表示了 D1 位置,D2 位置的 2 组传感器设置位置与 D1 相同。
调整时使用的治具如下图所示
C7SM4049S
DCPJ0040
DCPJ0050
CP-733E/CP-743ME
DGPJ5070
CP-743E
DCPJ0060
DCPJ0070
ADCPJ8020

Downloaded at 2010/06/22 16:01 JST by 3MVH4663 DL#RmYmji4w
第 1 章 站的各部 第 4 部
CP-733E/743ME/743E 机械手册 4-1-18 Edition 2.1
1.6.1 供料器检测传感器位置的调整
1. 按下[紧急停止]按钮,切断 200V 电源,使用 100V。
警 告
作业前必须要切断 200V 电源。
2. 将定位治具本体正确的设置在供料托架上。
3. 使用微动操作移动供料托架,使定位治具的本体靠近需进行调整的传感器。
4. 在定位治具的本体上安装与各个传感器相对应的治具元件,调整传感器位置。
吸取范围
C7SM4050S
DCPJ0040