KE-3010A_KE-3020VA_KE-3020VRA-Rev13 - 第98页
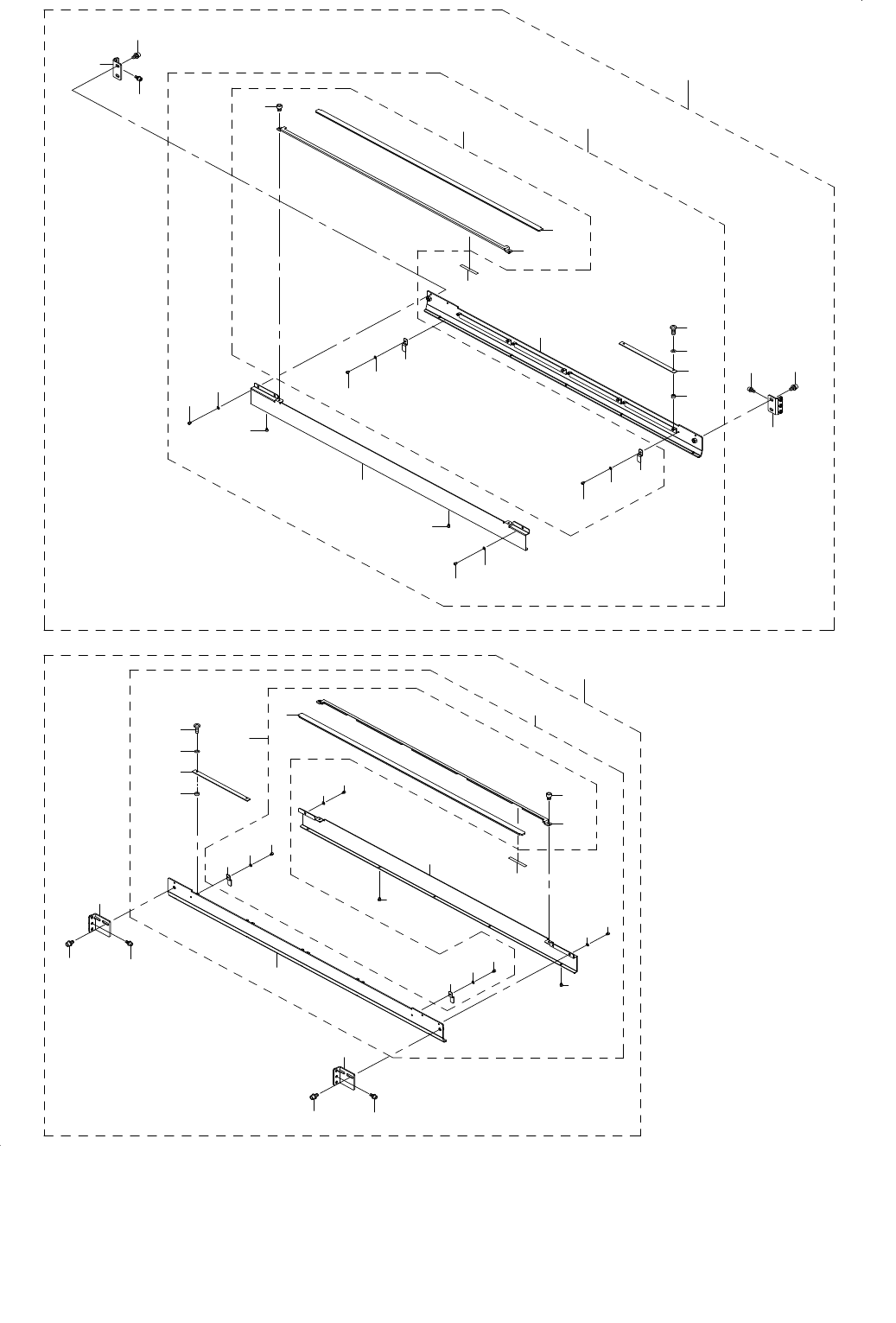
- 91 - 46. FPI COMPONENTS FPI 関係 22 41 40 40 42 42 41 23 28 38 35 37 36 32 33 34 32 33 34 31 29 30 39 26 27 26 26 26 27 25 24 1 7 3 20 19 21 11 13 12 12 13 11 18 2 8 9 10 6 5 5 5 6 5 4 17 16 15 14 19 21 20

- 90 -
NOTE( 注記 ) #01....FOR 3010A,3020VA 3010 A,3020 VA 用
REF.NO NOTE PART NO D E S C R I P T I O N
品 名
Qty
1 400-97422 COPLANARITY SENSOR
コプラナリティセンサー
1
2 400-97624 COPLANARITY UNIT CPU ASM
コプラナリティユニットCPU組
1
3 400-97209 CPU BOARD
CPUボード
(1)
4 400-97878 DIMM 1GB
DIMM 1GB
(1)
5 401-09407 COPLA SSD BR
コプラSSDブラケット
(1)
6 400-97423 CPCI BACK BOARD
CPCIバックボード
1
7 SL-4851091-SC SCREW
座金付きねじ
4
8 400-99486 COPLANARITY SENSOR BASE ASM
コプラナリティセンサベース組
1
9 400-94694 COPLA HOLD BLOCK
コプラホールドブロック
(1)
10 400-94690 COPLA HOLD BASE
コプラホールドベース
(1)
11 SM-6051202-TN SCREW M5X0.8 L=12
六角穴ボルト M5X0.8 L=12
(3)
12 400-94691 COPLA BR R
コプラブラケット R
1
13 400-94692 COPLA BR L
コプラブラケット L
1
14 SL-6041092-TN SCREW M4 L=10
座金付き六角穴ボルト M4 L=10
4
15 SL-6061292-TN SCREW M6 L=12
座金付き六角穴ボルト M6 L=12
2
16 SM-4041001-SC SCREW M4X0.7 L=10
なべ小ねじ M4X0.7 L=10
2
17 SM-6062002-TN SCREW M6 L=20
六角穴ボルト M6 L=20
2
18 SL-4040891-SC SCREW M4X8
座金付きなべ小ねじ M4 L=8
4
19 E1038-871-000 PLATEN LOCK CAM SCREW
プラテン ロックカム スクリュウ
2
20 401-13994 COPLANARITY SENSOR PSU UNIT
コプラナリティセンサ電源ユニット
1
21 401-11658 COPLA POWER BOX BR
コプラ電源ボックスBR
(1)
22 E1038-871-000 PLATEN LOCK CAM SCREW
プラテン ロックカム スクリュウ
(2)
23 SL-4040891-SC SCREW M4X8
座金付きなべ小ねじ M4 L=8
(2)
24 HX-0029400-00 FIXED BASE
固定ベース
(4)
25 SM-4040601-SC SCREW M4X0.7 L=6
なべ小ねじ M4X0.7 L=6
(4)
26 HX-0057700-00 POWER SUPPLY
パワーサプライ
(1)
27 HA-0052700-00 CIRCUIT PROTECTOR
サーキットプロテクタ
(1)
28 E5348-033-100 CABLE PROTECTOR 106MM
ブッシュ
(0.12)
29 400-98182 COPLA POWER BOX COVER
コプラ電源ボックスカバー
(1)
30 400-97434 COPLA MONITOR SWITCH BOARD
コプラモニタ切り替えボード
1
31 400-99488 APERTURE LABEL
開口部ラベル
1
32 401-14258 COPLA OPTIN PLATE
コプラオプションプレート
2
33 PH-0600282-U0 PARALLEL PIN
平行ピン
2
34 HX-0034400-00 HARNESS PARTS
束線パーツ
4
35 SL-6041292-TN SCREW M4 L=12
座金付き六角穴ボルト M4 L=12
1
36 NM-6040001-SC NUT M4X0.7 TYPE1
六角ナット M4X0.7 1種
1
37 400-99903 PILOT LAMP
パイロットランプ
2
38 EA-9500B02-00 CABLE BAND 150
結束バンド 150
20
39 E4595-855-000 VAC SPONGE
VACスポンジ
1
40 401-47570 COPLA_SELECT_PCB_BR
コプラセレクト基板ブラケット
1
41 SM-9082003-SC SCREW M8 L=20
六角ボルト
4
42 SL-4030691-SC SCREW M3 L=6
座金付きなべ小ねじ M3 L=6
4
43 WP-0841601-SC WASHER M8
平座金みがき丸 M8
4
44 WS-0820002-KN SPRING WASHER M8
ばね座金 M8
4
45 401-13714 KEY SWITCH CABLE ASM
キースイッチケーブル組
1
46
#01
401-47566 FMLA_BR
FMLAブラケット
1
47
#01
SL-6040892-TN SCREW M4 L=8
座金付き六角穴ボルト M4 L=8
2

- 91 -
46.FPI COMPONENTS
FPI 関係
22
41
40
40
42
42
41
23
28
38
35
37
36
32
33
34
32
33
34
31
29
30
39
26
27
26
26
26
27
25
24
1
7
3
20
19
21
11
13
12
12
13
11
18
2
8
9
10
6
5
5
5
6
5
4
17
16
15
14
19
21
20

- 92 -
REF.NO NOTE PART NO D E S C R I P T I O N
品 名
Qty
1 401-47460 FPI_F_ASM
FPIフロント組
1
2 401-14948 FPI F SUB ASM
FPIフロントサブ組
(1)
3 401-10740 FPI BR B
FPIブラケットB
(1)
4 401-10741 FPI COVER B
FPIカバーB
(1)
5 SM-6030402-TN SCREW M3X4
六角穴付きボルト M3X4
(9)
6 WP-0320501-SC WASHER M3
平座金 M3
(4)
7 E6025-729-0A0 FPI COVER U20 ASM
FPIカバーU20組
(1)
8 E6025-729-000 FPI COVER U20
FPIカバーU20
(1)
9 E6028-729-000 FPI PLATE U20
FPIプレート20
(1)
10 SM-6030402-TN SCREW M3X4
六角穴付きボルト M3X4
(2)
11 400-94870 HARNESS CLAMP A
ハーネスクランプA
(2)
12 SM-6030402-TN SCREW M3X4
六角穴付きボルト M3X4
(2)
13 WP-0320501-SC WASHER M3
平座金 M3
(2)
14 E8626-729-0A0 FPI LED BOARD ASM.
FPI LED基板組
(4)
15 SM-5030801-SC SCREW M3X0.5 L=8
バインド小ねじ M3X0.5 L=8
(8)
16 E2143-715-000 TIMER SPACER A
タイマスペーサA
(8)
17 E4901-760-000 POLY SLIDER THRUST WASHER
ポリスライダスラストワッシャ
(8)
18 E6033-729-000 FPI INSULATION SHEET
FPI絶縁シート
(0.2)
19 401-47456 FPI_BR_F
FPIブラケットF
(2)
20 SL-6051292-TN SCREW M5 L=12
座金付き六角穴ボルト M5 L=12
(4)
21 SL-6061292-TN SCREW M6 L=12
座金付き六角穴ボルト M6 L=12
(2)
22 401-14947 FPI_R_ASM
FPIリア組
1
23 401-14949 FPI_R_SUB_ASM
FPIリアサブ組
(1)
24 401-10740 FPI BR B
FPIブラケットB
(1)
25 401-10741 FPI COVER B
FPIカバーB
(1)
26 SM-6030402-TN SCREW M3X4
六角穴付きボルト M3X4
(9)
27 WP-0320501-SC WASHER M3
平座金 M3
(4)
28 E6025-729-0A0 FPI COVER U20 ASM
FPIカバーU20組
(1)
29 E6025-729-000 FPI COVER U20
FPIカバーU20
(1)
30 E6028-729-000 FPI PLATE U20
FPIプレート20
(1)
31 SM-6030402-TN SCREW M3X4
六角穴付きボルト M3X4
(2)
32 400-94870 HARNESS CLAMP A
ハーネスクランプA
(2)
33 SM-6030402-TN SCREW M3X4
六角穴付きボルト M3X4
(2)
34 WP-0320501-SC WASHER M3
平座金 M3
(2)
35 E8626-729-0A0 FPI LED BOARD ASM.
FPI LED基板組
(4)
36 SM-5030801-SC SCREW M3X0.5 L=8
バインド小ねじ M3X0.5 L=8
(8)
37 E2143-715-000 TIMER SPACER A
タイマスペーサA
(8)
38 E4901-760-000 POLY SLIDER THRUST WASHER
ポリスライダスラストワッシャ
(8)
39 E6033-729-000 FPI INSULATION SHEET
FPI絶縁シート
(0.2)
40 401-10739 FPI_BR_R
FPIブラケット_R
(2)
41 SL-6051292-TN SCREW M5 L=12
座金付き六角穴ボルト M5 L=12
(4)
42 SL-6061292-TN SCREW M6 L=12
座金付き六角穴ボルト M6 L=12
(2)