KE-2070_KE-2080_KE-2080R-Rev14PDFA - 第144页
- 13 7 - 6 9 . R F I D CO MP ON E N T S (M PC ) RFID 関係(MPC) 2 6 7 8 9 3 2 2 5 4 11 16 10 12 13 14 15 14 13 17 18 18 17 18 17 18 17 11 20 21 19 22 27 25 28 23 26 24 1 A A 30 29

- 136 -
NOTE( 注記 ) #01....FOR FRONT ・ LEFT-RIGHT 手前・左右用
#02....FOR FRONT ・ RIGHT-LEFT 手前・右左用
#03....FOR REAR ・ LEFT-RIGHT 奥・左右用
#04....FOR REAR ・ RIGHT-LEFT 奥・右左用
#05....FOR FRONT ・ RIGHT-LEFT 手前・右左用
FOR REAR ・ RIGHT-LEFT 奥・右左用
#06....FOR FRONT ・ LEFT-RIGHT 手前・左右用
FOR REAR ・ LEFT-RIGHT 奥・左右用
REF.NO NOTE PART NO D E S C R I P T I O N
品 名
Qty
1 #01 400-01392 CONVEYOR COVER(W,EN)ASSY 搬送カバー(W,EN)組 1
2 400-81646 CONVEYOR COVER L(WEN) 搬送カバー L(W,EN) (1)
3 400-01486 CONVEYOR SIDE COVER L(W,EN) 搬送サイドカバー L(W,EN) (1)
4 400-01489 CONVEYOR UPPER COVER L(W,EN) 搬送上カバー L(W,EN) (1)
5 400-81647 CONVEYOR COVER R(WEN)
搬送カバー R(W,EN)
(1)
6 400-01492 CONVEYOR SIDE COVER R(W,EN)
搬送サイドカバー R(W,EN)
(1)
7 400-01495 CONVEYOR UPPER COVER R(W,EN)
搬送上カバー R(W,EN)
(1)
8 400 -01484 C ONVEYOR S HUT TER U( L,E N
搬送シャッター U(L,EN)
(2)
9 400 -01485 C ONVEYOR S HUT TER B (L,EN
搬送シャッター B(L,EN)
(2)
10 400-01494 CONVEYOR COVER STOPPER(W,EN)
搬送カバーストッパ(W,EN)
(2)
11 SM-0040801-SC SCREW
トラスねじ M 4 L =8
(24)
12 E1143-721-000 WOOLEN CLOTH PAPER
搬送カバーラシャペーパ(CE)
(8)
13 E5721-729-000 LABEL
荷重禁止シール
(2)
14 400-01490 TAPE テープ (2)
15 401-05884 LOAD PROHIBITION LABEL 荷重禁止シール (2)
16 400-00786 RAIL R(W) レール R(W) 2
17 SL-6031092-TN SCREW 座金付き六角穴ボルト 16
18 400-00787 RAIL PLATE F(W) レールプレート F(W) 2
19 400-00788 RAIL PLATE R(W)
レールプレート R(W)
2
20 400-00791 JOINT PLATE F(W)
ジョイントプレート F(W)
4
21 E2176-725-000 JOINT PLATE R(100)
ジョイントプレート R(100)
4
22 SL-6041292-TN SCREW
座金付き六角穴ボルト
16
23 400-00789 PWB GUID EX(W)
PWB ガイド EX(W)
4
24 SL-6030892-TN SCREW M3 L=8
座金付き六角穴ボルト M 3 L =8
8
25 400-00790 CONVEYOR BELT EX(W)
コンベアベルト EX(W)
4
26 400-80768 RAIL SUPPORT(LW)
レールサポート(LW)
1
27 400-00964 STOPER SENSOR ASM
ストッパセンサ組
1
28 400-02214 STOP SENS ASM ストップセンサ組 (1)
29 400-02235 C.OUT SENS ASM シーアウトセンサ組 (1)
30 SL-4031291-SC SCREW M3X12 なべ小ねじセムス M 3 X 0.5 L =12 2
31 PC-0124010-00 SPEED CONTROLLER スピード コントローラ 1
32 HX -00367 0 0-0A BUS H ブッシュ 0.1
33 EA- 95 00B00-00 C LIP C V-70S
結束バンド 60
4
34 BT-04002 51 -EA T UBE HOSE, BLUE
ウレタンホース 青
3
35 HX -00314 0 0-00 S P I RAL TABE
スパイラル チューブ
0.4
36
#04
400-81183 STOPPER RL ASM(LW)
ストッパ FL 組(LW)
1
37
#03
400-81182 STOPPER RR ASM(LW)
ストッパ RR 組(LW)
1
38
#01
400-81156 STOPPER FR ASM(E_80R)
ストッパ FR 組(E _80 R)
1
39
#02
400-81157 STOPPER FL ASM(E_80R)
ストッパ FL 組(E _80 R)
1
40
#01
400-64058 STOPPER FRAME FR(E)
ストッパフレーム FR(E)
(1)
41
#02
400-64059 STOPPER FRAME FL(E)
ストッパフレーム FL(E)
(1)
42
#03
400-80770 STOPPER FRAME RR(LW)
ストッパフレーム RR(LW)
(1)
43 #04 400-80769 STOPPER FRAME RL(LW) ストッパフレーム RL(LW) (1)
44 400-00911 STOPER CONNECT ストッパコネクト (1)
45 PA-1002008-A0 AIR CYLINDER エアシリンダ (1)
46 SM-6031402-TN SCREW M3X0.5 L=8 六角穴ボルト (2)
47 PC-0105080-00 SPEED CONTROLLER
スピードコントローラ
(1)
48 PJ-304 04 05-1 1 ELBOW UNION
エルボユニオン
(1)
49 SL-6041292-TN SCREW
座金付き六角穴ボルト
(2)
50 E2169-721-000 HOLD PLATE
ホールドプレート
(1)
51 SM-6031502-UZ SCREW M3 L=15
六角穴付きボルト M 3 L =15
(1)
52 NM-6030002-SC NUT M3
六角ナット M 3 X 0.5 2種
(1)
53 400-00909 STOPER
ストッパ
(1)
54
#05
400-80767 STOPPER CHIP L
ストッパチップ L
(1)
55
#06
400-80766 STOPPER CHIP R
ストッパチップ R
(1)
56 WP-0330516-SC WASHER 3.3X8X0.5
平座金 3.3 X 8 X 0.5
(1)
57 WS-0310002-KN SPRING WASHER M3 ばね座金 3.1 X 5.9 X 0.7 (1)
58 NM-6030001-SC NUT M3X0.5 TYPE1 六角ナット M 3 X 0.5 1種 (1)
59 400-23788 STOPER SPACER ストッパスペーサ (1)
60 SL-6030842-TN SCREW M3 L=8 座金付き六角穴ボルト (1)
61 400-00910 STOPPER PIN
ストッパピン
(1)
62 RE-0200000-K0 E-RING
E 形止め輪 2
(1)
63 WP-0320501-SC WASHER M3
平座金 3.2 X 7 X 0.5
(1)
64 SM-1030401-SE SCREW M3 L=4
皿ねじ M 3 X 0.5 L =4
(1)
65 SM-103120 1- SC SCR EW M 3X0.5 L=12
皿小ねじ M 3 X 0.5 L =12
(1)
66 E2039-721-000 WASHER A
スラストワッシャ A
(2)
67 E2038-721-000 STOPPER COLLAR
ストッパカラー
(1)
68
#05
400-64232 PUSHER XR(E) SET ASM
プッシャ XR(E)セット組
1
69 BT-04002 51 -EA T UBE HOSE, BLUE
ウレタンホース 青
(1.8)
70 EA-9500B01-00 CABLE BAND
束線バンド
(1)
71 HX -00314 0 0-00 S P I RAL TABE スパイラル チューブ (0.6)
72 400-64233 PUSHER XR(E) ASM プッシャ XR(E)組 (1)
73 E2280-725-000 PUSHER X プッシャ X (1)
74 E2173-715-000 THRUST WASHER スラストワッシャ (1)
75 E2172-715-000 PUSHER SHAFT
プッシャ シャフト
(1)
76 WP-0430801-SC WASHER 4.3X9X0.8
平座金 4.3 X 9 X 0.8
(1)
77 WS-0410002-KN SPRING WASHER
ばね座金 M 4
(1)
78 SM-604180 2- TN S CR EW M 4X 0. 7 L=18
六角穴ボルト M 4 X 0.7 L =18
(1)
79 400-80766 STOPPER CHIP R
ストッパチップ R
(1)
80 SM-1030401-SE SCREW M3 L=4
皿ねじ M 3 X 0.5 L =4
(1)
81 400-64060 X PUSHER BR(E)
X プッシャ BR(E)
(1)
82 E2284-725-000 HOLD PLATE B
ホールドプレート B
(1)
83 E2283-725-000 PUSHER CYLINDER SUPPER
プッシャシリンダサポート
(1)
84 SL-6041042-TN BOLT
座金付き六角穴ボルト
(2)
85 PA-1002101-A0 AIR CYLINDER エアシリンダ (1)
86 PJ-304 04 05-1 1 ELBOW UNION エルボユニオン (1)
87 E2177-715-000 CYLINDER ARM X シリンダアーム X (1)
88 E4843-760-000 CYLINDER PIN シリンダ−ピン (1)
89 RE-0250000-K0 E-RING 2.5
E 形止め輪 2.5
(2)
90 E2116-725-000 PUSHER STOPPER PLATE
プッシャストッパプレート
(1)
91 E2125-721-000 PWB GUIDE PLATE RB
PWB ガイドプレート RB
1
92 SL-6030892-TN SCREW M3 L=8
座金付き六角穴ボルト M 3 L =8
1
93 400-00885 Y PUSHER ASM
Y プッシャ組
1
94 PJ-046 05 90-0 5 C ON NE CTO R
バーブ継手
1
95 BT-04002 51 -EA T UBE HOSE, BLUE
ウレタンホース 青
0.2
96 400-00785 RAIL F(W)
レール F(W)
2

- 137 -
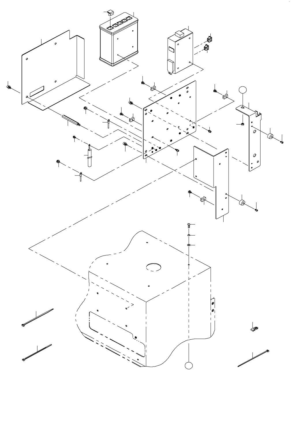
69. RFID COMPONENTS (MPC)
RFID 関係(MPC)
2
6
7
8
9
3
2
2
5
4
11
16
10
12
13
14
15
14
13
17
18
18
17
18
17
18
17
11
20
21
19
22
27
25
28
23
26
24
1
A
A
30
29

- 138 -
REF.NO NOTE PART NO D E S C R I P T I O N
品 名
Qty
1 400-73032 4 PORT MPC
4ポート MPC
1
2 HX-0066000-00 DUST COVER
ダストカバー
3
3 400-73033 SWITCHING HUB
スイッチングハブ
1
4 SL-6030892-TN SCREW M3 L=8
座金付き六角穴ボルト M 3 L =8
4
5 SL-6030692-TN SCREW M3 L=6
座金付き六角穴ボルト M 3 L =6
4
6 EA-9500B01-00 CABLE BAND
束線バンド
20
7 HX-0006500-0A CABLE CLIP
束線バンド
15
8 401-22635 MPC_BR_A
MPC_BR_A
1
9 401-22636 MPC_BR_B
MPC_BR_B
1
10 401-22637 MPC_BR_C
MPC_BR_C
1
11 SL-6040892-TN BOLT
座金付き六角穴ボルト
4
12 HX-0033900-0L SPACER
スペーサ
4
13 L127E-021-000 COVER CUSHION
カバークッション
4
14 SM-6030502-TN SCREW M3 L=5
六角穴ボルト M 3 L =5
4
15 401-22638 MPC_COVER
MPC カバー
1
16 SL-6040892-TN BOLT
座金付き六角穴ボルト
4
17 HX-0029400-00 FIXED BASE
固定ベース
5
18 SM-4040601-SC SCREW M4X0.7 L=6
なべ小ねじ M 4 X 0.7 L =6
5
19 SM-3041252-TN SCREW M4 L=12
丸ねじ M 4 L =12
1
20 WS-0410002-KN SPRING WASHER M4
ばね座金 M 4
1
21 WP-0430801-SC WASHER M4
平座金 M 4
1
22 NM-6040001-SN NUT M4X0.7
六角ナット M 4
1
23 SL-4040691-SC SCREW M4 L=6
座金付きなべ小ねじ M 4 L =6
1
24 SL-4030691-SC SCREW M3 L=6
座金付きなべ小ねじ M 3 L =6
1
25 401-22506 SHIELDING TUBE
シールディングチューブ
1
26 SL-4040691-SC SCREW M4 L=6
座金付きなべ小ねじ M 4 L =6
1
27 401-22518 MPC POWER CABLE (60) ASM
MPC パワー(60)ケーブル組
1
28 401-22522 RFID CONTROL BOX FG CABLE (60)
RFID コントロールボックス FG(60)
1
29 HX-0034400-00 HARNESS PARTS
束線パーツ
8
30 EA-9500B01-00 CABLE BAND
束線バンド
8