00197546-01_UM_SiplaceCA-Series_ZH - 第281页
《用户手册》 SIPLACE CA- 系列 4 设置与调试 使用软件版本 SC.707.0 或更新 2013 年 10 月版 简体中文 4.5 设置贴片机 281 4 图 . 4.5 - 27 设置设备外部支脚的高度 (1) 调节高度的 M24x2x12 0 设置螺丝 (2) 设备外部支脚 (3) 夹持片 (4) M24x90 六角套筒螺丝 检查要求的印制板传送导轨高度。 贴片机正确对齐后,使用扭矩扳手拧紧 M24x90 六角套…

4 设置与调试 《用户手册》 SIPLACE CA- 系列
4.5 设置贴片机 使用软件版本 SC.707.0 或更新 2013 年 10 月版 简体中文
280
4.5.17 贴片机的最终调试
在 1 号贴片区域里将设备水平仪放在传送导轨两侧的 X 和 Y 轴方向 (见图 4.5 - 26)。 印 制
板传送导轨的宽度已被预设为:
单传送导轨:210 mm
双传送导轨,1 号通道:100 mm
双传送导轨,2 号通道:210 mm 4
4
测量 PCB 传送带上缘和底部的距离。这个距离应该是 800 mm、900 mm、930 mm 或者 950
mm。
4
图 . 4.5 - 26 在 X 和 Y 轴方向调整贴片机
使用 SW36 叉形扳手调整 M24x2x120 设置螺丝 (图 4.5 - 27 中的物件 1),使在要求传送导
轨高度上的设备水平仪内液体不偏离它的零点位置。
请注意
如果使用了一条双传送导轨,在测量 X 轴方向时,水平仪必须始终摆放在贴片机的
外侧。

《用户手册》 SIPLACE CA- 系列 4 设置与调试
使用软件版本 SC.707.0 或更新 2013 年 10 月版 简体中文 4.5 设置贴片机
281
4
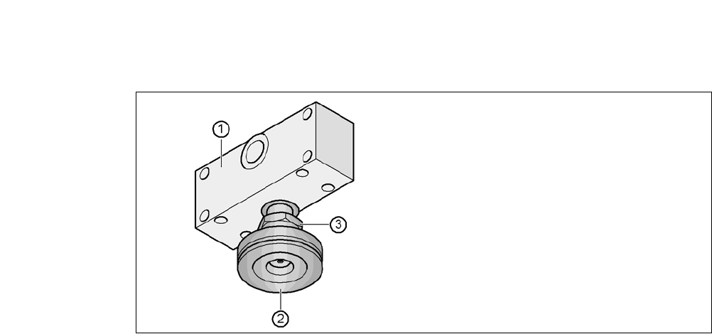
图 . 4.5 - 27 设置设备外部支脚的高度
(1) 调节高度的 M24x2x120 设置螺丝
(2) 设备外部支脚
(3) 夹持片
(4) M24x90 六角套筒螺丝
检查要求的印制板传送导轨高度。
贴片机正确对齐后,使用扭矩扳手拧紧 M24x90 六角套筒螺丝 (物件 4),将所有设备外部
支脚 (物件 3)的夹持片夹紧。
4
使用钩形扳手将设备中部支脚拧松约 135 - 145,直到它们牢固着地。
请确保设备中部支脚没有被拧出太多,否则它们将导致贴片机不平衡。
请注意
低拧紧扭矩的振动
拧紧扭矩为 130 Nm。如果您使用了一个更低的拧紧扭矩,贴片机将有可能容易发生振
动。
使用足够高的拧紧扭矩。

4 设置与调试 《用户手册》 SIPLACE CA- 系列
4.5 设置贴片机 使用软件版本 SC.707.0 或更新 2013 年 10 月版 简体中文
282
4
图 . 4.5 - 28 对齐和锁定设备中部支脚
使用设备水平仪重新检查贴片机的确切对齐情况。
使用尺寸 65 的叉形扳手拧紧 M24 锁定螺母 (物件 3)。
4.5.18 拆除装运支撑架
– 从悬臂轴上拆除所有装运用的支撑架。
(1) 垫块
(2) 设备中部支脚
(3) M24 锁定螺母