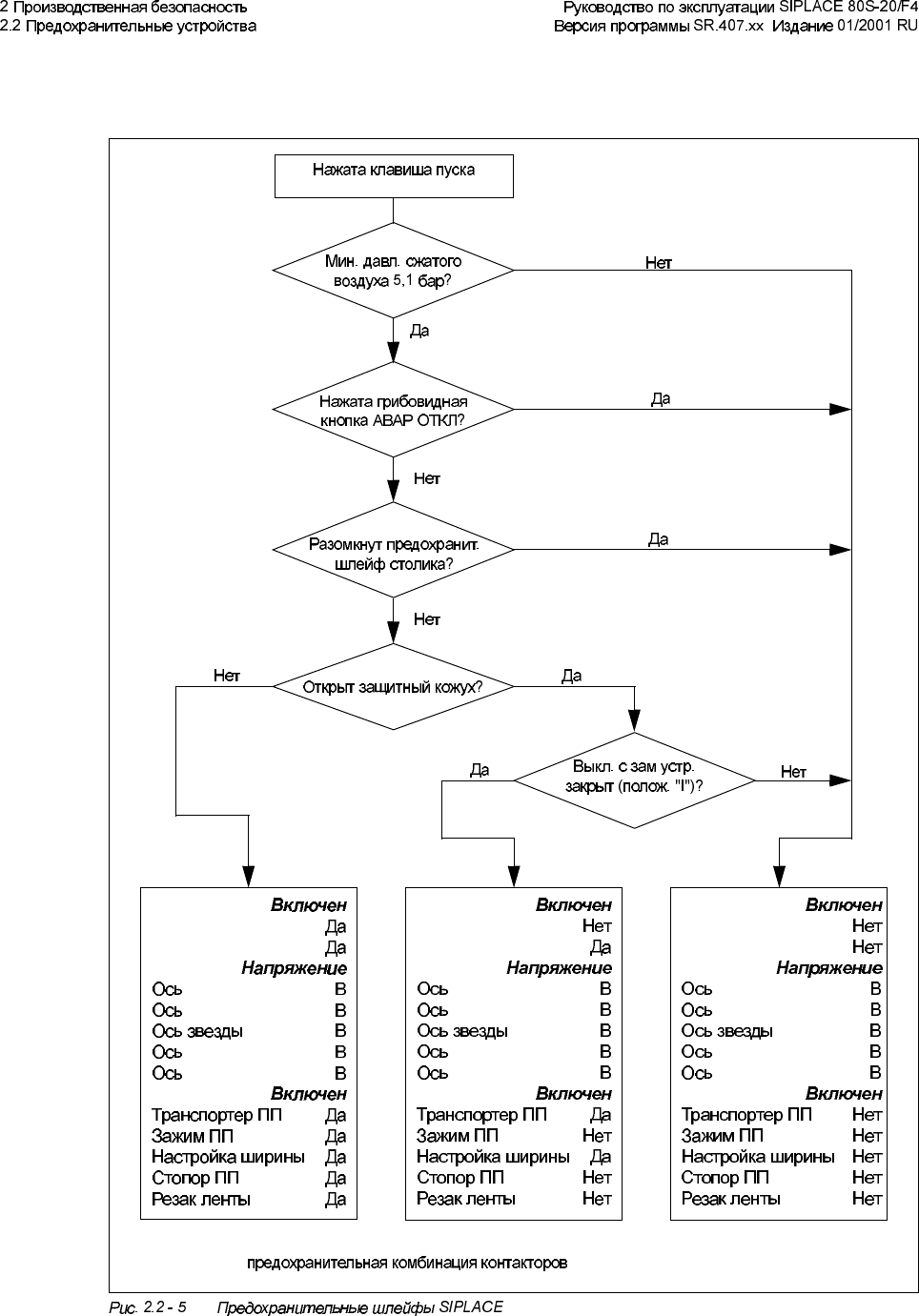
00192553-01.pdf - 第99页
6 ,3/$&( 6 ,3/$&( 6,3/$& ( …

.
.
<
;
'3
=
.
.
<
;
'3
=
.
.
<
;
'3
=
*) K1, K2 -

6,3/$&(
6,3/$&(
6,3/$&(
(1)
(2)
(3)

[[
6,3/$&(
[ a[ a
',1 ',1(1