MPAV2B Parts list(Mechanical20090625) - 第49页

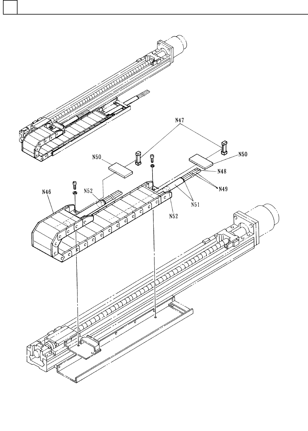
イラスト No. REF No. PART No. PART NAME REMAR KS Q'TY 3 X-Yテーブル 部(Y軸配線配管部 ) X-Y TABLE S ECT.(Y-AXIS WIRING AND PIPING S ECT.) 部 品 名 品 番 個数 備 考 1 1045904360 X-Y TABLE UNI T X-Y テーブルユニット N46 1 N98625.5-719 FLEXIBLE DUCT…

100%1 / 186
X-Yテーブル部(Y軸配線配管部)
X-Y TABLE SECT.(Y-AXIS WIRING AND PIPING SECT.)
3
F10459-04-360-AC
M29
イラスト
No.
REF
No.
PART No.
   
          PART NAME
    REMARKS 
Q'TY
3
X-Yテーブル部(Y軸配線配管部)
X-Y TABLE SECT.(Y-AXIS WIRING AND PIPING SECT.)
部 品 品  番 個数
備 考
1 1045904360
X-Y TABLE UNIT X-Y
テーブルユニット
N46
1
N98625.5-719
FLEXIBLE DUCT フレキシブルダクト 25.5-055-18-25B
N47
9
N986202
PLATE シキリイタ 202
N48 1 N4356UHK
TUBE チューフ
30-06,BLACK
N49 2 N4358UHK
TUBE チューフ
30-08,BLACK
N50
9
N986220.103
PLATE プレート 220.103
N51
2
N986N090-C03
SHEET シート NO.900M-UL0.30X50
N52 6 N986N090-C23
ADHESIVE TAPE ネンチャクテーフ
NO.903UL0.08X19
M30
F10459-04-360-AC
X-Yテーブル部(連結部R<固定側>)
X-Y TABLE SECT.(JOINT SECT.-R<FIXED SIDE>)
3
F10459-04-800-AB
M31