MPAV2B Parts list(Mechanical20090625) - 第102页
供給部(カ セット浮きセンサー部< 31連>) SUPPLY SECT .(FLOAT OF CASSETT E SENSOR SECT .) 10 F10459-07-750-AD M83

イラスト
No.
REF
No.
PART No.
PART NAME
REMARKS
Q'TY
10
供給部(カセット浮きセンサー部<16連>)
SUPPLY SECT.(FLOAT OF CASSETTE SENSOR SECT.)
部 品 名 品 番 個数
備 考
1 1045907650
SUPPLY UNIT キョウキュウユニット
652
1
104590765202
BRACKET ブラケット
653
1
104590765301
BRACKET ブラケット
N35 1 N310E32T14
OPTICAL FIBER CABLE UNIT ファイハ
゙ーユニット
E32-T14
N36 1 N310E3XA11
SENSOR センサ E3X-A11
M82
F10459-07-650-AD

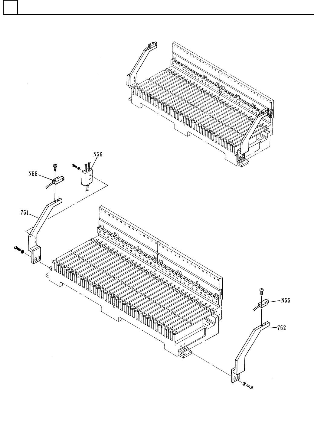
供給部(カセット浮きセンサー部<31連>)
SUPPLY SECT.(FLOAT OF CASSETTE SENSOR SECT.)
10
F10459-07-750-AD
M83

イラスト
No.
REF
No.
PART No.
PART NAME
REMARKS
Q'TY
10
供給部(カセット浮きセンサー部<31連>)
SUPPLY SECT.(FLOAT OF CASSETTE SENSOR SECT.)
部 品 名 品 番 個数
備 考
1 1045707750
SUPPLY UNIT キョウキュウユニット
751
1
104590775103
BRACKET ブラケット
752
1
104590775203
BRACKET ブラケット
N55 1 N310E32T14
OPTICAL FIBER CABLE UNIT ファイハ
゙ーユニット
E32-T14
N56 1 N310E3XA11
SENSOR センサ E3X-A11
M84
F10459-07-750-AD