MPAV2B Parts list(Mechanical20090625) - 第114页
C-4転写 ユニッ ト部 C-4 TRANSFE R UNIT SECT. 15 F10459-21-200-AA-1 M95

イラスト
No.
REF
No.
PART No.
PART NAME
REMARKS
Q'TY
14
プリント基板ストッパ部
P.C.B.STOPPER SECT.
部 品 名 品 番 個数
備 考
1 1045906900
P.C. BOARD STOPPER UNIT プリントキハ
゙ンストッパユニット
901
1
104590690101
BRACKET ブラケット
902
1
1045906902
JOINT ジョイント
906 1 104590690601
STOPPER ストッハ
゚ー
907 1 104590663903
SLIDER スライタ
゙
908
1
104590690801
HOLDER ホルダ
N 1
2
XPJ4A6FW
PARALLEL PIN ヘイコウピン 4X6,m6A,STEEL
N 2 1 N5132RSR-410
LINEAR MOTION UNIT リニアモーションユニット 2RSR9KMUUC1+115L
N 3 2 N431KQS04M5
FITTING ハーフユニオン KQS04-M5
N 4
1
N401CDU6-926
CYLINDER シリンダ CDU6-40D-A93V
N 6 2 N986YYYY-514
SCREW ネジ(ゴクテイトウロッカクアナツキ) M4X8
M94
F10459-06-900-AC

C-4転写ユニット部
C-4 TRANSFER UNIT SECT.
15
F10459-21-200-AA-1
M95

イラスト
No.
REF
No.
PART No.
PART NAME
REMARKS
Q'TY
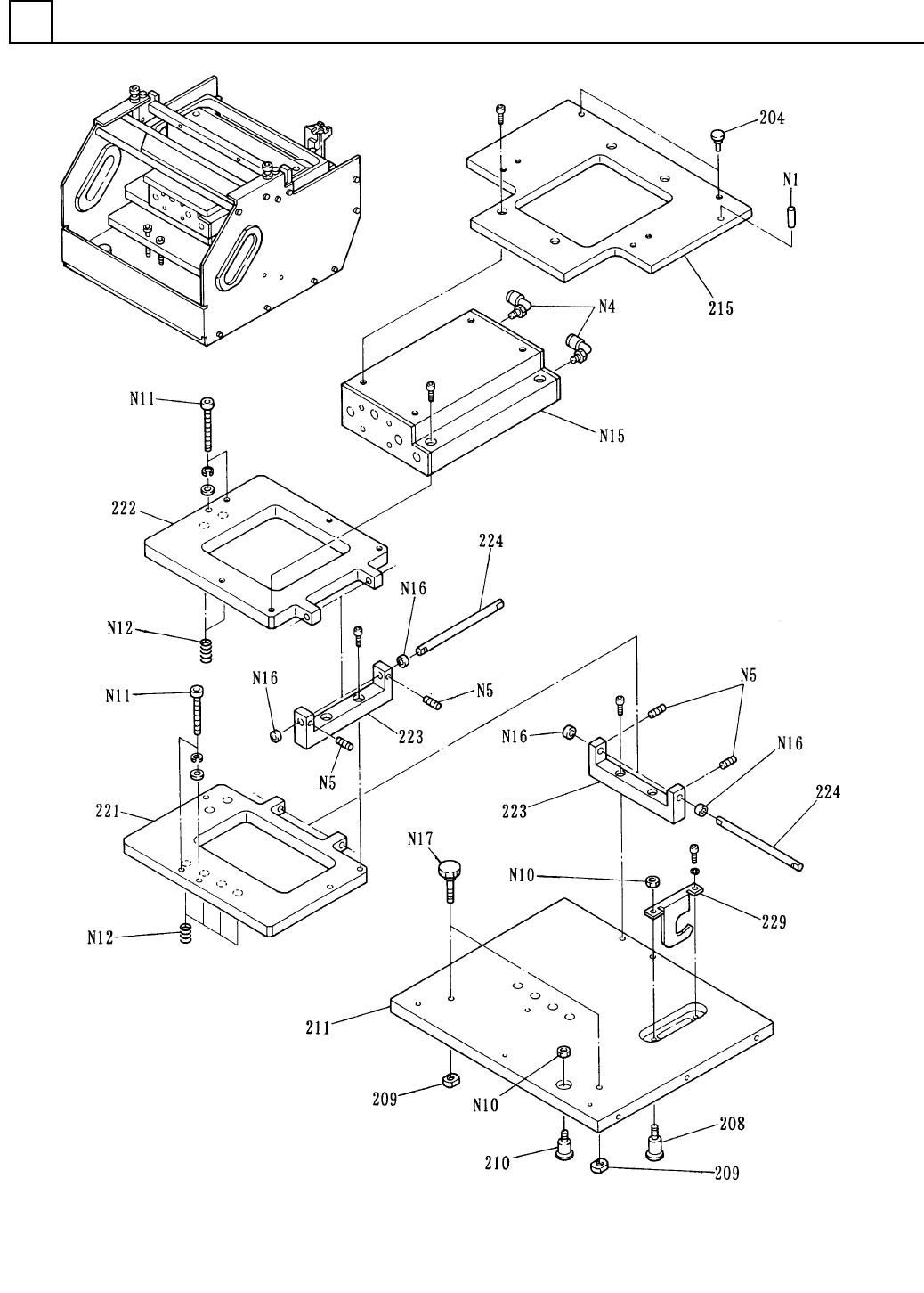
15
C-4転写ユニット部
C-4 TRANSFER UNIT SECT.
部 品 名 品 番 個数
備 考
1 1045921200
TRANSFER UNIT テンシャユニット
204
2
1045921204
PIN ピン
208
1
1045921208
PIN ピン
209 2 1045921209
PLATE フ
゚レート
210 1 104880802802
PIN ヒ
゚ン
211
1
1045921211
BASE ベース
215
1
1045921215
PLATE プレート
221 1 1045921221
PLATE フ
゚レート
222 1 1045921222
PLATE プレート
223
2
1045921223
BRACKET ブラケット
224 2 1045921224
SHAFT シャフト
229 1 1045921229
CLAMPER クランハ
゚ー
N 1
1
N986MS620
PARALLEL PIN ヘイコウピン MS6-20
N 4
2
N431KJL04M5
FITTING ツギテ KJL04-M5
N 5 4 XXE3C4FP
HEX. SOCKET SET SCREW ロッカクアナツキトメネジ M3X4,STEEL,P.C
N10 2 N986FSM30.5
NUT ナット FSM3X0.5
N11
4
XVEN5B40FPZ
HEX. SOCKET HEAD CAP BOLT ロッカクアナツキボルト M5X40,STEEL,P.C
N12
6
N986WT845
SPRING バネ WT8-45
N15 1 N403FXTW-195
CYLINDER シリンダ FXTWS-SD20-80-RB12
N16 4 N52080F0608
BUSHING ブ
ッシング
80F-0608
N17
2
N986KKM52025
KNOB ノブ KKM5-20-35
M96
F10459-21-200-AA-1