MPAV2B Parts list(Mechanical20090625) - 第117页
イラスト No. REF No. PART No. PART NAME REMAR KS Q'TY 15 C-4転写ユ ニット部 C-4 TRANSFE R UNIT SECT. 部 品 名 品 番 個数 備 考 201 1 104592120101 PLATE フ ゚レート 202 1 104592120201 BLOCK ブロック 203 1 1045921203 BLADE ブレイド 205 1 104880800…

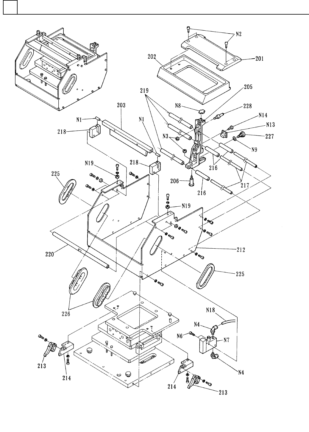
C-4転写ユニット部
C-4 TRANSFER UNIT SECT.
15
F10459-21-200-AA-2
M97

イラスト
No.
REF
No.
PART No.
PART NAME
REMARKS
Q'TY
15
C-4転写ユニット部
C-4 TRANSFER UNIT SECT.
部 品 名 品 番 個数
備 考
201 1 104592120101
PLATE フ
゚レート
202
1
104592120201
BLOCK ブロック
203
1
1045921203
BLADE ブレイド
205 1 104880800505
BLOCK フ
゙ロック
206 1 104880800803
PIN ヒ
゚ン
212
1
1045921212
BRACKET ブラケット
213
2
102210752901
CLAMPER クランパー
214 2 1045921214
BRACKET フ
゙ラケット
216 3 1045921216
COLLAR カラー
217
3
1045921217
GUIDE ガイド
218 2 1045921218
PLATE プレート
219 3 1045921219
COLLAR カラー
220
2
1045921220
SHAFT シャフト
225
2
1023034181
GRIP グリップ FOR REFERENCE ONLY
226 2 1023034180
GRIP グリップ FOR REFERENCE ONLY
227 1 104880800905
JOINT シ
゙ョイント
228
1
104880800703
PIN ピン
N 1
2
N986MS620
PARALLEL PIN ヘイコウピン MS6-20
N 2 4 XVE4B10YW
HEX. SOCKET HEAD CAP BOLT ロッカクアナツキボルト M4X10,STAINLESS(SUS305)
N 3 2 XNG3CFP
HEXAGON NUT ロッカクナット M3,3-TYPE,STEEL,P.C
N 4
2
N431KJL04M5
FITTING ツギテ KJL04-M5
N 6
2
XVE3B14FP
HEX. SOCKET HEAD CAP BOLT ロッカクアナツキボルト M3X14,STEEL,P.C
N 7 1 N411VQ11-592
SOLENOID VALVE ソレノイト
゙バルブ
VQ1160-5M-M5
N 8 1 N1P651A
COMPONENT ID/COUNTING UNIT IPC
メモリー
P651A
N 9
1
N5541AP5N
O-RING O リング 1AP5N
N13 1 N322CCP8-267
CONNECTOR コネクタ CCP-8030-682HA
N14 1 XTN25+8GFY
PAN HEAD TAPPING SCREW ナヘ
゙タッピンネジ
2.5X8,+,STEEL,Z.C.T
N18
1
N4354UHK
TUBE チューブ 30-04,BLACK
N19
2
XNG4CFY
HEXAGON NUT ロッカクナット M4,3-TYPE,STEEL,Z.C.T
M98
F10459-21-200-AA-2

C-4ノズル部
C-4 NOZZLE SECT.
16
F10459-38-100
M99