MPAV2B Parts list(Mechanical20090625) - 第118页
C-4ノ ズル部 C-4 NOZZLE SECT. 16 F10459-38-100 M99

イラスト
No.
REF
No.
PART No.
PART NAME
REMARKS
Q'TY
15
C-4転写ユニット部
C-4 TRANSFER UNIT SECT.
部 品 名 品 番 個数
備 考
201 1 104592120101
PLATE フ
゚レート
202
1
104592120201
BLOCK ブロック
203
1
1045921203
BLADE ブレイド
205 1 104880800505
BLOCK フ
゙ロック
206 1 104880800803
PIN ヒ
゚ン
212
1
1045921212
BRACKET ブラケット
213
2
102210752901
CLAMPER クランパー
214 2 1045921214
BRACKET フ
゙ラケット
216 3 1045921216
COLLAR カラー
217
3
1045921217
GUIDE ガイド
218 2 1045921218
PLATE プレート
219 3 1045921219
COLLAR カラー
220
2
1045921220
SHAFT シャフト
225
2
1023034181
GRIP グリップ FOR REFERENCE ONLY
226 2 1023034180
GRIP グリップ FOR REFERENCE ONLY
227 1 104880800905
JOINT シ
゙ョイント
228
1
104880800703
PIN ピン
N 1
2
N986MS620
PARALLEL PIN ヘイコウピン MS6-20
N 2 4 XVE4B10YW
HEX. SOCKET HEAD CAP BOLT ロッカクアナツキボルト M4X10,STAINLESS(SUS305)
N 3 2 XNG3CFP
HEXAGON NUT ロッカクナット M3,3-TYPE,STEEL,P.C
N 4
2
N431KJL04M5
FITTING ツギテ KJL04-M5
N 6
2
XVE3B14FP
HEX. SOCKET HEAD CAP BOLT ロッカクアナツキボルト M3X14,STEEL,P.C
N 7 1 N411VQ11-592
SOLENOID VALVE ソレノイト
゙バルブ
VQ1160-5M-M5
N 8 1 N1P651A
COMPONENT ID/COUNTING UNIT IPC
メモリー
P651A
N 9
1
N5541AP5N
O-RING O リング 1AP5N
N13 1 N322CCP8-267
CONNECTOR コネクタ CCP-8030-682HA
N14 1 XTN25+8GFY
PAN HEAD TAPPING SCREW ナヘ
゙タッピンネジ
2.5X8,+,STEEL,Z.C.T
N18
1
N4354UHK
TUBE チューブ 30-04,BLACK
N19
2
XNG4CFY
HEXAGON NUT ロッカクナット M4,3-TYPE,STEEL,Z.C.T
M98
F10459-21-200-AA-2

C-4ノズル部
C-4 NOZZLE SECT.
16
F10459-38-100
M99

イラスト
No.
REF
No.
PART No.
PART NAME
REMARKS
Q'TY
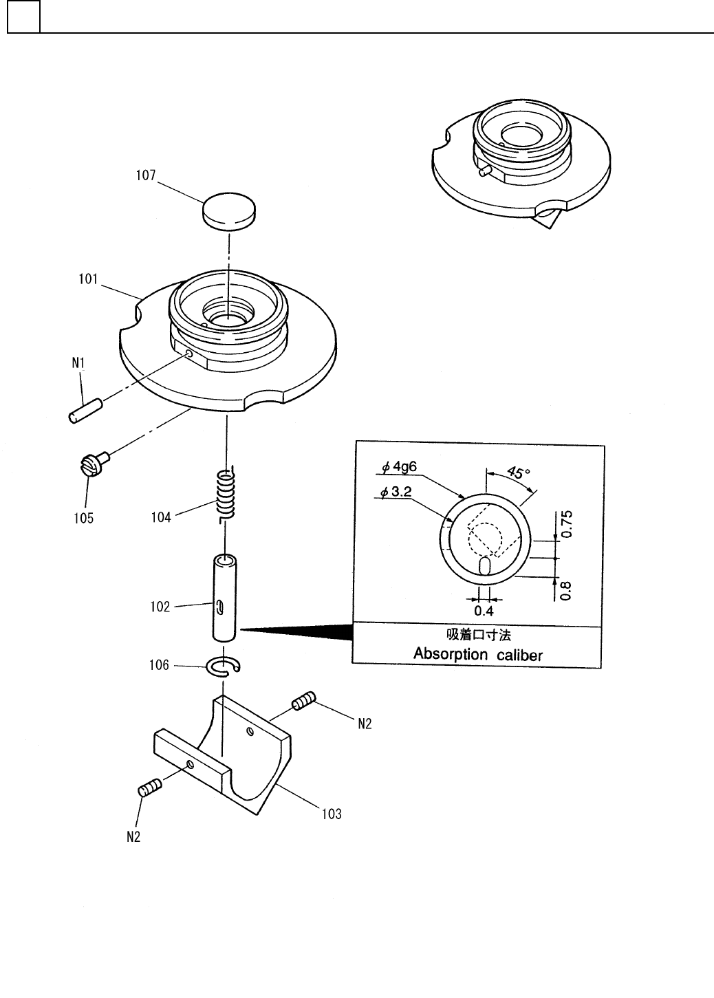
16
C-4ノズル部
C-4 NOZZLE SECT.
部 品 名 品 番 個数
備 考
1 1045938100
NOZZLE UNIT(C-4) ノズ
ルユニット(C-4)
101
1
1045938101
FLANGE フランジ
102
1
1045938102
NOZZLE ノズル
103 1 1045938103
COVER カハ
゙ー
104 1 1045938104
SPRING ハ
゙ネ
105
1
1045908015
PIN(GUIDE) ピン(ガイド)
106
1
1045908019
RING リング
107 1 1045908018
FILTER フィルタ
N 1 1 XPJ2A6FW
PARALLEL PIN ヘイコウヒ
゚ン
2X6,m6A,STEEL
N 2
2
XXE2A4FP
HEX. SOCKET SET SCREW ロッカクアナツキトメネジ M2X4,STEEL,P.C
M100
F10459-38-100