MPAV2B Parts list(Mechanical20090625) - 第143页
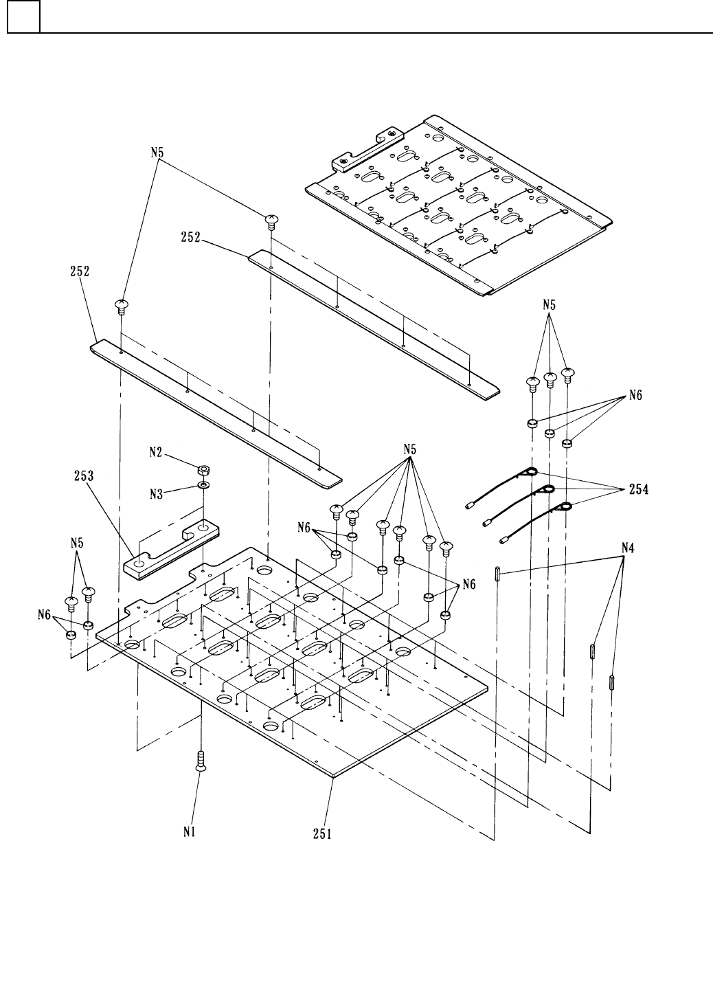
イラスト No. REF No. PART No. PART NAME REMAR KS Q'TY 1 トレイプレート部 TRAY PLATE SECT. 部 品 名 品 番 個数 備 考 1 1045954250 TRAY PLATE UN IT トレイフ ゚レートユニット 251 1 1045954251 TRAY(PLATE) トレイ(プレート) 252 2 1045954252 PLATE プレート 253 1 …

トレイプレート部
TRAY PLATE SECT.
1
F10459-54-250
M5

イラスト
No.
REF
No.
PART No.
PART NAME
REMARKS
Q'TY
1
トレイプレート部
TRAY PLATE SECT.
部 品 名 品 番 個数
備 考
1 1045954250
TRAY PLATE UNIT トレイフ
゚レートユニット
251
1
1045954251
TRAY(PLATE) トレイ(プレート)
252
2
1045954252
PLATE プレート
253 1 1045954103
HOOK フック
254 12 1045954254
SPRING ハ
゙ネ
N 1
2
XSS3+10FY
FLUSH HEAD SCREW サラコネジ M3X10,+,STEEL,Z.C.T
N 2
2
XNG3AFY
HEXAGON NUT ロッカクナット M3,1-TYPE,STEEL,Z.C.T
N 3 2 XWC3AFY
TOOTHED LOCK WASHER ハツキサ
゙ガネ
3,A-TYPE,STEEL,Z.C.T
N 4 12 XPL2A8WFP
SPRING PIN スプリンク
゙ピン
2X8,STEEL,P.C
N 5
56
XST3+6FY
TRUSS HEAD SCREW トラスコネジ M3X6,+,STEEL,Z.C.T
N 6 48 N560CLAA-086
COLLAR カラー CLAA-SU-D5-L2.3-V3
M6
F10459-54-250

マガジン部
MAGAZINE SECT.
2
F10459-53-400
M7