MPAV2B Parts list(Mechanical20090625) - 第146页
トレイリフタ部( 40連1) TRAY LIFTER SECT.(FOR 40 COMP ONENT-1) 3 F10459-51-700-AB-1 M9

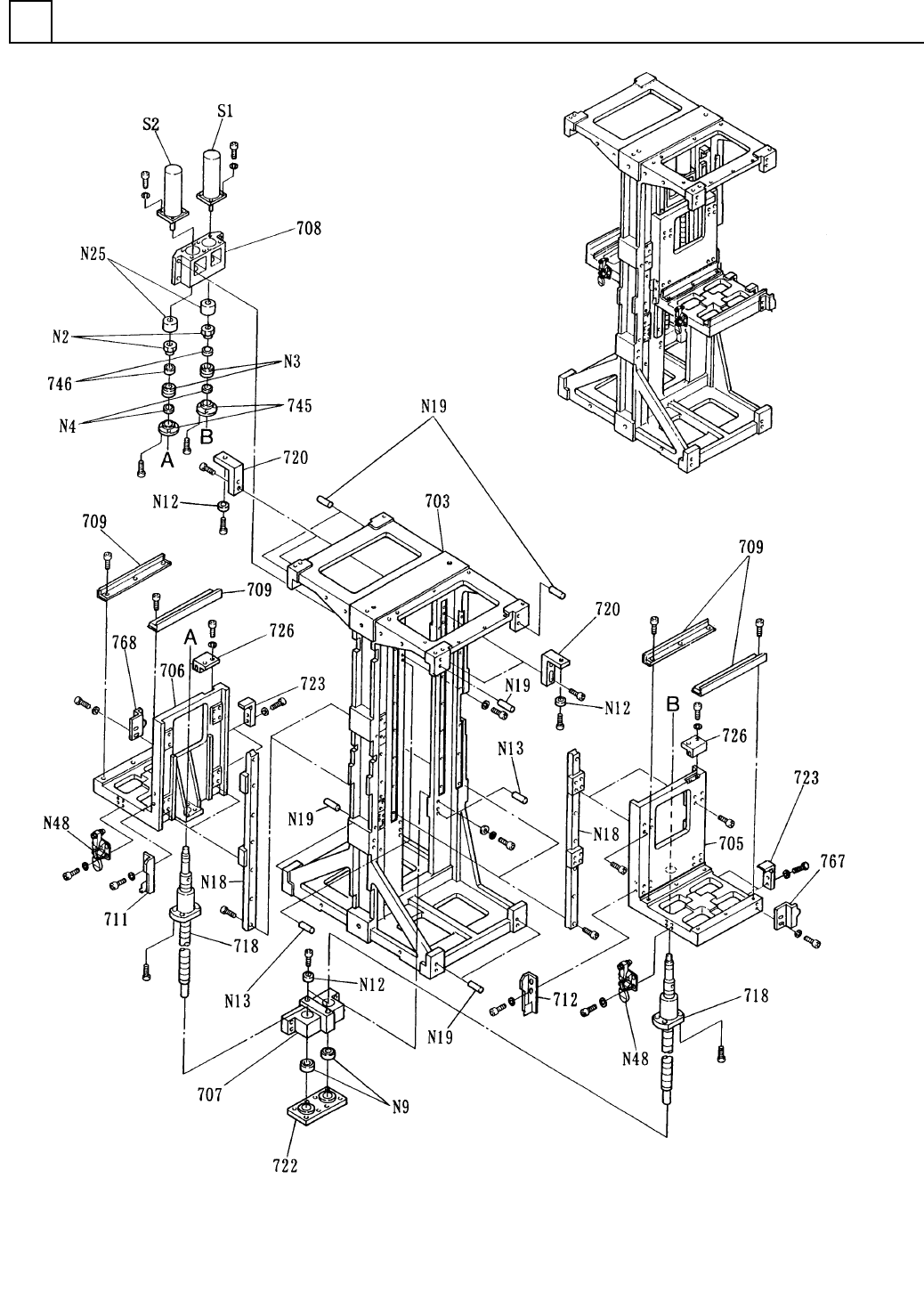
イラスト
No.
REF
No.
PART No.
PART NAME
REMARKS
Q'TY
2
マガジン部
MAGAZINE SECT.
部 品 名 品 番 個数
備 考
1 1045953400
MAGAZINE LABEL UNIT マガ
ジンラベルユニット
401
1
1045953401
MAGAZINE マガジン
402
1
1045953402
MAGAZINE マガジン
403 2 1045953403
BRACKET フ
゙ラケット
404 1 1045953404
BRACKET ブラケット
405
1
1045953405
BRACKET ブラケット
406
2
1045953406
BRACKET ブラケット
407 2 1045953407
BRACKET フ
゙ラケット
408 1 104595300702
GUARD ガ
ード
409
1
104595310501
SHUTTER シャッタ
410 2 1045953006
HINGE ヒンジ
411 8 1045953109
RACK(GUIDE) ラック
(ガイド)
N 1
2
N982THA3050
DRAWER PULL トッテ THA-30(3050)
N 2
1
N986AUS640
SPRING バネ AUS6-40
N 3 2 N982TH2528
HINGE ヒンジ TH-84D-1(2528)
N 4 42 XVEN4M6FYZ
HEX. SOCKET BUTTON HEAD BOL ロッカクアナツキホ
゙タンボルト
M4X6,STEEL,Z.C.T
N 5
8
XTN3+10RFY
PAN HEAD TAPPING SCREW ナベタッピンネジ 3X10,+,STEEL,Z.C.T
N 6
46
XTN3+6RFY
PAN HEAD TAPPING SCREW ナベタッピンネジ 3X6,+,STEEL,Z.C.T
N 7 10 XSS4+6FY
FLUSH HEAD SCREW サラコネジ M4X6,+,STEEL,Z.C.T
M8
F10459-53-400

トレイリフタ部(40連1)
TRAY LIFTER SECT.(FOR 40 COMPONENT-1)
3
F10459-51-700-AB-1
M9

イラスト
No.
REF
No.
PART No.
PART NAME
REMARKS
Q'TY
3
トレイリフタ部(40連1)
TRAY LIFTER SECT.(FOR 40 COMPONENT-1)
部 品 名 品 番 個数
備 考
1 1045951700
TRAY LIFTER UNIT トレイリフタユニット
703
1
104595150303
FRAME フレーム
705
1
104595150501
TABLE(RIGHT) テーブル(RIGHT)
706 1 104595150601
TABLE(LEFT) テーフ
゙ル(LEFT)
707 1 104595110702
HOUSING ハウシ
゙ング
708
1
104595110801
HOUSING ハウジング
709
4
104595150901
RAIL(GUIDE) レール(ガイド)
711 1 104595151101
DOG FOR SENSOR センサト
゙グ
712 1 104595151201
DOG FOR SENSOR センサト
゙グ
718
2
1045951518
BALL SCREW ボールネジ
720 4 104595112001
BLOCK ブロック
722 1 104595112201
COVER(BEARING) カバ
ー(ベアリング)
723
4
1045951523
STOPPER ストッパー
726
2
1045951526
GUIDE ガイド
745 2 1045951029
COVER(BEARING) カバー(ベアリング)
746 2 1045951030
COLLAR カラー
767
1
1045951567
DOG FOR SENSOR センサドグ
768
1
1045951568
DOG FOR SENSOR センサドグ
N 2 2 N986BNR15
NUT ナット BNR15
N 3 2 XLLN7202BDF
BALL BEARING ボールヘ
゙アリング
7202BDF
N 4
2
N5600S20304
SEAL シール OS20304
N 9
2
XLC6303ZZ
BALL BEARING ボールベアリング 6303ZZ
N12 6 N984FD25
DAMPER タ
゙ンパ
FD25
N13 4 XPJ6A20FW
PARALLEL PIN ヘイコウヒ
゚ン
6X20,m6A,STEEL
N18
4
N513HSR1-465
LINEAR MOTION UNIT リニアモーションユニット HSR15A2UU+760L
N19 8 XPJ8A16FW
PARALLEL PIN ヘイコウピン 8X16,m6A,STEEL
N25 2 N644SFC0-096
COUPLING カッフ
゚リング
SFC-040SD-12B-14B
N48
2
N986N0HH250T
CLAMPER クランパー NO.HH250-T
S 1
1
304591250106
MOTOR SET モータセット
S 2 1 304591250206
MOTOR SET モータセット
M10
F10459-51-700-AB-1