MPAV2B Parts list(Mechanical20090625) - 第149页
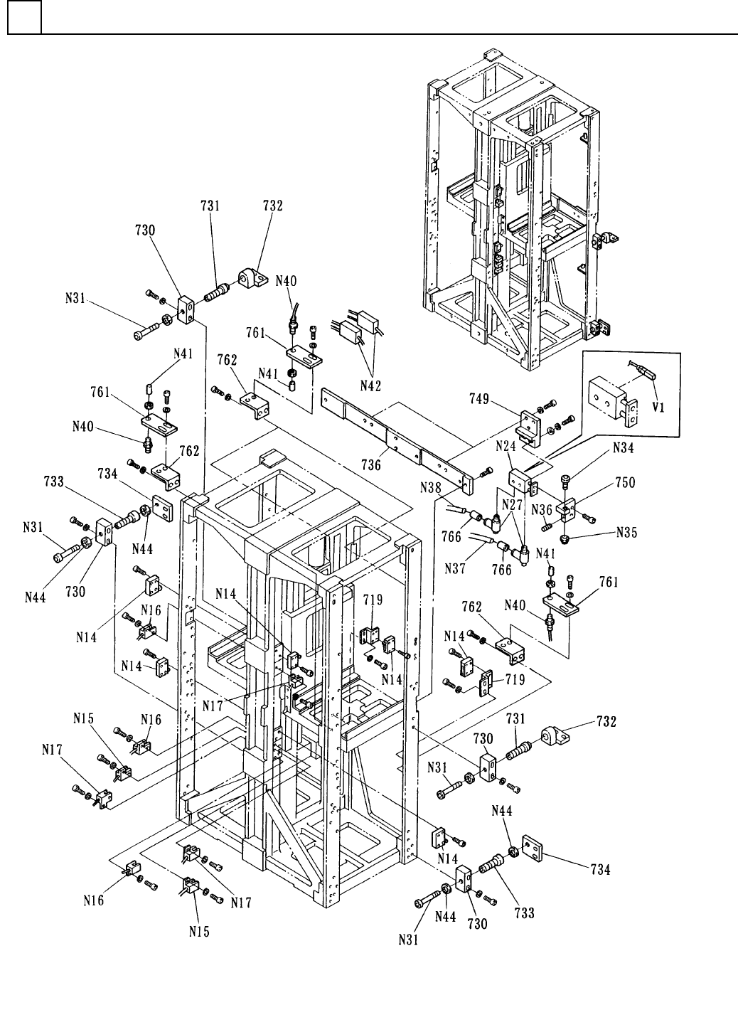
イラスト No. REF No. PART No. PART NAME REMAR KS Q'TY 3 トレイリフタ部 (40連2) TRAY LIFTER SECT.(FOR 40 COMP ONENT-2) 部 品 名 品 番 個数 備 考 719 2 1045951173 BRACKET フ ゙ラケット 730 4 104595116901 PLATE(JOINT) プレート(ジョ イント) 731 2 104595…

トレイリフタ部(40連2)
TRAY LIFTER SECT.(FOR 40 COMPONENT-2)
3
F10459-51-700-AB-2
M11

イラスト
No.
REF
No.
PART No.
PART NAME
REMARKS
Q'TY
3
トレイリフタ部(40連2)
TRAY LIFTER SECT.(FOR 40 COMPONENT-2)
部 品 名 品 番 個数
備 考
719 2 1045951173
BRACKET フ
゙ラケット
730
4
104595116901
PLATE(JOINT) プレート(ジョイント)
731
2
1045951131
PIN(JOINT) ピン(ジョイント)
732 2 104595113203
HOLDER(JOINT) ホルタ
゙(ジョイント)
733 2 1045951133
PIN(JOINT) ピン(ジ
ョイント)
734
2
1045951134
PLATE(JOINT) プレート(ジョイント)
736
1
104595153602
PLATE プレート
749 2 104595154901
PLATE フ
゚レート
750 2 104595205002
ARM アーム
761
4
1045951561
PLATE プレート
762 4 1045951562
BRACKET ブラケット
766 2 1045952086
MARK TUBE マークチューフ
゙
N14
6
N300V1051A5
SWITCH スイッチ V-105-1A5
N15
2
N310P9141
SENSOR センサ P914-1
N16 3 N310P914C1
SENSOR センサ P914C-1
N17 3 N310P914A1
SENSOR センサ P914A-1
N24
2
N401CXSL-905
CYLINDER シリンダ CXSL10-15-Z73S-X593
N27
4
N406AS12-056
SPEED CONTROLLER スピードコントローラ AS1201F-M5-04S
N31 4 XVE8B85FY
HEX. SOCKET HEAD CAP BOLT ロッカクアナツキボルト M8X85,STEEL,Z.C.T
N34 2 N531CF4UUA
CAM FOLLOWER カムフォロア CF4UU-A
N35
2
XNGNU4YFP
LOCK-NUT ロックナット M4,2-TYPE,STAINLESS,STEEL,
N36
2
XXE3C6FP
HEX. SOCKET SET SCREW ロッカクアナツキトメネジ M3X6,STEEL,P.C
N37 1 N4354UHK
TUBE チューフ
゙
30-04,BLACK
N38 1 N4354UHY
TUBE チューフ
゙
30-04,YELLOW
N40
2
N310E32TC200
SENSOR センサ E32-TC200
N41 2 N310E39F1
LENS UNIT レンズユニット E39-F1
N42 2 N310E3XNT11
AMPLIFIER FOR SENSOR アンフ
゚ユニット
E3X-NT11
N44
4
XNH16DFY
HEXAGON NUT ロッカクナット M16,1-TYPE,STEEL,Z.C.T
V 1
2
N401DZ73
SENSOR センサ D-Z73
M12
F10459-51-700-AB-2

トレイリフタ部(40連3)
TRAY LIFTER SECT.(FOR 40 COMPONENT-3)
3
F10459-51-700-AB-3
M13