MPAV2B Parts list(Mechanical20090625) - 第150页
トレイリフタ部( 40連3) TRAY LIFTER SECT.(FOR 40 COMP ONENT-3) 3 F10459-51-700-AB-3 M13

イラスト
No.
REF
No.
PART No.
PART NAME
REMARKS
Q'TY
3
トレイリフタ部(40連2)
TRAY LIFTER SECT.(FOR 40 COMPONENT-2)
部 品 名 品 番 個数
備 考
719 2 1045951173
BRACKET フ
゙ラケット
730
4
104595116901
PLATE(JOINT) プレート(ジョイント)
731
2
1045951131
PIN(JOINT) ピン(ジョイント)
732 2 104595113203
HOLDER(JOINT) ホルタ
゙(ジョイント)
733 2 1045951133
PIN(JOINT) ピン(ジ
ョイント)
734
2
1045951134
PLATE(JOINT) プレート(ジョイント)
736
1
104595153602
PLATE プレート
749 2 104595154901
PLATE フ
゚レート
750 2 104595205002
ARM アーム
761
4
1045951561
PLATE プレート
762 4 1045951562
BRACKET ブラケット
766 2 1045952086
MARK TUBE マークチューフ
゙
N14
6
N300V1051A5
SWITCH スイッチ V-105-1A5
N15
2
N310P9141
SENSOR センサ P914-1
N16 3 N310P914C1
SENSOR センサ P914C-1
N17 3 N310P914A1
SENSOR センサ P914A-1
N24
2
N401CXSL-905
CYLINDER シリンダ CXSL10-15-Z73S-X593
N27
4
N406AS12-056
SPEED CONTROLLER スピードコントローラ AS1201F-M5-04S
N31 4 XVE8B85FY
HEX. SOCKET HEAD CAP BOLT ロッカクアナツキボルト M8X85,STEEL,Z.C.T
N34 2 N531CF4UUA
CAM FOLLOWER カムフォロア CF4UU-A
N35
2
XNGNU4YFP
LOCK-NUT ロックナット M4,2-TYPE,STAINLESS,STEEL,
N36
2
XXE3C6FP
HEX. SOCKET SET SCREW ロッカクアナツキトメネジ M3X6,STEEL,P.C
N37 1 N4354UHK
TUBE チューフ
゙
30-04,BLACK
N38 1 N4354UHY
TUBE チューフ
゙
30-04,YELLOW
N40
2
N310E32TC200
SENSOR センサ E32-TC200
N41 2 N310E39F1
LENS UNIT レンズユニット E39-F1
N42 2 N310E3XNT11
AMPLIFIER FOR SENSOR アンフ
゚ユニット
E3X-NT11
N44
4
XNH16DFY
HEXAGON NUT ロッカクナット M16,1-TYPE,STEEL,Z.C.T
V 1
2
N401DZ73
SENSOR センサ D-Z73
M12
F10459-51-700-AB-2

トレイリフタ部(40連3)
TRAY LIFTER SECT.(FOR 40 COMPONENT-3)
3
F10459-51-700-AB-3
M13

イラスト
No.
REF
No.
PART No.
PART NAME
REMARKS
Q'TY
3
トレイリフタ部(40連3)
TRAY LIFTER SECT.(FOR 40 COMPONENT-3)
部 品 名 品 番 個数
備 考
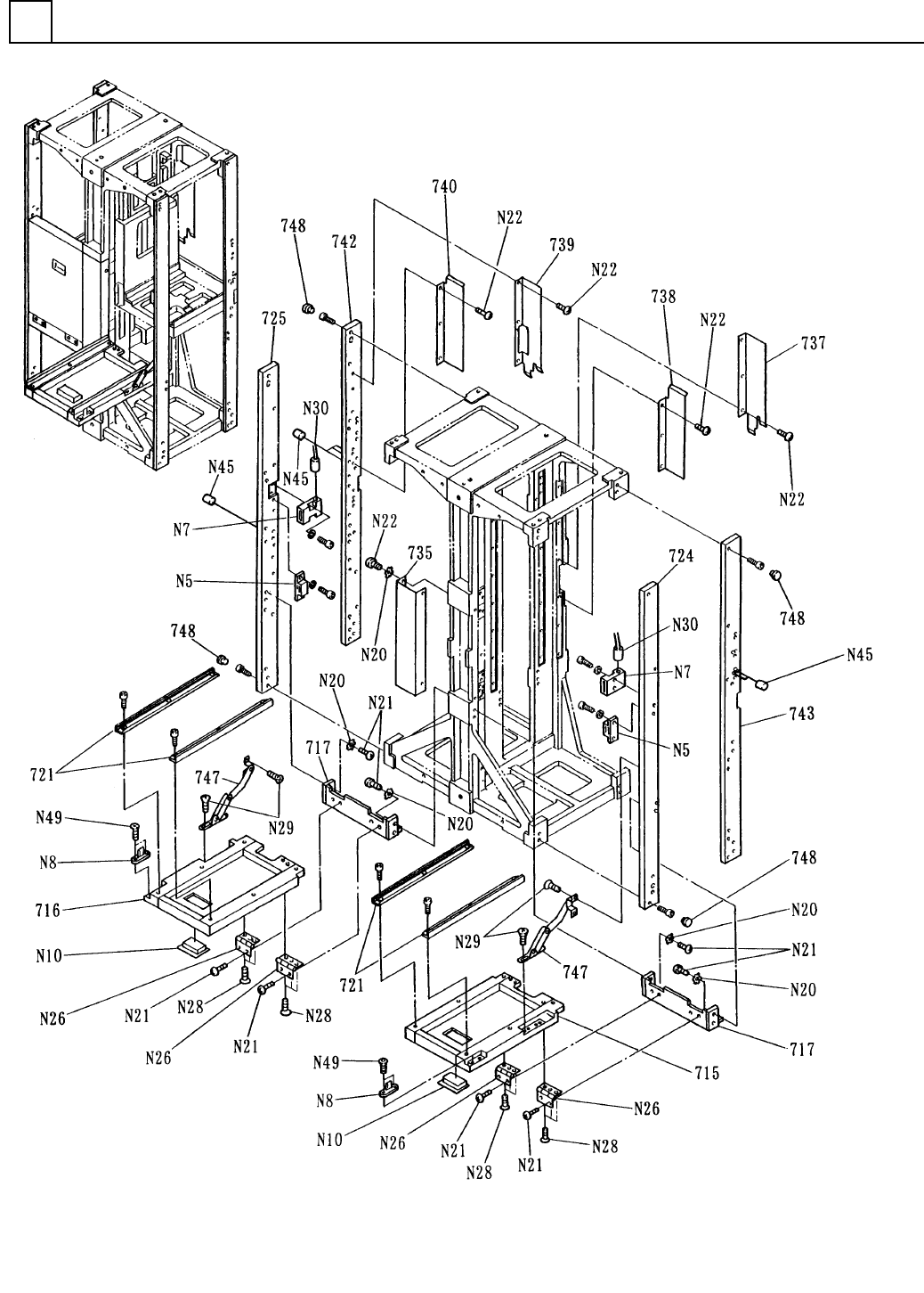
715 1 104595151501
RIGHT DOOR ド
ア(RIGHT)
716
1
104595151601
LEFT DOOR ドア(LEFT)
717
2
1045951181
BRACKET(DOOR) ブラケット(ドア)
721 4 104595112103
RAIL(GUIDE) レール
(ガイド)
724 1 104595152405
PLATE プレート
725
1
104595152503
PLATE プレート
735
1
1045951189
COVER カバー
737 1 1045951537
GUIDE カ
゙イド
738 1 1045951538
GUIDE ガ
イド
739
1
104595115702
GUIDE ガイド
740 1 1045951540
GUIDE ガイド
742 1 1045951742
PLATE フ
゚レート
743
1
1045951743
PLATE プレート
747
2
104595105001
STAY ステー
748 8 1045951192
GROMMET グロメット
N 5 2 N980C100B2
MAGNETIC CATCH マク
゙ネットキャッチ
C-100-B-2
N 7
2
N300AZ16-027
SWITCH スイッチ AZ16-03ZVRK(5N)
N 8
2
N300ACTU-010
ACTUATOR アクチュエータ ACTUATORB1
N10 2 N982THA3807
DRAWER PULL トッテ THA-195-3807
N20 12 XWC5BFY
TOOTHED LOCK WASHER ハツキサ
゙ガネ
5,B-TYPE,STEEL,Z.C.T
N21
16
XVEN5M10FYZ
HEX. SOCKET BUTTON HEAD BOL ロッカクアナツキボタンボルト M5X10,STEEL,Z.C.T
N22
16
XST5+8FY
TRUSS HEAD SCREW トラスコネジ M5X8,+,STEEL,Z.C.T
N26 4 N980B100-053
HINGE チョウハ
゙ン
B-1002-A
N28 12 XSS5+10FY
FLUSH HEAD SCREW サラコネシ
゙
M5X10,+,STEEL,Z.C.T
N29
12
XSS4+10FY
FLUSH HEAD SCREW サラコネジ M4X10,+,STEEL,Z.C.T
N30 2 N30025011
CONNECTOR コネクタ 250/11
N45 6 XPJ6A15FW
PARALLEL PIN ヘイコウヒ
゚ン
6X15,m6A,STEEL
N49
4
N986YYYY-Q01
BOLT トルクスアナツキサラボルト M5X8
M14
F10459-51-700-AB-3