MPAV2B Parts list(Mechanical20090625) - 第157页
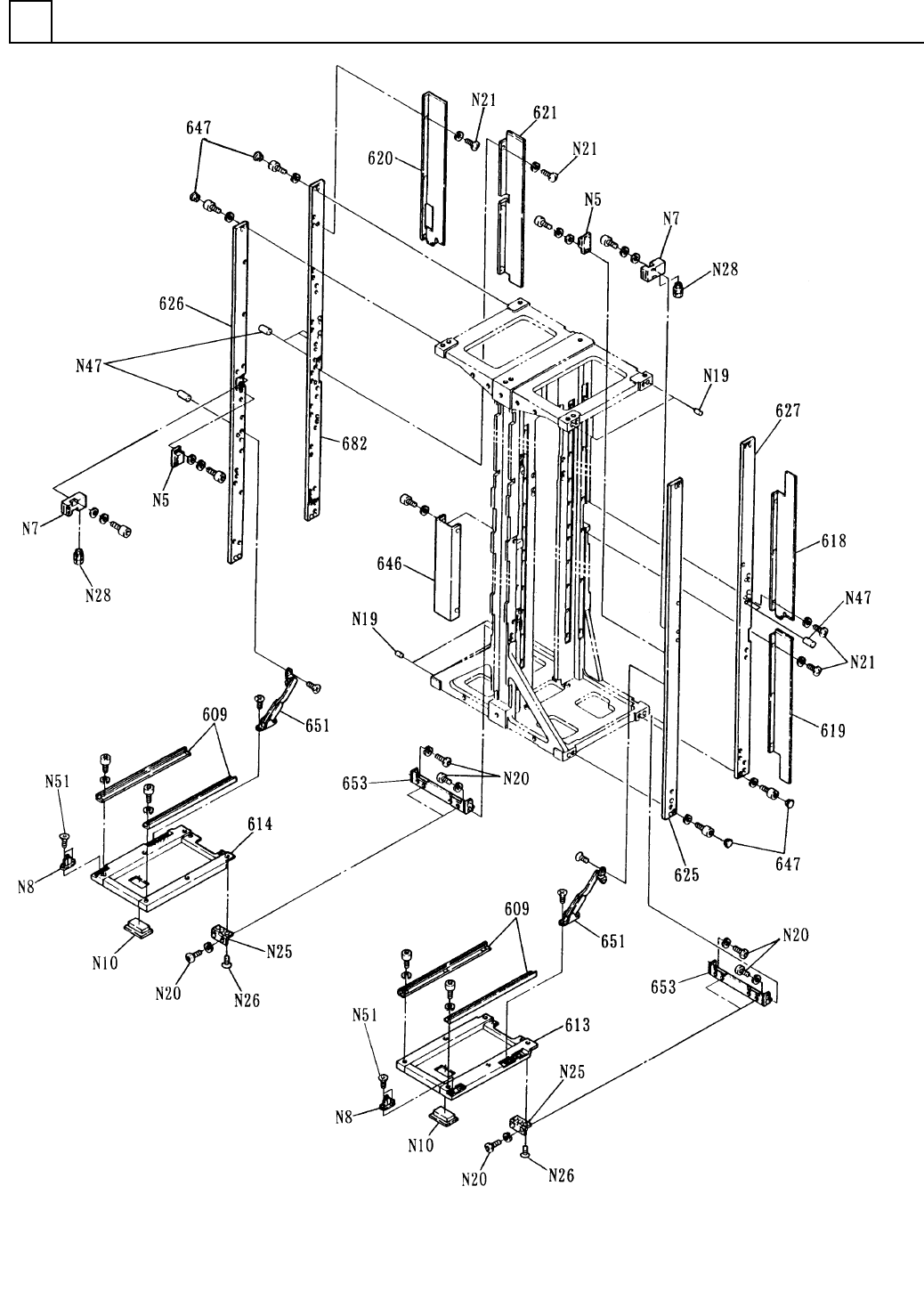
イラスト No. REF No. PART No. PART NAME REMAR KS Q'TY 3 トレイリフタ部 (80連2) TRAY LIFTER SECT.(FOR 80 COMP ONENT-2) 部 品 名 品 番 個数 備 考 609 4 104595112103 RAIL(GUIDE) レール (ガイド) 613 1 104595151501 RIGHT DOOR ドア(RIGHT) 614 1 10…

トレイリフタ部(80連2)
TRAY LIFTER SECT.(FOR 80 COMPONENT-2)
3
F10459-51-600-AB-2
M19

イラスト
No.
REF
No.
PART No.
PART NAME
REMARKS
Q'TY
3
トレイリフタ部(80連2)
TRAY LIFTER SECT.(FOR 80 COMPONENT-2)
部 品 名 品 番 個数
備 考
609 4 104595112103
RAIL(GUIDE) レール
(ガイド)
613
1
104595151501
RIGHT DOOR ドア(RIGHT)
614
1
104595151601
LEFT DOOR ドア(LEFT)
618 1 1045951418
GUIDE カ
゙イド
619 1 104595141901
GUIDE ガ
イド
620
1
104595142001
GUIDE ガイド
621
1
104595142101
GUIDE ガイド
625 1 104595142504
PLATE フ
゚レート
626 1 104595142602
PLATE プレート
627
1
1045951627
PLATE プレート
646 1 1045951189
COVER カバー
647 8 1045951192
GROMMET ク
゙ロメット
651
2
104595105001
STAY ステー
653
2
1045951453
BRACKET(DOOR) ブラケット(ドア)
682 1 1045951682
PLATE プレート
N 5 2 N980C100B2
MAGNETIC CATCH マク
゙ネットキャッチ
C-100-B-2
N 7
2
N300AZ16-027
SWITCH スイッチ AZ16-03ZVRK(5N)
N 8
2
N300ACTU-010
ACTUATOR アクチュエータ ACTUATORB1
N10 2 N982THA3807
DRAWER PULL トッテ THA-195-3807
N19 8 XPJ8A16FW
PARALLEL PIN ヘイコウヒ
゚ン
8X16,m6A,STEEL
N20
16
XVEN5M10FYZ
HEX. SOCKET BUTTON HEAD BOL ロッカクアナツキボタンボルト M5X10,STEEL,Z.C.T
N21
16
XST5+8FY
TRUSS HEAD SCREW トラスコネジ M5X8,+,STEEL,Z.C.T
N25 4 N980B100-053
HINGE チョウハ
゙ン
B-1002-A
N26 12 XSS5+10FY
FLUSH HEAD SCREW サラコネシ
゙
M5X10,+,STEEL,Z.C.T
N28
2
N30025011
CONNECTOR コネクタ 250/11
N47 6 XPJ6A15FW
PARALLEL PIN ヘイコウピン 6X15,m6A,STEEL
N51 4 N986YYYY-Q01
BOLT トルクスアナツキサラホ
゙ルト
M5X8
M20
F10459-51-600-AB-2

トレイリフタ部(80連3)
TRAY LIFTER SECT.(FOR 80 COMPONENT-3)
3
F10459-51-600-AB-3
M21