MPAV2B Parts list(Mechanical20090625) - 第159页
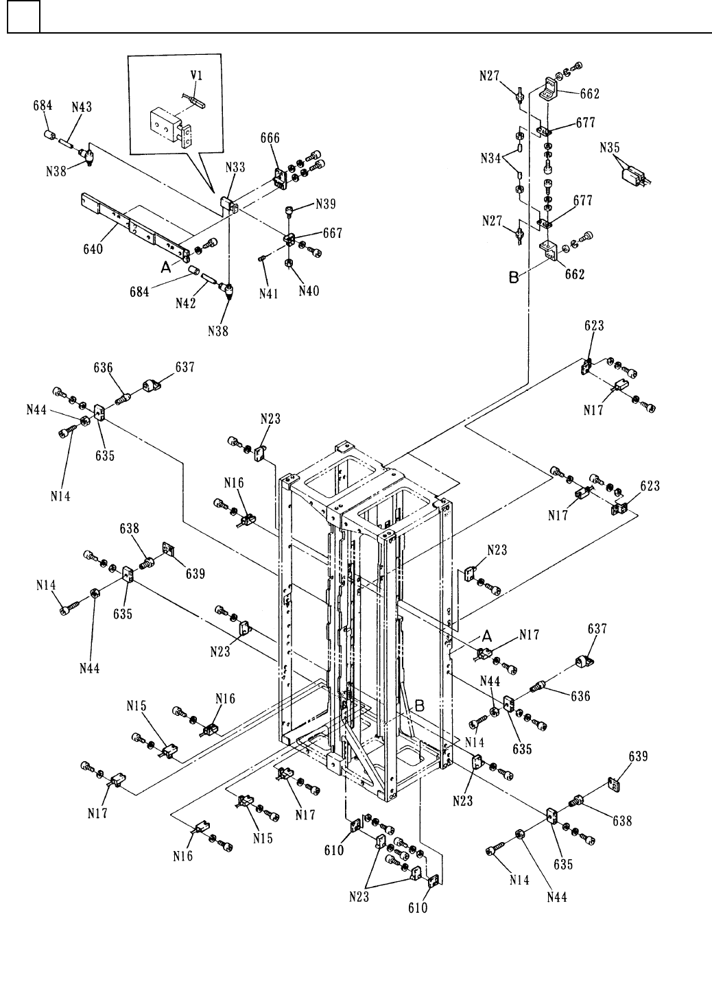
イラスト No. REF No. PART No. PART NAME REMAR KS Q'TY 3 トレイリフタ部 (80連3) TRAY LIFTER SECT.(FOR 80 COMP ONENT-3) 部 品 名 品 番 個数 備 考 610 2 1045951410 PLATE フ ゚レート 623 2 1045951423 BRACKET ブラケット 635 4 104595116901 PLATE(JOINT…

トレイリフタ部(80連3)
TRAY LIFTER SECT.(FOR 80 COMPONENT-3)
3
F10459-51-600-AB-3
M21

イラスト
No.
REF
No.
PART No.
PART NAME
REMARKS
Q'TY
3
トレイリフタ部(80連3)
TRAY LIFTER SECT.(FOR 80 COMPONENT-3)
部 品 名 品 番 個数
備 考
610 2 1045951410
PLATE フ
゚レート
623
2
1045951423
BRACKET ブラケット
635
4
104595116901
PLATE(JOINT) プレート(ジョイント)
636 2 1045951131
PIN(JOINT) ピ
ン(ジョイント)
637 2 104595113203
HOLDER(JOINT) ホルダ(シ
゙ョイント)
638
2
1045951133
PIN(JOINT) ピン(ジョイント)
639
2
1045951134
PLATE(JOINT) プレート(ジョイント)
640 1 104595153602
PLATE フ
゚レート
662 4 104595146201
BRACKET ブラケット
666
2
104595154901
PLATE プレート
667 2 104595205002
ARM アーム
677 4 1045951477
PLATE フ
゚レート
684
2
1045952086
MARK TUBE マークチューブ
N14
4
XVE8B85FY
HEX. SOCKET HEAD CAP BOLT ロッカクアナツキボルト M8X85,STEEL,Z.C.T
N15 2 N310P9141
SENSOR センサ P914-1
N16 3 N310P914C1
SENSOR センサ P914C-1
N17
5
N310P914A1
SENSOR センサ P914A-1
N23
6
N300V1051A5
SWITCH スイッチ V-105-1A5
N27 2 N310E32T11R
SENSOR センサ E32-T11R
N33 2 N401CXSL-905
CYLINDER シリンタ
゙
CXSL10-15-Z73S-X593
N34
2
N310E39F1
LENS UNIT レンズユニット E39-F1
N35
2
N310E3XNH11
AMPLIFIER FOR SENSOR アンプユニット E3X-NH11
N38 4 N406AS12-056
SPEED CONTROLLER スピ
ードコントローラ
AS1201F-M5-04S
N39 2 N531CF4UUA
CAM FOLLOWER カムフォロア CF4UU-A
N40
2
XNGNU4YFP
LOCK-NUT ロックナット M4,2-TYPE,STAINLESS,STEEL,
N41 2 XXE3C6FP
HEX. SOCKET SET SCREW ロッカクアナツキトメネジ M3X6,STEEL,P.C
N42 1 N4354UHY
TUBE チューフ
゙
30-04,YELLOW
N43
1
N4354UHK
TUBE チューブ 30-04,BLACK
N44
4
XNH16DFY
HEXAGON NUT ロッカクナット M16,1-TYPE,STEEL,Z.C.T
V 1 2 N401DZ73
SENSOR センサ D-Z73
M22
F10459-51-600-AB-3

トレイリフタ部(80連4)
TRAY LIFTER SECT.(FOR 80 COMPONENT-4)
3
F10459-51-600-AB-4
M23