MPAV2B Parts list(Mechanical20090625) - 第160页
トレイリフタ部( 80連4) TRAY LIFTER SECT.(FOR 80 COMP ONENT-4) 3 F10459-51-600-AB-4 M23

イラスト
No.
REF
No.
PART No.
PART NAME
REMARKS
Q'TY
3
トレイリフタ部(80連3)
TRAY LIFTER SECT.(FOR 80 COMPONENT-3)
部 品 名 品 番 個数
備 考
610 2 1045951410
PLATE フ
゚レート
623
2
1045951423
BRACKET ブラケット
635
4
104595116901
PLATE(JOINT) プレート(ジョイント)
636 2 1045951131
PIN(JOINT) ピ
ン(ジョイント)
637 2 104595113203
HOLDER(JOINT) ホルダ(シ
゙ョイント)
638
2
1045951133
PIN(JOINT) ピン(ジョイント)
639
2
1045951134
PLATE(JOINT) プレート(ジョイント)
640 1 104595153602
PLATE フ
゚レート
662 4 104595146201
BRACKET ブラケット
666
2
104595154901
PLATE プレート
667 2 104595205002
ARM アーム
677 4 1045951477
PLATE フ
゚レート
684
2
1045952086
MARK TUBE マークチューブ
N14
4
XVE8B85FY
HEX. SOCKET HEAD CAP BOLT ロッカクアナツキボルト M8X85,STEEL,Z.C.T
N15 2 N310P9141
SENSOR センサ P914-1
N16 3 N310P914C1
SENSOR センサ P914C-1
N17
5
N310P914A1
SENSOR センサ P914A-1
N23
6
N300V1051A5
SWITCH スイッチ V-105-1A5
N27 2 N310E32T11R
SENSOR センサ E32-T11R
N33 2 N401CXSL-905
CYLINDER シリンタ
゙
CXSL10-15-Z73S-X593
N34
2
N310E39F1
LENS UNIT レンズユニット E39-F1
N35
2
N310E3XNH11
AMPLIFIER FOR SENSOR アンプユニット E3X-NH11
N38 4 N406AS12-056
SPEED CONTROLLER スピ
ードコントローラ
AS1201F-M5-04S
N39 2 N531CF4UUA
CAM FOLLOWER カムフォロア CF4UU-A
N40
2
XNGNU4YFP
LOCK-NUT ロックナット M4,2-TYPE,STAINLESS,STEEL,
N41 2 XXE3C6FP
HEX. SOCKET SET SCREW ロッカクアナツキトメネジ M3X6,STEEL,P.C
N42 1 N4354UHY
TUBE チューフ
゙
30-04,YELLOW
N43
1
N4354UHK
TUBE チューブ 30-04,BLACK
N44
4
XNH16DFY
HEXAGON NUT ロッカクナット M16,1-TYPE,STEEL,Z.C.T
V 1 2 N401DZ73
SENSOR センサ D-Z73
M22
F10459-51-600-AB-3

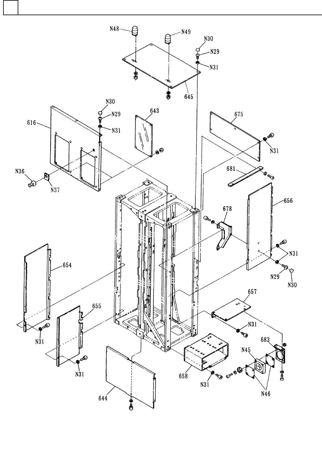
トレイリフタ部(80連4)
TRAY LIFTER SECT.(FOR 80 COMPONENT-4)
3
F10459-51-600-AB-4
M23

イラスト
No.
REF
No.
PART No.
PART NAME
REMARKS
Q'TY
3
トレイリフタ部(80連4)
TRAY LIFTER SECT.(FOR 80 COMPONENT-4)
部 品 名 品 番 個数
備 考
616 1 1045951416
COVER カハ
゙ー
643
2
1045951443
COVER カバー
644
1
1045951186
COVER カバー
645 1 1045951188
TOP COVER カハ
゙ー(TOP)
654 1 1045951454
SIDE COVER カバー(
SIDE)
655
1
1045951555
SIDE COVER カバー(SIDE)
656
1
104595145601
SIDE COVER カバー(SIDE)
657 1 1045951457
BRACKET フ
゙ラケット
658 1 1045951564
BRACKET ブラケット
675
1
1045951475
REAR COVER カバー(REAR)
678 1 1045951478
DUCT ダクト
681 1 1045951563
BRACKET フ
゙ラケット
683
1
1045951483
BRACKET ブラケット
N29
14
N986JBAM512
BOLT ボルト JB-AM5X12
N30 14 N986YYYY-814
CAP キャップ M5X12
N31 48 XWC5BFY
TOOTHED LOCK WASHER ハツキサ
゙ガネ
5,B-TYPE,STEEL,Z.C.T
N36
1
N306RPVK02
SWITCH スイッチ RPV/K02
N37
1
N306ZK299J1
INDICATING PLATE ヒョウジバン ZK-299J1
N45 1 N238ASE1-030
FAN WITH MOTOR ファンモータ ASE104519
N46 2 N238ASE18001
COVER(FAN) カハ
゙ー(ファン)
ASE18001
N48
1
N224LNQY-660
SIGNAL LIGHT シグナルライト LNQYG0000Z1
N49
1
N224LNQY-661
SIGNAL LIGHT シグナルライト LNQYG0000Z2
M24
F10459-51-600-AB-4