MPAV2B Parts list(Mechanical20090625) - 第163页
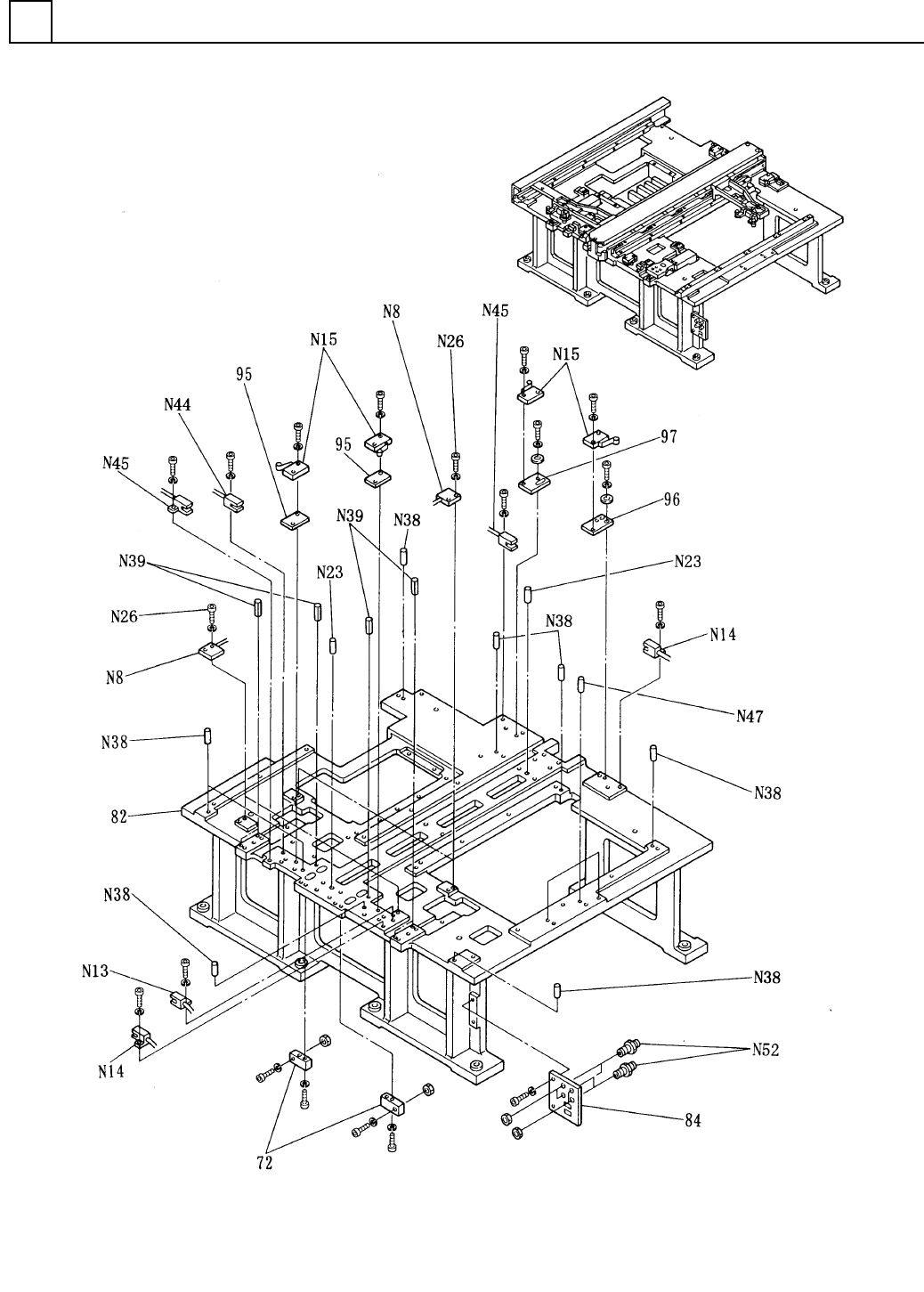
イラスト No. REF No. PART No. PART NAME REMAR KS Q'TY 4 トレイフ ゚レート 引出し部(後部 1) TRAY PLATE DRAWING SECT.(REAR -1) 部 品 名 品 番 個数 備 考 1 1045952000 TRAY PLATE DR AWING UNIT トレイフ ゚レートヒキダシユニット 72 2 1045952072 BLOCK ブロック 82 1 1…

トレイプレート引出し部(後部1)
TRAY PLATE DRAWING SECT.(REAR-1)
4
F10459-52-000-AL_A-1
M25

イラスト
No.
REF
No.
PART No.
PART NAME
REMARKS
Q'TY
4
トレイプレート引出し部(後部1)
TRAY PLATE DRAWING SECT.(REAR-1)
部 品 名 品 番 個数
備 考
1 1045952000
TRAY PLATE DRAWING UNIT トレイフ
゚レートヒキダシユニット
72
2
1045952072
BLOCK ブロック
82
1
104595208204
BRACKET ブラケット
84 1 1045952084
PLATE フ
゚レート
95 2 1045952095
PLATE プレート
96
1
1045952096
PLATE プレート
97
1
1045952097
PLATE プレート
N 8 4 N310P917C
SENSOR センサ P917C
N13 1 N310P914B1
SENSOR センサ P914B-1
N14
2
N310P914A1
SENSOR センサ P914A-1
N15 4 N300V1051A5
SWITCH スイッチ V-105-1A5
N23 2 N986MS615
PARALLEL PIN ヘイコウヒ
゚ン
MS6-15
N26
8
XVE2B5FP
HEX. SOCKET HEAD CAP BOLT ロッカクアナツキボルト M2X5,STEEL,P.C
N38
8
N986MS410
PARALLEL PIN ヘイコウピン MS4-10
N39 8 XPL2A6WVP
SPRING PIN スプリングピン 2X6,STAINLESS(SUS304),P.C
N44 1 N310P9141
SENSOR センサ P914-1
N45
2
N310P914C1
SENSOR センサ P914C-1
N47
3
N986MS610
PARALLEL PIN ヘイコウピン MS6-10
N52 4 N431KJE0400
FITTING ツギテ KJE04-00
M26
F10459-52-000-AL_A-1

トレイプレート引出し部(後部2)
TRAY PLATE DRAWING SECT.(REAR-2)
4
F10459-52-000-AL_A-2
M27