MPAV2B Parts list(Mechanical20090625) - 第168页
トレイプレート引 出し部(後部4) TRAY PLATE DRAWING SECT.(REAR -4) 4 F10459-52-000-AL_A -4 M31

イラスト
No.
REF
No.
PART No.
PART NAME
REMARKS
Q'TY
4
トレイプレート引出し部(後部3)
TRAY PLATE DRAWING SECT.(REAR-3)
部 品 名 品 番 個数
備 考
5 1 104595200503
ARM(RIGHT) アーム
(ライト)
6
4
1045952006
PIN ピン
9
2
104595200901
HOLDER ホルダ
20 1 104595202007
ARM(LEFT) アーム
(レフト)
30 1 104595203002
BASE(CLAMP) ベース(クランフ
゚)
31
2
104595203102
PLATE(CLAMP) プレート(クランプ)
33
1
104595203302
BASE(CLAMP) ベース(クランプ)
45 1 104595204504
VALVE ハ
゙ルブ
67 2 104595206701
LEVER レハ
゙ー
68
2
104595206801
LEVER レバー
71 1 104595207101
BRACKET ブラケット
73 4 1045952073
PIN ヒ
゚ン
80
1
104595208001
BASE ベース
93
2
1045952093
DOG FOR SENSOR センサドグ
94 2 1045952094
DOG FOR SENSOR センサドグ
N 1 4 N532CFS4
CAM FOLLOWER カムフォロア CFS4
N 2
4
N986WL635
SPRING バネ WL6-35
N 7
2
N513RSR1-566
LINEAR MOTION UNIT リニアモーションユニット RSR12WNUUC1+638LHM
N20 4 XNGNU4YFP
LOCK-NUT ロックナット M4,2-TYPE,STAINLESS,STEEL,
N31 9 XSN3+6FY
PAN HEAD SCREW ナヘ
゙コネジ
M3X6,+,STEEL,Z.C.T
N33
4
XNG4CFP
HEXAGON NUT ロッカクナット M4,3-TYPE,STEEL,P.C
N46
4
N310P917
AMPLIFIER アンプ P917
N49 1 N4354UHK
TUBE チューフ
゙
30-04,BLACK
M30
F10459-52-000-AL_A-3

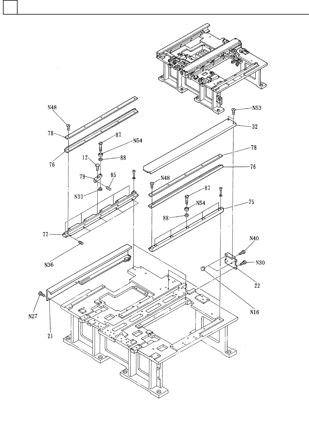
トレイプレート引出し部(後部4)
TRAY PLATE DRAWING SECT.(REAR-4)
4
F10459-52-000-AL_A-4
M31

イラスト
No.
REF
No.
PART No.
PART NAME
REMARKS
Q'TY
4
トレイプレート引出し部(後部4)
TRAY PLATE DRAWING SECT.(REAR-4)
部 品 名 品 番 個数
備 考
12 10 1045952012
PIN ヒ
゚ン
21
1
1045989239
SIDE COVER カバー(SIDE)
22
1
104595202201
STOPPER ストッパー
32 1 104595203204
COVER(BELT) カハ
゙ー(ベルト)
75 2 104595207501
RAIL(GUIDE) レール(カ
゙イド)
76
4
104595207601
RAIL レール
77
2
104595207701
RAIL(GUIDE) レール(ガイド)
78 4 1045952078
PLATE フ
゚レート
79 10 104595207901
LEVER レハ
゙ー
85
10
1040352106
SPRING バネ
87 20 1045952087
PIN ピン
88 20 1045952088
COLLAR カラー
N16
2
N986NSTD-711
STOPPER ストッパー(ウレタン) NSTD-UM-D10-L8-V5-T3
N27
2
XVEN4M6FPZ
BOLT ロッカクアナツキボタンボルト M4X6,STEEL,P.C
N30 2 XVEN5M8FPZ
HEX. SOCKET BUTTON HEAD BOL ロッカクアナツキボタンボルト M5X8,STEEL,P.C
N33 10 XNG4CFP
HEXAGON NUT ロッカクナット M4,3-TYPE,STEEL,P.C
N36
20
XXE4C6FP
HEX. SOCKET SET SCREW ロッカクアナツキトメネジ M4X6,STEEL,P.C
N40
2
XVEN4M15FPZ
HEX. SOCKET BUTTON HEAD BOL ロッカクアナツキボタンボルト M4X15,STEEL,P.C
N48 20 XSS3+10FY
FLUSH HEAD SCREW サラコネジ M3X10,+,STEEL,Z.C.T
N53 2 XSS3+6FY
FLUSH HEAD SCREW サラコネシ
゙
M3X6,+,STEEL,Z.C.T
N54
20
XLCNMR84ZZ
BALL BEARING ボールベアリング MR84ZZ
M32
F10459-52-000-AL_A-4