MPAV2B Parts list(Mechanical20090625) - 第27页
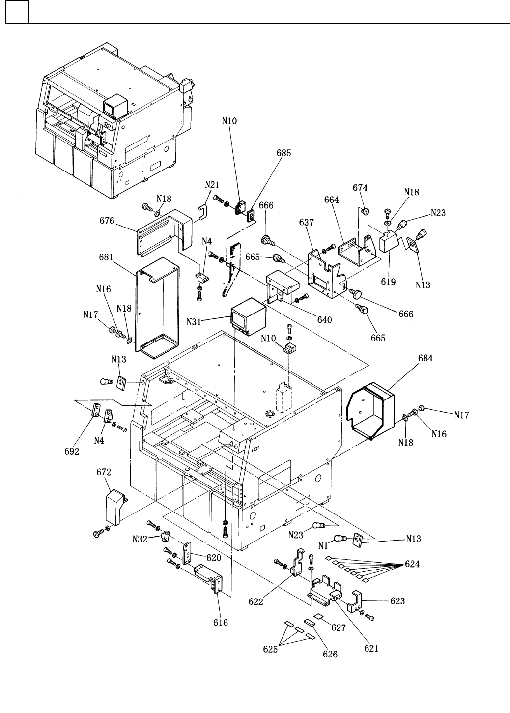
イラスト No. REF No. PART No. PART NAME REMAR KS Q'TY 2 カバー 部(共通部2) COVER SECT. (COMMON SECT.-2) 部 品 名 品 番 個数 備 考 616 1 104597161601 BRACKET フ ゙ラケット 619 1 104597161901 BOX ボックス 620 1 104597162001 PLATE プレート 621 1 104…

カバー部(共通部2)
COVER SECT.(COMMON SECT.-2)
2
F10459-71-600-AP-2
M7

イラスト
No.
REF
No.
PART No.
PART NAME
REMARKS
Q'TY
2
カバー部(共通部2)
COVER SECT.(COMMON SECT.-2)
部 品 名 品 番 個数
備 考
616 1 104597161601
BRACKET フ
゙ラケット
619
1
104597161901
BOX ボックス
620
1
104597162001
PLATE プレート
621 1 104590252101
BRACKET フ
゙ラケット
622 1 1045902522
BRACKET ブラケット
623
1
1044131035
BRACKET ブラケット
624
7
1044131036
CUSHION クッション
625 3 1044131037
CUSHION クッション
626 1 1044131038
CUSHION クッション
627
1
1044131040
CUSHION クッション
637 1 1045971637
BRACKET ブラケット
640 1 1045971640
BRACKET フ
゙ラケット
664
1
1045971664
BRACKET ブラケット
665
2
1045971665
PIN ピン
666 2 104590246601
KNOB ノブ
672 1 104597167201
COVER カハ
゙ー
674
1
1045902477
NUT ナット
676
1
104597167601
COVER カバー
681 1 104597168104
COVER カバー
684 1 1045971684
COVER(MOTOR) カハ
゙ー(MOTOR)
685
1
1045971685
SPACER スペーサ
692
1
1045971692
PLATE プレート
N 1 1 N306RPVK02
SWITCH スイッチ RPV/K02
N 4 2 N982TL1193
MAGNETIC CATCH マク
゙ネットキャッチ
TL-73S-1193
N10
2
N982TL1177
MAGNETIC CATCH マグネットキャッチ TL-71-1177
N13 3 N306ZK299J1
INDICATING PLATE ヒョウジバン ZK-299J1
N16 7 N986JBAM512
BOLT ホ
゙ルト
JB-AM5X12
N17
7
N986YYYY-814
CAP キャップ M5X12
N18
11
XWC5BFY
TOOTHED LOCK WASHER ハツキザガネ 5,B-TYPE,STEEL,Z.C.T
N21 1 N980A1042C6
DRAWER PULL トッテ A-1042-C-6
N23 2 N306RD11K10
SWITCH スイッチ RD-11/K10
N31
1
N900GPBM910K
VIDEO MONITOR ビデオモニタ GP-BM910K
N32
1
N982TL1789
MAGNETIC CATCH マグネットキャッチ TL-273-1789
M8
F10459-71-600-AP-2

カバー部(共通部3)
COVER SECT.(COMMON SECT.-3)
2
F10459-71-600-AP-3
M9