MPAV2B Parts list(Mechanical20090625) - 第31页
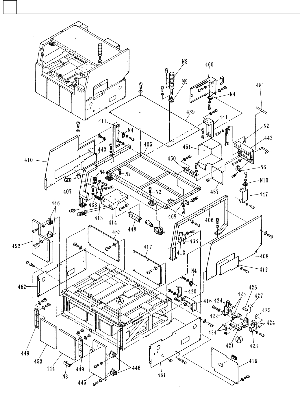
イラスト No. REF No. PART No. PART NAME REMAR KS Q'TY 2 カバー部( 1) COVER SECT. (1) 部 品 名 品 番 個数 備 考 1 1045902400 COVER UNIT カハ ゙ーユニット 405 1 1045902405 UPPER FRAME フレーム(アッパー) 406 1 1045902406 SIDE FRAME フレーム(SIDE) 407 1 …

カバー部(1)
COVER SECT.(1)
2
F10459-02-400-AD-1
M11

イラスト
No.
REF
No.
PART No.
PART NAME
REMARKS
Q'TY
2
カバー部(1)
COVER SECT.(1)
部 品 名 品 番 個数
備 考
1 1045902400
COVER UNIT カハ
゙ーユニット
405
1
1045902405
UPPER FRAME フレーム(アッパー)
406
1
1045902406
SIDE FRAME フレーム(SIDE)
407 1 1045902407
SIDE FRAME フレーム
(SIDE)
408 1 1045902408
SIDE COVER カバー(
SIDE)
410
1
104590241001
SIDE COVER カバー(SIDE)
411
1
1045902411
BRACKET ブラケット
412 1 1045902412
SIDE COVER カハ
゙ー(SIDE)
413 2 104418200403
BRACKET ブラケット
414
1
1045902414
COVER カバー
416 1 1045902416
BRACKET ブラケット
417 1 104590251701
COVER カハ
゙ー
418
1
1045902418
REAR COVER カバー(REAR)
420
1
1045902420
PLATE プレート
421 1 104590252101
BRACKET ブラケット
422 1 1045902522
BRACKET フ
゙ラケット
423
1
1044131035
BRACKET ブラケット
424
7
1044131036
CUSHION クッション
425 3 1044131037
CUSHION クッション
426 1 1044131038
CUSHION クッション
427
1
1044131040
CUSHION クッション
438
2
1044182003
MAGNET マグネット
439 1 1045902439
TOP COVER カハ
゙ー(TOP)
441 1 1045902441
COVER カハ
゙ー
442
1
104597144201
REAR COVER カバー(REAR)
443 1 1045902443
COVER カバー
444 1 1045902444
DOOR ト
゙ア
445
1
1045902445
RIGHT DOOR ドア(RIGHT)
446
4
1045902446
HINGE ヒンジ
447 1 1045989211
COVER カバー
448 1 104590205003
BRACKET フ
゙ラケット
449
2
1045902009
HINGE ヒンジ
450
1
1045902034
HINGE ヒンジ
451 1 104590245101
COVER(MOTOR) カバー(MOTOR)
452 1 1045902452
LEFT DOOR ドア(LEFT
)
453
1
1045902453
DOOR ドア
457
1
1045902666
REAR COVER カバー(REAR)
460 1 1045902460
COVER カハ
゙ー
461 1 1045902461
SIDE COVER カバー(
SIDE)
462
1
1045902462
SIDE COVER カバー(SIDE)
463 1 1045902463
COVER カバー
469 1 1045902469
BRACKET フ
゙ラケット
481
1
1045907820
NUMBER LABEL ナンバーラベル
N 2
3
N986UNST640
BOLT ボルト UNST6-40
N 3 1 N986P18Y-023
INDICATING PLATE パナソニックマーク P-18,SCREW-TYPE
N 4 4 N982TL1193
MAGNETIC CATCH マク
゙ネットキャッチ
TL-73S-1193
N 6
1
N300ACTU-010
ACTUATOR アクチュエータ ACTUATORB1
N 8
1
N224ST30-298
SIGNAL LIGHT シグナルライト ST-302-200L,R.Y.G
N 9 1 N224SZ010
STAND スタンド SZ-010
N10 1 N982TL1177
MAGNETIC CATCH マク
゙ネットキャッチ
TL-71-1177
M12
F10459-02-400-AD-1

カバー部(1)
COVER SECT.(1)
2
F10459-02-400-AD-2
M13