MPAV2B Parts list(Mechanical20090625) - 第34页
カバー部 (2) COVER SECT. (2) 2 F10459-02-400-AD-3 M15

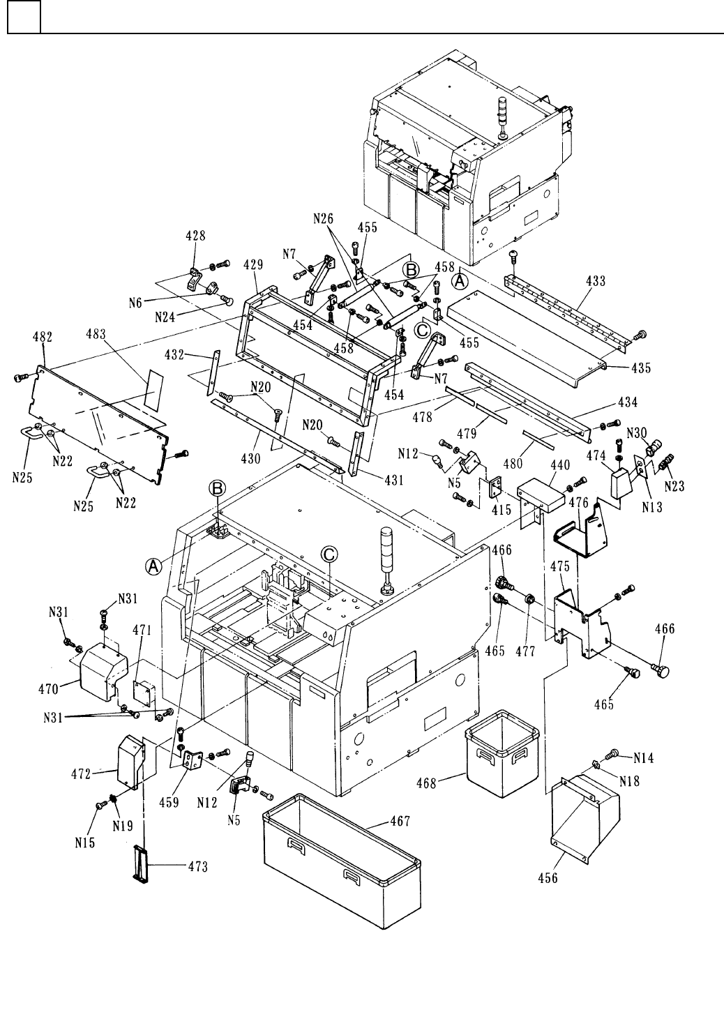
イラスト
No.
REF
No.
PART No.
PART NAME
REMARKS
Q'TY
2
カバー部(1)
COVER SECT.(1)
部 品 名 品 番 個数
備 考
N11 1 N982TM5006
STAY ステー TM-209-5006
N13
2
N306ZK299J1
INDICATING PLATE ヒョウジバン ZK-299J1
N14
26
XST5+12FY
TRUSS HEAD SCREW トラスコネジ M5X12,+,STEEL,Z.C.T
N15 30 XST4+8FY
TRUSS HEAD SCREW トラスコネシ
゙
M4X8,+,STEEL,Z.C.T
N16 36 N986JBAM512
BOLT ボ
ルト
JB-AM5X12
N17
36
N986YYYY-814
CAP キャップ M5X12
N18
52
XWC5BFY
TOOTHED LOCK WASHER ハツキザガネ 5,B-TYPE,STEEL,Z.C.T
N19 30 XWC4BFY
TOOTHED LOCK WASHER ハツキサ
゙ガネ
4,B-TYPE,STEEL,Z.C.T
N21 2 N980A1042C6
DRAWER PULL トッテ A-1042-C-6
N23
1
N306RD11K10
SWITCH スイッチ RD-11/K10
N24 2 XSS5+12FY
FLUSH HEAD SCREW サラコネジ M5X12,+,STEEL,Z.C.T
N27 1 N911ML24
LIGHTING UNIT ショウメイユニット ML-24
N28
2
N306TM28-008
SWITCH スイッチ TM-2-8221/EZ/S-N
N29
1
N348KG012
BUSHING FOR WIRING ジザイブッシュ KG-012
N30 2 N306RPVK02
SWITCH スイッチ RPV/K02
V 1 3 N224D30-258
LAMP ランフ
゚
D03001006A
V 2
1
N224STYY-168
GLOBE グローブ ST-TYPE,RED
V 3
1
N224STYY-156
GLOBE グローブ ST-TYPE,YELLOW
V 4 1 N224STYY-158
GLOBE グローブ ST-TYPE,GREEN
V 5 1 N911M296-012
LAMP ランフ
゚
M2964 24V25W
M14
F10459-02-400-AD-2

カバー部(2)
COVER SECT.(2)
2
F10459-02-400-AD-3
M15

イラスト
No.
REF
No.
PART No.
PART NAME
REMARKS
Q'TY
2
カバー部(2)
COVER SECT.(2)
部 品 名 品 番 個数
備 考
1 1045902400
COVER UNIT カハ
゙ーユニット
415
1
1045902415
PLATE プレート
428
1
1045902564
BRACKET ブラケット
429 1 1045902429
BRACKET フ
゙ラケット
430 1 1045902430
BRACKET ブラケット
431
1
1045902431
BRACKET ブラケット
432
1
1045902432
BRACKET ブラケット
433 1 1045902536
HINGE ヒンシ
゙
434 1 104590243401
GUARD ガ
ード
435
1
1045902435
FRONT COVER カバー(FRONT)
440 1 1045902440
BRACKET ブラケット
454 2 1045902454
BRACKET フ
゙ラケット
455
2
1045902455
BRACKET ブラケット
456
1
1045902456
COVER(MOTOR) カバー(MOTOR)
458 4 102377215201
PIN ピン
459 1 1045902459
BRACKET フ
゙ラケット
465
2
1045289853
PIN ピン
466
2
104590246601
KNOB ノブ
467 1 1045971667
DUST BOX ダストボックス
468 1 1045971668
DUST BOX ダ
ストボックス
470
1
1045902470
FRONT COVER カバー(FRONT)
471
1
104590902001
COVER カバー
472 1 1045902472
COVER カハ
゙ー
473 1 1045902667
BRACKET フ
゙ラケット
474
1
1045902474
BOX ボックス
475 1 1045902475
BRACKET ブラケット
476 1 1045902476
BRACKET フ
゙ラケット
477
1
1045902477
NUT ナット
478
1
1045907727
NUMBER LABEL ナンバーラベル
479 1 1045907728
NUMBER LABEL ナンバーラベル
480 1 1045907621
NUMBER LABEL ナンハ
゙ーラベル
482
1
1045902482
FRONT COVER カバー(FRONT)
483
2
1045902659
LABEL ラベル
N 5 2 N300AZ16-027
SWITCH スイッチ AZ16-03ZVRK(5N)
N 6 1 N300ACTU-010
ACTUATOR アクチュエータ ACTUATORB1
N 7
2
N980B14603
STAY ステー B-1460-3
N12
2
N30025011
CONNECTOR コネクタ 250/11
N13 1 N306ZK299J1
INDICATING PLATE ヒョウシ
゙バン
ZK-299J1
N14 4 XST5+12FY
TRUSS HEAD SCREW トラスコネシ
゙
M5X12,+,STEEL,Z.C.T
N15
28
XST4+8FY
TRUSS HEAD SCREW トラスコネジ M4X8,+,STEEL,Z.C.T
N18 14 XWC5BFY
TOOTHED LOCK WASHER ハツキザガネ 5,B-TYPE,STEEL,Z.C.T
N19 28 XWC4BFY
TOOTHED LOCK WASHER ハツキサ
゙ガネ
4,B-TYPE,STEEL,Z.C.T
N20
9
XSS4+8FT
FLUSH HEAD SCREW サラコネジ M4X8,+,STEEL,T.T.C
N22
4
N982THA3465
WASHER ザガネ THA-271-2(3465)
N23 1 N306RD11K10
SWITCH スイッチ RD-11/K10
N24 2 XSS5+12FY
FLUSH HEAD SCREW サラコネシ
゙
M5X12,+,STEEL,Z.C.T
N25
2
N982THA3425
DRAWER PULL トッテ THA-216-5(3425)
N26
2
N98630P2
GAS SPRING ガススプリング 30P2
N30 1 N306RPVK02
SWITCH スイッチ RPV/K02
N31 7 XST4+8FY
TRUSS HEAD SCREW トラスコネシ
゙
M4X8,+,STEEL,Z.C.T
M16
F10459-02-400-AD-3