MPAV2B Parts list(Mechanical20090625) - 第42页
X-Yテーブル部 (Y軸本体部) X-Y TABLE S ECT.(Y-AXIS BASE S ECT.) 3 F10459-04-250-AG M23

イラスト
No.
REF
No.
PART No.
PART NAME
REMARKS
Q'TY
3
X-Yテーブル部(X軸本体部)
X-Y TABLE SECT.(X-AXIS BASE SECT.)
部 品 名 品 番 個数
備 考
1 1045904150
X-Y TABLE UNIT X-Y
テーブルユニット
152
1
104590415204
LINEAR MOTION UNIT リニアモーションユニット
153
1
1045904153
BRACKET ブラケット
155 1 104590410501
COLLAR カラー
156 1 1045904106
BEARING WEIGHT ベアリンク
゙ウエイト
157
4
515141000301
RUBBER ゴム CK-3410 (HS40)
158
1
1045904108
DOG FOR SENSOR センサドグ
159 1 1045904109
DOG FOR SENSOR センサト
゙グ
160 4 1045904110
PLATE(SENSOR) プレート
(センサ)
161
1
1045904161
RAIL(SENSOR) レール(センサ)
162 1 1045904162
RAIL(SENSOR) レール(センサ)
165 2 1045904115
PLATE フ
゚レート
167
1
104590411707
GUIDE(CABLE) ガイド(ケーブル)
169
1
104590411902
DOG FOR SENSOR センサドグ
170 1 1045904170
COUPLING カップリング
172 1 104590417202
PLATE フ
゚レート
173
1
1045904123
CAP キャップ
175
4
1045904175
COTTER コッタ
178 1 1045904178
BRACKET ブラケット
179 1 104590417902
BRACKET フ
゙ラケット
180
1
104590418002
BLOCK ブロック
181
1
104590418102
PLATE プレート
183 1 104590418303
BRACKET(MOTOR) ブラケット
(モータ)
184 1 104590418401
BRACKET フ
゙ラケット
185
6
1045904185
SHEET シート
186 1 1045904186
BLOCK ブロック
187 1 1045904854
BRACKET(SENSOR) ブラケット
(センサ)
188
2
1045904188
PLATE プレート
189
1
1045904189
DOG FOR SENSOR センサドグ
190 1 104590419003
PLATE プレート
191 1 1045904191
NUT PLATE ナットフ
゚レート
N 1
1
XLCN6905ZZCM
BEARING ボールベアリング 6905ZZCM
N 2
1
XLLN7204-046
BALL BEARING ボールベアリング 7204ADFCP10
N 3 1 MDM102A4C
MOTOR モータ MDM102A4C
N 4 1 XNRNFU04SS
LOCK-NUT ロックナット FU04SS
N 5
2
N986MS615
PARALLEL PIN ヘイコウピン MS6-15
N 6
1
XUA42FP
RETAINING RING C-TYPE, CORE C ガタアナヨウトメワ 42,STEEL,P.C
N 7 1 N312TLW3MC1
SENSOR センサ TL-W3MC1
N 8 2 N312TLW3MC2
SENSOR センサ TL-W3MC2
N 9
1
N312TLW3MC25
SENSOR センサ TL-W3MC25
N10 2 N300D4C1232
SWITCH スイッチ D4C-1232
N11 1 N656L1DA-033
SCALE スケール LIDA109
N12
1
N903L1DA17C
MEASURING UNIT メジャーリングユニット LIDA17(C)
N14
7
XVEN3M5FPZ
BOLT ロッカクアナツキボタンボルト M3X5,STEEL,P.C
N17 6 XXE4C16FP
HEX. SOCKET SET SCREW ロッカクアナツキトメネジ M4X16,STEEL,P.C
N18 1 XXE4C3FP
HEX. SOCKET SET SCREW ロッカクアナツキトメネシ
゙
M4X3,STEEL,P.C
N22
2
XXE3C8FP
HEX. SOCKET SET SCREW ロッカクアナツキトメネジ M3X8,STEEL,P.C
N23
2
N986MS310
PARALLEL PIN ヘイコウピン MS3-10
N24 1 N310P9211
SENSOR フォトマイクロセンサ P921-1
N25 1 N643W251-177
BALL SCREW ボ
ールネジ
W2512-201P-C5Z20
M22
F10459-04-150-AF

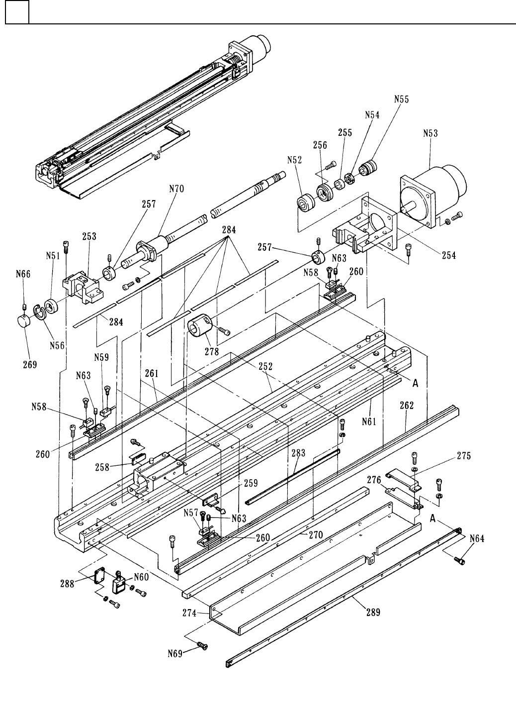
X-Yテーブル部(Y軸本体部)
X-Y TABLE SECT.(Y-AXIS BASE SECT.)
3
F10459-04-250-AG
M23

イラスト
No.
REF
No.
PART No.
PART NAME
REMARKS
Q'TY
3
X-Yテーブル部(Y軸本体部)
X-Y TABLE SECT.(Y-AXIS BASE SECT.)
部 品 名 品 番 個数
備 考
1 1045904250
X-Y TABLE UNIT X-Y
テーブルユニット
252
2
104590425203
LINEAR MOTION UNIT リニアモーションユニット
253
2
1045904153
BRACKET ブラケット
254 2 104590425403
BRACKET(MOTOR) ブ
ラケット(モータ)
255 2 104590410501
COLLAR カラー
256
2
1045904106
BEARING WEIGHT ベアリングウエイト
257
8
515141000301
RUBBER ゴム CK-3410 (HS40)
258 2 1045904108
DOG FOR SENSOR センサト
゙グ
259 2 1045904109
DOG FOR SENSOR センサト
゙グ
260
6
1045904110
PLATE(SENSOR) プレート(センサ)
261 2 1045904261
RAIL(SENSOR) レール(センサ)
262 2 1045904262
RAIL(SENSOR) レール
(センサ)
269
2
1045904123
CAP キャップ
270
1
104590427001
SPACER スペーサ
274 1 104590422403
GUIDE(CABLE) ガイド(ケーブル)
275 1 1045904225
BRACKET フ
゙ラケット
276
1
1045904226
BRACKET ブラケット
278
2
104590427801
STOPPER ストッパー
283 1 104590428301
DOG FOR SENSOR センサドグ
284 12 1045904185
SHEET シート
288
4
1045904188
PLATE プレート
289
2
104590419003
PLATE プレート
N51 2 XLCN6905ZZCM
BEARING ボールヘ
゙アリング
6905ZZCM
N52 2 XLLN7204-046
BALL BEARING ボールヘ
゙アリング
7204ADFCP10
N53
2
MDM152A4C
MOTOR モータ MDM152A4C
N54 2 XNRNFU04SS
LOCK-NUT ロックナット FU04SS
N55 2 N644N1722
COUPLING カッフ
゚リング
N-17-22
N56
2
XUA42FP
RETAINING RING C-TYPE, CORE C ガタアナヨウトメワ 42,STEEL,P.C
N57
2
N312TLW3MC1
SENSOR センサ TL-W3MC1
N58 4 N312TLW3MC2
SENSOR センサ TL-W3MC2
N59 2 N312TLW3MC25
SENSOR センサ TL-W3MC25
N60
4
N300D4C1232
SWITCH スイッチ D4C-1232
N61
2
N656L1DA-033
SCALE スケール LIDA109
N63 10 XXE4C16FP
HEX. SOCKET SET SCREW ロッカクアナツキトメネジ M4X16,STEEL,P.C
N64 14 XVEN3M5FPZ
BOLT ロッカクアナツキホ
゙タンボルト
M3X5,STEEL,P.C
N66
2
XXE4C3FP
HEX. SOCKET SET SCREW ロッカクアナツキトメネジ M4X3,STEEL,P.C
N69
7
N986YYYY-B53
BOLT ロッカクアナツキサラボルト M4X25
N70 2 N643W251-177
BALL SCREW ホ
゙ールネジ
W2512-201P-C5Z20
M24
F10459-04-250-AG