MPAV2B Parts list(Mechanical20090625) - 第53页
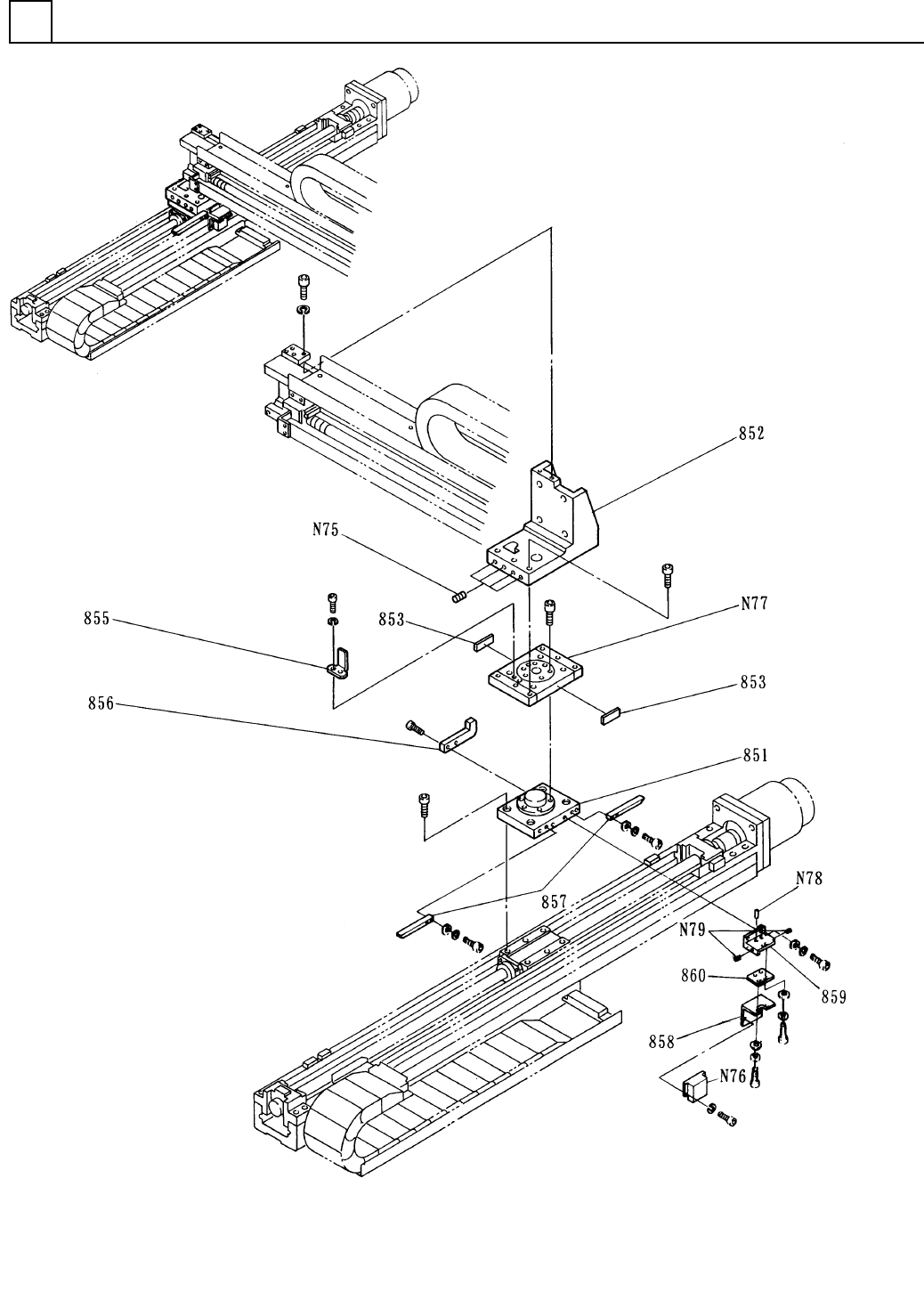
イラスト No. REF No. PART No. PART NAME REMAR KS Q'TY 3 X-Yテーブル部 (連結部L<移動側 >) X-Y TABLE S ECT.(JOINT SECT.-L <MOVING SIDE> ) 部 品 名 品 番 個数 備 考 1 1045904850 JOINT UNIT レンケツユニット 851 1 104590480103 BASE(JOINT) …

X-Yテーブル部(連結部L<移動側>)
X-Y TABLE SECT.(JOINT SECT.-L<MOVING SIDE>)
3
F10459-04-850-AA
M33

イラスト
No.
REF
No.
PART No.
PART NAME
REMARKS
Q'TY
3
X-Yテーブル部(連結部L<移動側>)
X-Y TABLE SECT.(JOINT SECT.-L<MOVING SIDE>)
部 品 名 品 番 個数
備 考
1 1045904850
JOINT UNIT レンケツユニット
851
1
104590480103
BASE(JOINT) ベース(ジョイント)
852
1
104590470201
BRACKET(JOINT) ブラケット(ジョイント)
853 2 1045904853
RUBBER コ
゙ム
855 1 1045904855
DOG FOR SENSOR センサト
゙グ
856
1
104590485602
STOPPER ストッパー
857
2
1045904264
DOG FOR SENSOR センサドグ
858 1 104590428501
BRACKET フ
゙ラケット
859 1 104590428602
BRACKET ブラケット
860
1
104590428701
PLATE プレート
N75 4 XXE5C6FP
HEX. SOCKET SET SCREW ロッカクアナツキトメネジ M5X6,STEEL,P.C
N76 1 N903L1DA17C
MEASURING UNIT メジ
ャーリングユニット
LIDA17(C)
N77
1
N501ZB33-034
BEARING ベアリング ZB3326CRWCRBS
N78
2
N986MS310
PARALLEL PIN ヘイコウピン MS3-10
N79 2 XXE3C8FP
HEX. SOCKET SET SCREW ロッカクアナツキトメネジ M3X8,STEEL,P.C
M34
F10459-04-850-AA

ローダ・アンローダ(共通部)
LOADER & UNLOADER(COMMON SECT.)
4
F10997-05-720-AM
M35