MPAV2B Parts list(Mechanical20090625) - 第54页
ローダ・アンロー ダ(共通部) LOADER & UN LOADER(COMMON SECT .) 4 F10997-05-720-AM M35

イラスト
No.
REF
No.
PART No.
PART NAME
REMARKS
Q'TY
3
X-Yテーブル部(連結部L<移動側>)
X-Y TABLE SECT.(JOINT SECT.-L<MOVING SIDE>)
部 品 名 品 番 個数
備 考
1 1045904850
JOINT UNIT レンケツユニット
851
1
104590480103
BASE(JOINT) ベース(ジョイント)
852
1
104590470201
BRACKET(JOINT) ブラケット(ジョイント)
853 2 1045904853
RUBBER コ
゙ム
855 1 1045904855
DOG FOR SENSOR センサト
゙グ
856
1
104590485602
STOPPER ストッパー
857
2
1045904264
DOG FOR SENSOR センサドグ
858 1 104590428501
BRACKET フ
゙ラケット
859 1 104590428602
BRACKET ブラケット
860
1
104590428701
PLATE プレート
N75 4 XXE5C6FP
HEX. SOCKET SET SCREW ロッカクアナツキトメネジ M5X6,STEEL,P.C
N76 1 N903L1DA17C
MEASURING UNIT メジ
ャーリングユニット
LIDA17(C)
N77
1
N501ZB33-034
BEARING ベアリング ZB3326CRWCRBS
N78
2
N986MS310
PARALLEL PIN ヘイコウピン MS3-10
N79 2 XXE3C8FP
HEX. SOCKET SET SCREW ロッカクアナツキトメネジ M3X8,STEEL,P.C
M34
F10459-04-850-AA

ローダ・アンローダ(共通部)
LOADER & UNLOADER(COMMON SECT.)
4
F10997-05-720-AM
M35

イラスト
No.
REF
No.
PART No.
PART NAME
REMARKS
Q'TY
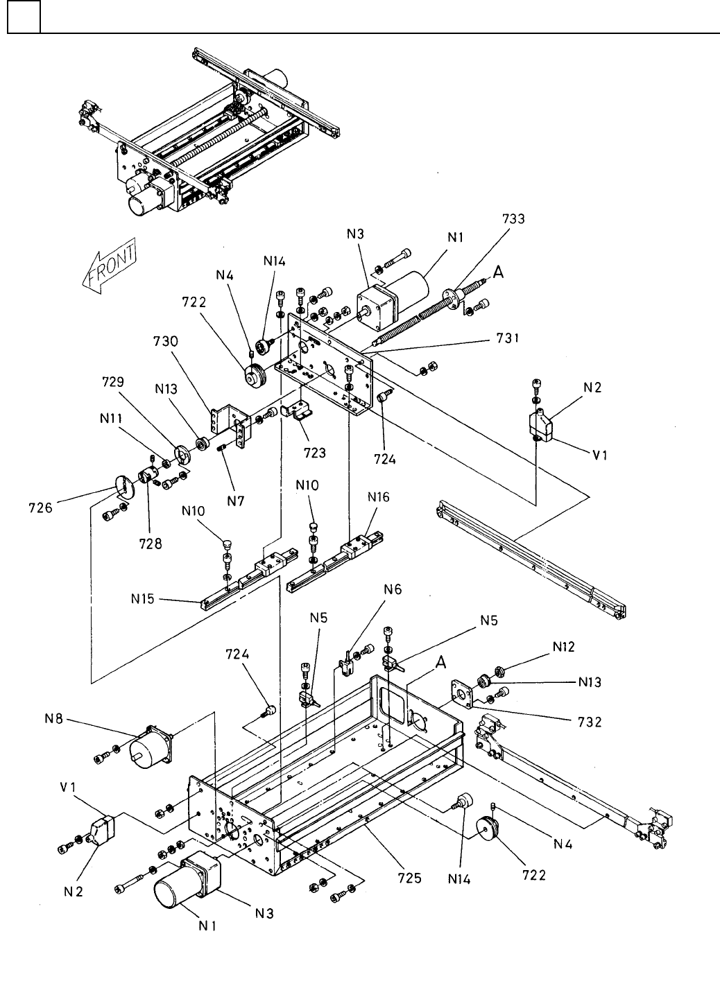
4
ローダ・アンローダ(共通部)
LOADER & UNLOADER(COMMON SECT.)
部 品 名 品 番 個数
備 考
1 1099705720
LOADER & UNLOADER UNIT ロータ
゙アンローダユニット
722
2
109970570201
PULLEY プーリー
723
1
109970579301
DOG FOR SENSOR センサドグ
724 4 1999504201
PIN ヒ
゚ン
725 1 109970572512
FRAME フレーム
726
1
109970571004
PLATE プレート
728
1
109970570902
COUPLING カップリング
729 1 109970571202
COVER(BEARING) カハ
゙ー(ベアリング)
730 1 109970571104
BRACKET ブラケット
731
1
109970579107
BRACKET(LEFT) ブラケット(LEFT)
732 1 109970570603
PLATE プレート
733 1 1099705733
BALL SCREW ボ
ールネジ
N 1
2
M6RA4G4L
MOTOR モータ M6RA4G4L
N 2
2
M0PC3917
CAP FOR CAPACITOR コンデンサキャップ MOPC3917
N 3 2 M6GA7.5M
GEAR HEAD ギヤーヘッド M6GA7.5M
N 4 2 XXE4C5FP
HEX. SOCKET SET SCREW ロッカクアナツキトメネシ
゙
M4X5,STEEL,P.C
N 5
3
N310P914
SENSOR フォトマイクロセンサ P914
N 6
1
N310P914A
SENSOR フォトマイクロセンサ P914A
N 7 2 XPL4B10WFW
SPRING PIN スプリングピン 4X10,STEEL
N 8 1 N606PH26601B
MOTOR モータ PH266-01B
N10
18
N513C4
CAP キャップ C4
N11
1
N560LR81.0
WASHER ザガネ LR8-1.0
N12 1 XNRNFUN008SS
LOCK-NUT ロックナット FUN-008-SS
N13 2 XLCNF608ZZ
BALL BEARING ボールヘ
゙アリング
F608ZZ
N14
4
N648MB023000
PULLEY プーリー MB023000
N15 1 N513GSR1-797
LINEAR MOTION UNIT リニアモーションユニット GSR15T1UUE+500L(A)
N16 1 N513GSR1-798
LINEAR MOTION UNIT リニアモーションユニット GSR15T1UUE+500L(B)
V 1
2
MZAX040
CAPACITOR コンデンサ MZAX040
M36
F10997-05-720-AM