MPAV2B Parts list(Mechanical20090625) - 第63页
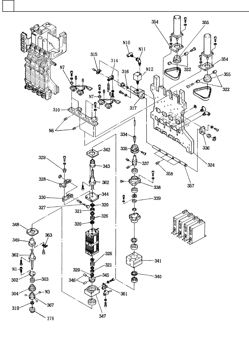
イラスト No. REF No. PART No. PART NAME REMAR KS Q'TY 5 ヘッド 駆動部(1) HEAD DRIVIN G SECT.(1) 部 品 名 品 番 個数 備 考 375 1 104590937501 BRACKET フ ゙ラケット 376 1 1045909376 BRACKET ブラケット 377 1 1045909377 LABEL ラベル 378 2 1045909378…

ヘッド駆動部(1)
HEAD DRIVING SECT.(1)
5
F10459-09-300-AV-2
M43

イラスト
No.
REF
No.
PART No.
PART NAME
REMARKS
Q'TY
5
ヘッド駆動部(1)
HEAD DRIVING SECT.(1)
部 品 名 品 番 個数
備 考
375 1 104590937501
BRACKET フ
゙ラケット
376
1
1045909376
BRACKET ブラケット
377
1
1045909377
LABEL ラベル
378 2 1045909378
PAD ハ
゚ッド
N 1 6 XVE25B6FP
HEX. SOCKET HEAD CAP BOLT ロッカクアナツキホ
゙ルト
M2.5X6,STEEL,P.C
N 3
6
N506D3
STEEL BALL コウキュウ D3
N 4
4
N431KJY0601S
FITTING ツギテ KJY06-01S
N 7 16 XWE3FP
ROUND PLAIN WASHER コカ
゙カマルヒラザガネ
3,STEEL,P.C
N 8 5 XVE4B60FP
HEX. SOCKET HEAD CAP BOLT ロッカクアナツキホ
゙ルト
M4X60,STEEL,P.C
N 9
2
XLC6902ZZ
BALL BEARING ボールベアリング 6902ZZ
N15 4 XVE2B3FP
HEX. SOCKET HEAD CAP BOLT ロッカクアナツキボルト M2X3,STEEL,P.C
N16 2 N310P917
AMPLIFIER アンフ
゚
P917
N18
1
N310P917B
SENSOR センサ P917B
N19
2
XUC2FP
RETAINING RING E-TYPE E ガタトメワ 2,STEEL,P.C
N20 2 N9865534
SPRING バネ 5534
N23 2 XVEN5M8FPZ
HEX. SOCKET BUTTON HEAD BOL ロッカクアナツキホ
゙タンボルト
M5X8,STEEL,P.C
N25
9
N310P9141
SENSOR センサ P914-1
N28
4
XLCN6804ZZ
BEARING ボールベアリング 6804ZZ
N29 2 XUB20FP
RETAINING RING C-TYPE C ガタジクヨウトメワ 20,STEEL,P.C
N30 16 XXE3C4FP
HEX. SOCKET SET SCREW ロッカクアナツキトメネシ
゙
M3X4,STEEL,P.C
N31
2
N624CSF1-033
REDUCTION GEAR ゲンソクキ CSF-14-50-2A-R-SP
N32
2
XUB25FP
RETAINING RING C-TYPE, SHAF C ガタジクヨウトメワ 25,STEEL,P.C
N33 4 XLCN6805ZZ
BALL BEARING ボールヘ
゙アリング
6805ZZ
N34 8 XVE3B8VW
HEX. SOCKET HEAD CAP BOLT ロッカクアナツキホ
゙ルト
M3X8-A2-70
N35
2
N608N608-002
MOTOR モータ N608X0379C
N36 2 XLCN6904ZZCM
BALL BEARING ボールベアリング 6904ZZCM
N40 2 N903MSS9-017
MEASURING UNIT メジ
ャーリングユニット
MSS976R-903
N42
1
N9864SQ45
SPACER スペーサ 4SQ-45
N43
2
N431KQU0608
FITTING ツギテ KQU06-08
N45 2 XNG3AFP
HEXAGON NUT ロッカクナット M3,1-TYPE,STEEL,P.C
N47 22 XPJ4A10FR
PARALLEL PIN ヘイコウヒ
゚ン
4X10,m6A,STEEL,HARDENING
N48
6
N55597LC-019
PACKING パッキン 97LC006A4
N51
1
XSS2+4FY
FLUSH HEAD SCREW サラコネジ M2X4,+,STEEL,Z.C.T
N52 1 N310P917F
SENSOR センサ P917F
N54 1 N4354UHK
TUBE チューフ
゙
30-04,BLACK
N55
1
N4356UHK
TUBE チューブ 30-06,BLACK
N56
2
N431PFM6M
PLUG プラグ PF-M6M
N57 4 N447DP220MS
SENSOR センサ DP2-20-MS
N58 10 XVE4B70FP
HEX. SOCKET HEAD CAP BOLT ロッカクアナツキホ
゙ルト
M4X70,STEEL,P.C
N59
1
N986HMWT-772
ADHESIVE TAPE ネンチャクテープ HMW-TAP-WER NO3
V 1 1 N415VVQ1-281
MANIFOLD マニホールド VVQ100U-1-50-04-X102
V 2 4 N41110VQ-651
SOLENOID VALVE ソレノイト
゙バルブ
10-VQ110U-M5
V 3
4
N431KJS06M5
FITTING ハーフユニオン KJS06-M5
V 4
1
N431KJS0601S
FITTING ツギテ KJS06-01S
M44
F10459-09-300-AV-2

ヘッド駆動部(2)
HEAD DRIVING SECT.(2)
5
F10459-09-300-AV-3
M45