MPAV2B Parts list(Mechanical20090625) - 第77页
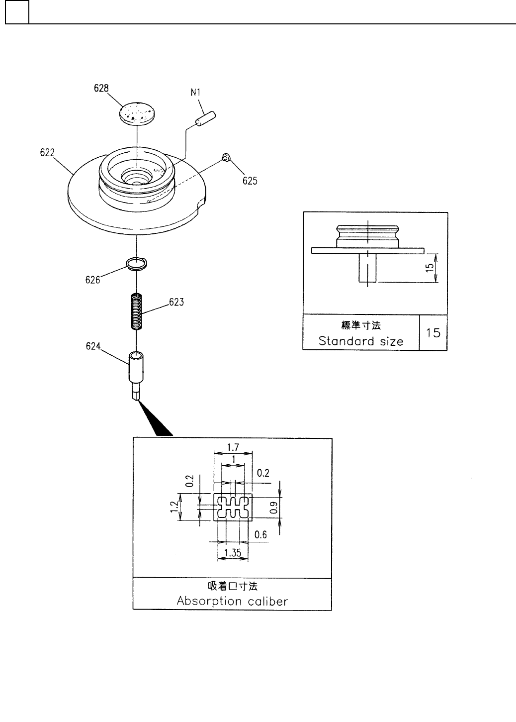
イラスト No. REF No. PART No. PART NAME REMAR KS Q'TY 7 ノズル部( S) NOZZLE SECT .(S) 部 品 名 品 番 個数 備 考 1 1047008620 NOZZLE UNIT ノス ゙ルユニット 622 1 104590801210 FLANGE フランジ 623 1 1081709890 SPRING バネ 624 1 104590801406 NOZZL…

ノズル部(S)
NOZZLE SECT.(S)
7
F10470-08-620-AH
M57

イラスト
No.
REF
No.
PART No.
PART NAME
REMARKS
Q'TY
7
ノズル部(S)
NOZZLE SECT.(S)
部 品 名 品 番 個数
備 考
1 1047008620
NOZZLE UNIT ノス
゙ルユニット
622
1
104590801210
FLANGE フランジ
623
1
1081709890
SPRING バネ
624 1 104590801406
NOZZLE(S) ノス
゙ル(S)
625 1 1045908015
PIN(GUIDE) ピン(カ
゙イド)
626
1
1045908019
RING リング
628
1
1045908018
FILTER フィルタ
N 1 1 XPJ2A6FW
PARALLEL PIN ヘイコウヒ
゚ン
2X6,m6A,STEEL
M58
F10470-08-620-AH

ノズル部
NOZZLE SECT.
7
F10470-08-630-AF
M59