MPAV2B Parts list(Mechanical20090625) - 第83页
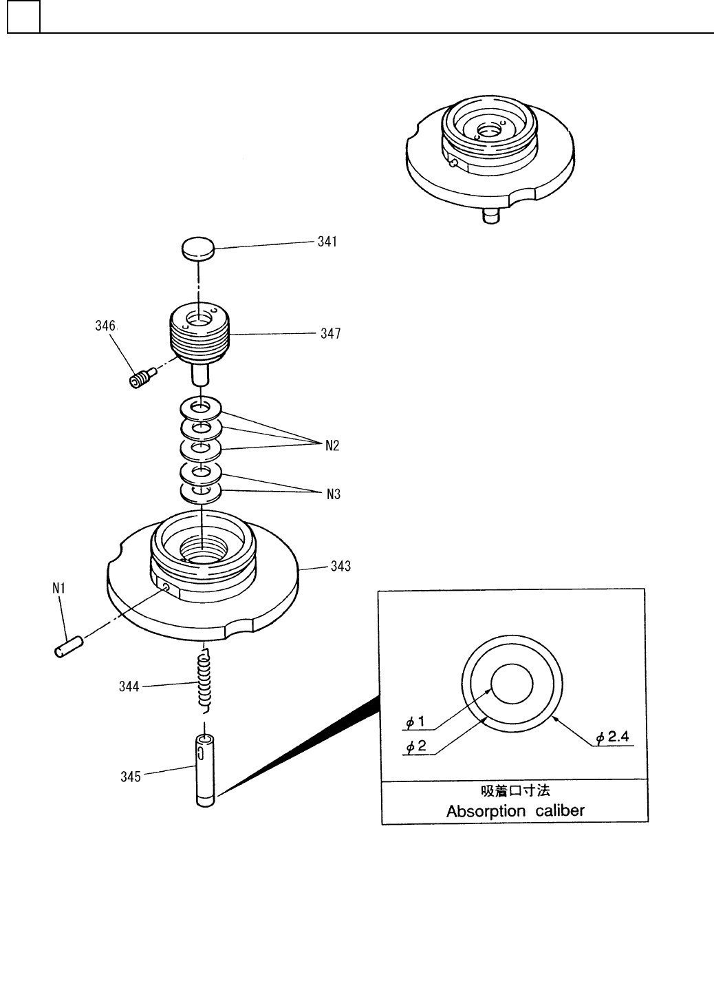
イラスト No. REF No. PART No. PART NAME REMAR KS Q'TY 7 ノズル部 NOZZLE SECT . 部 品 名 品 番 個数 備 考 1 1047018760 NOZZLE UNIT ノス ゙ルユニット 761 1 1045908018 FILTER フィルタ 762 1 104590804209 FLANGE フランジ 764 1 104590804403 SPRING ハ ゙ネ…

ノズル部
NOZZLE SECT.
7
F10470-18-760-AG
M63

イラスト
No.
REF
No.
PART No.
PART NAME
REMARKS
Q'TY
7
ノズル部
NOZZLE SECT.
部 品 名 品 番 個数
備 考
1 1047018760
NOZZLE UNIT ノス
゙ルユニット
761
1
1045908018
FILTER フィルタ
762
1
104590804209
FLANGE フランジ
764 1 104590804403
SPRING ハ
゙ネ
765 1 1045908045
WASHER ザ
ガネ
766
1
1045908015
PIN(GUIDE) ピン(ガイド)
767
1
1045908052
RING リング
768 1 104701876803
PAD HOLDER ハ
゚ッドホルダ
769 1 1045908069
SPRING ハ
゙ネ
770
1
104590807003
SHAFT シャフト
771 1 1040318764
PAD(M) パッド(M)
N 1 1 XPJ2A6FW
PARALLEL PIN ヘイコウヒ
゚ン
2X6,m6A,STEEL
M64
F10470-18-760-AG

ノズル部
NOZZLE SECT.
7
F10459-38-340-AC
M65