MPAV2B Parts list(Mechanical20090625) - 第94页
供給部(1 6連) SUPPLY SECT .(16 FEEDERS) 10 F10459-07-600-AM M75

イラスト
No.
REF
No.
PART No.
PART NAME
REMARKS
Q'TY
10
供給部(13連)
SUPPLY SECT.(13 FEEDERS)
部 品 名 品 番 個数
備 考
1 1045907800
SUPPLY UNIT キョウキュウユニット
801
1
104590780102
PLATE プレート
802
1
1045907802
LABEL ラベル
804 14 104590773001
GUIDE カ
゙イド
806 1 104590760706
FRAME フレーム
807
13
104590771196
SPRING バネ
808
13
1045907609
SPRING バネ
811 1 104590781101
COVER カハ
゙ー
812 1 104590731702
COVER カハ
゙ー
813
2
1045907318
COLLAR カラー
818 4 1045907619
SHIM シム T=0.05
819 4 1045907620
SHIM シム T=0.1
820
1
1045907820
NUMBER LABEL ナンバーラベル
822
1
1045907822
GUIDE ガイド
823 1 104590782301
BRACKET ブラケット
824 13 1045907648
PIN ヒ
゚ン
N71
1
XPJ6E14FW
PARALLEL PIN ヘイコウピン 6X14,h8B,STEEL
N73
26
N555MYA5
PACKING パッキン MYA-5
N75 13 N986MSB820
BOLT ショルダボルト MSB8-20
N78 4 XVE25B8FY
HEX. SOCKET HEAD CAP BOLT ロッカクアナツキホ
゙ルト
M2.5X8,STEEL,Z.C.T
N79
4
XWA25BFY
SPRING WASHER バネザガネ 2.5,2-TYPE,STEEL,Z.C.T
N81
4
XPJ4E10FW
PARALLEL PIN ヘイコウピン 4X10,h8B,STEEL
N82 1 N4356UHK
TUBE チューフ
゙
30-06,BLACK
N83 1 N431KQT0600
FITTING ツキ
゙テ
KQT06-00
N85
2
N431KJS06M5
FITTING ハーフユニオン KJS06-M5
N86 4 XSS25+5YW
FLUSH HEAD SCREW サラコネジ M2.5X5,+,STAINLESS(SUS305)
N87 13 N986MRN0-E25
BLOCK フ
゙ロック
MRN00000051-A
N88
14
XPL3A15WFW
SPRING PIN スプリングピン 3X15,STEEL
M74
F10459-07-800-AM

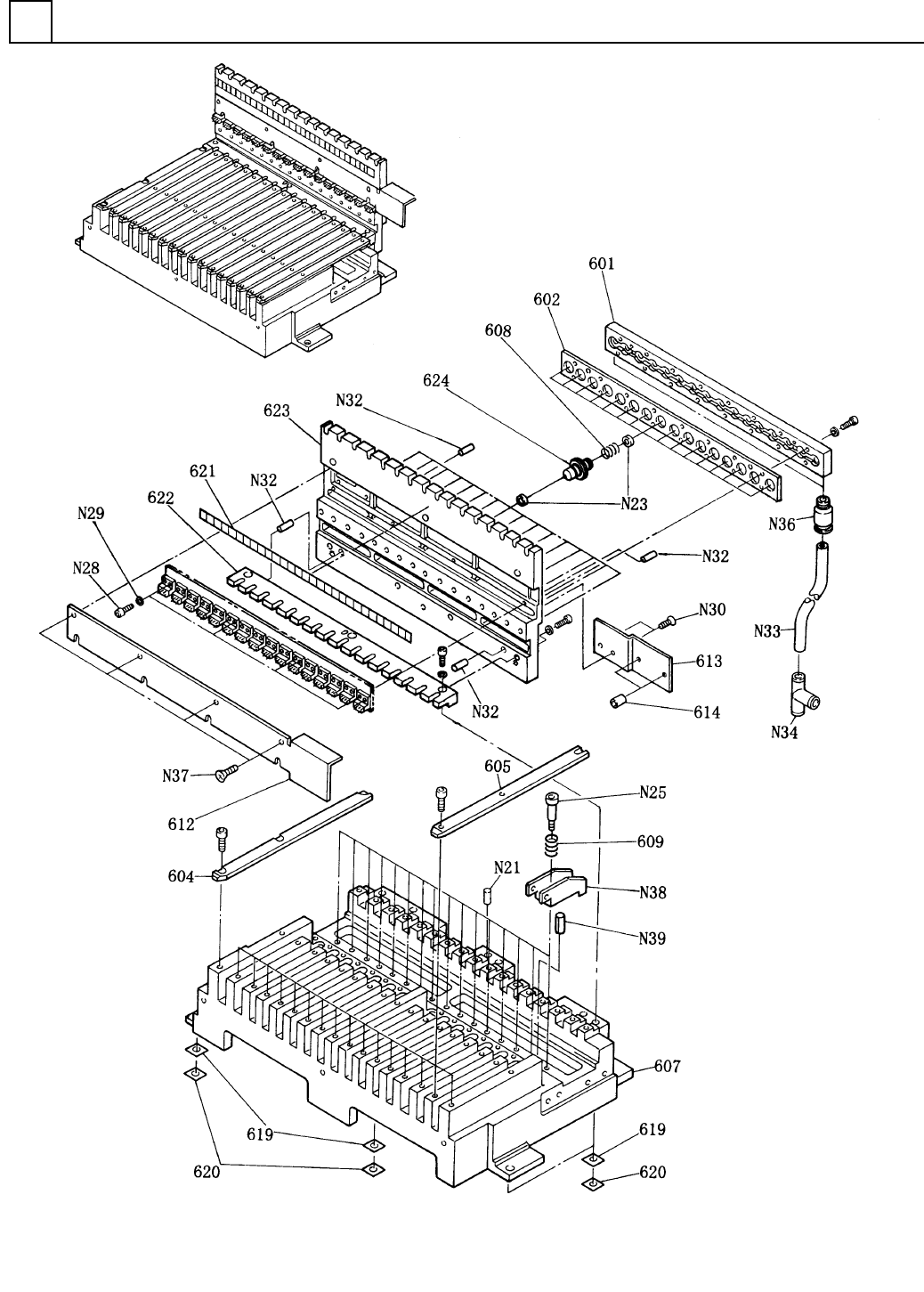
供給部(16連)
SUPPLY SECT.(16 FEEDERS)
10
F10459-07-600-AM
M75

イラスト
No.
REF
No.
PART No.
PART NAME
REMARKS
Q'TY
10
供給部(16連)
SUPPLY SECT.(16 FEEDERS)
部 品 名 品 番 個数
備 考
1 1045907600
SUPPLY UNIT キョウキュウユニット
601
1
104590770502
PLATE プレート
602
1
1045907706
LABEL ラベル
604 1 1045907729
GUIDE カ
゙イド
605 16 104590773001
GUIDE ガ
イド
607
1
104590760706
FRAME フレーム
608
16
104590771196
SPRING バネ
609 16 1045907609
SPRING ハ
゙ネ
612 1 104590761201
COVER カハ
゙ー
613
1
104590721302
BRACKET ブラケット
614 2 104590721402
COLLAR カラー
619 4 1045907619
SHIM シム T=0.05
620
4
1045907620
SHIM シム T=0.1
621
1
1045907621
NUMBER LABEL ナンバーラベル
622 1 1045907622
GUIDE ガイド
623 1 104590762301
BRACKET フ
゙ラケット
624
16
1045907648
PIN ピン
N21
1
XPJ6E14FW
PARALLEL PIN ヘイコウピン 6X14,h8B,STEEL
N23 32 N555MYA5
PACKING パッキン MYA-5
N25 16 N986MSB820
BOLT ショルタ
゙ボルト
MSB8-20
N28
4
XVE25B8FY
HEX. SOCKET HEAD CAP BOLT ロッカクアナツキボルト M2.5X8,STEEL,Z.C.T
N29
4
XWA25BFY
SPRING WASHER バネザガネ 2.5,2-TYPE,STEEL,Z.C.T
N30 2 XSS3+6YW
FLUSH HEAD SCREW サラコネシ
゙
M3X6,+,STAINLESS(SUS305)
N32 4 XPJ4E10FW
PARALLEL PIN ヘイコウヒ
゚ン
4X10,h8B,STEEL
N33
1
N4356UHK
TUBE チューブ 30-06,BLACK
N34 1 N431KQT0600
FITTING ツギテ KQT06-00
N36 2 N431KJS06M5
FITTING ハーフユニオン KJS06-M5
N37
4
XSS25+5YW
FLUSH HEAD SCREW サラコネジ M2.5X5,+,STAINLESS(SUS305)
N38
16
N986MRN0-E25
BLOCK ブロック MRN00000051-A
N39 17 XPL3A15WFW
SPRING PIN スプリングピン 3X15,STEEL
M76
F10459-07-600-AM