MPAV2B Parts list(Mechanical20090625) - 第95页
イラスト No. REF No. PART No. PART NAME REMAR KS Q'TY 10 供給部(1 6連) SUPPLY SECT .(16 FEEDERS) 部 品 名 品 番 個数 備 考 1 1045907600 SUPPLY UNIT キョウキュウユニット 601 1 104590770502 PLATE プレート 602 1 1045907706 LABEL ラベル 604 1 10459077…

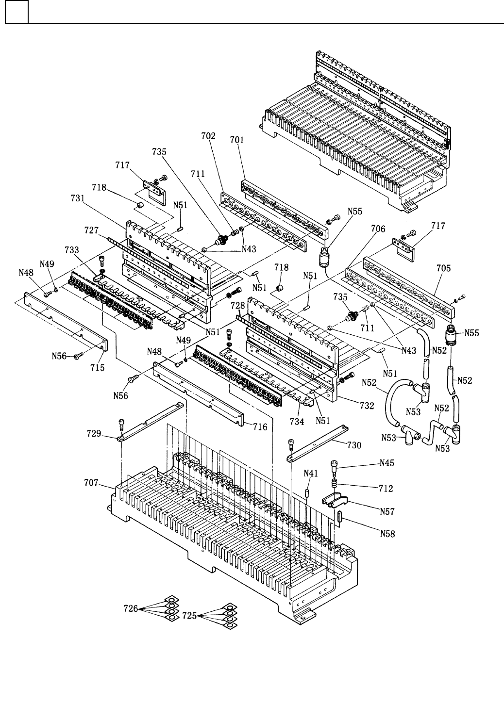
供給部(16連)
SUPPLY SECT.(16 FEEDERS)
10
F10459-07-600-AM
M75

イラスト
No.
REF
No.
PART No.
PART NAME
REMARKS
Q'TY
10
供給部(16連)
SUPPLY SECT.(16 FEEDERS)
部 品 名 品 番 個数
備 考
1 1045907600
SUPPLY UNIT キョウキュウユニット
601
1
104590770502
PLATE プレート
602
1
1045907706
LABEL ラベル
604 1 1045907729
GUIDE カ
゙イド
605 16 104590773001
GUIDE ガ
イド
607
1
104590760706
FRAME フレーム
608
16
104590771196
SPRING バネ
609 16 1045907609
SPRING ハ
゙ネ
612 1 104590761201
COVER カハ
゙ー
613
1
104590721302
BRACKET ブラケット
614 2 104590721402
COLLAR カラー
619 4 1045907619
SHIM シム T=0.05
620
4
1045907620
SHIM シム T=0.1
621
1
1045907621
NUMBER LABEL ナンバーラベル
622 1 1045907622
GUIDE ガイド
623 1 104590762301
BRACKET フ
゙ラケット
624
16
1045907648
PIN ピン
N21
1
XPJ6E14FW
PARALLEL PIN ヘイコウピン 6X14,h8B,STEEL
N23 32 N555MYA5
PACKING パッキン MYA-5
N25 16 N986MSB820
BOLT ショルタ
゙ボルト
MSB8-20
N28
4
XVE25B8FY
HEX. SOCKET HEAD CAP BOLT ロッカクアナツキボルト M2.5X8,STEEL,Z.C.T
N29
4
XWA25BFY
SPRING WASHER バネザガネ 2.5,2-TYPE,STEEL,Z.C.T
N30 2 XSS3+6YW
FLUSH HEAD SCREW サラコネシ
゙
M3X6,+,STAINLESS(SUS305)
N32 4 XPJ4E10FW
PARALLEL PIN ヘイコウヒ
゚ン
4X10,h8B,STEEL
N33
1
N4356UHK
TUBE チューブ 30-06,BLACK
N34 1 N431KQT0600
FITTING ツギテ KQT06-00
N36 2 N431KJS06M5
FITTING ハーフユニオン KJS06-M5
N37
4
XSS25+5YW
FLUSH HEAD SCREW サラコネジ M2.5X5,+,STAINLESS(SUS305)
N38
16
N986MRN0-E25
BLOCK ブロック MRN00000051-A
N39 17 XPL3A15WFW
SPRING PIN スプリングピン 3X15,STEEL
M76
F10459-07-600-AM

供給部(31連)
SUPPLY SECT.(31 FEEDERS)
10
F10459-07-700-AM
M77