MPAV2B Parts list(Mechanical20090625) - 第99页
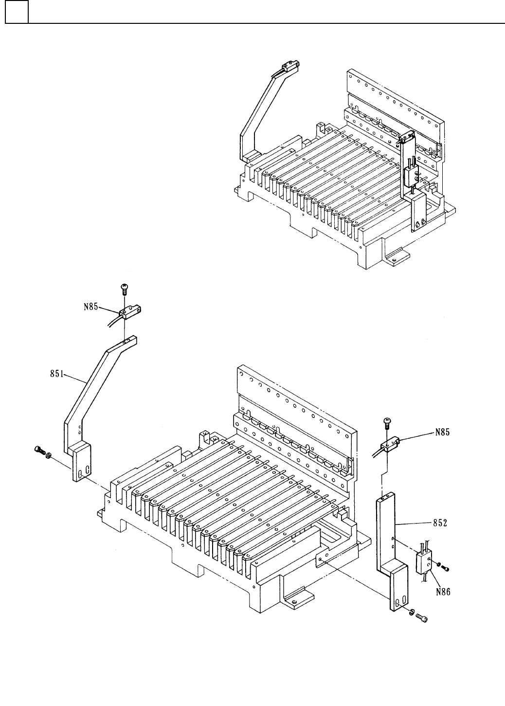
イラスト No. REF No. PART No. PART NAME REMAR KS Q'TY 10 供給部(カ セット浮きセンサー部< 13連> ) SUPPLY SECT .(FLOAT OF CASSETT E SENSOR SECT .) 部 品 名 品 番 個数 備 考 1 1045907850 SUPPLY UNIT キョウキュウユニット 851 1 104590775103 BRACKET ブラ…

供給部(カセット浮きセンサー部<13連>)
SUPPLY SECT.(FLOAT OF CASSETTE SENSOR SECT.)
10
F10459-07-850-AF
M79

イラスト
No.
REF
No.
PART No.
PART NAME
REMARKS
Q'TY
10
供給部(カセット浮きセンサー部<13連>)
SUPPLY SECT.(FLOAT OF CASSETTE SENSOR SECT.)
部 品 名 品 番 個数
備 考
1 1045907850
SUPPLY UNIT キョウキュウユニット
851
1
104590775103
BRACKET ブラケット
852
1
104590785204
BRACKET ブラケット
N85 1 N310E32T14
OPTICAL FIBER CABLE UNIT ファイハ
゙ーユニット
E32-T14
N86 1 N310E3XA11
SENSOR センサ E3X-A11
M80
F10459-07-850-AF

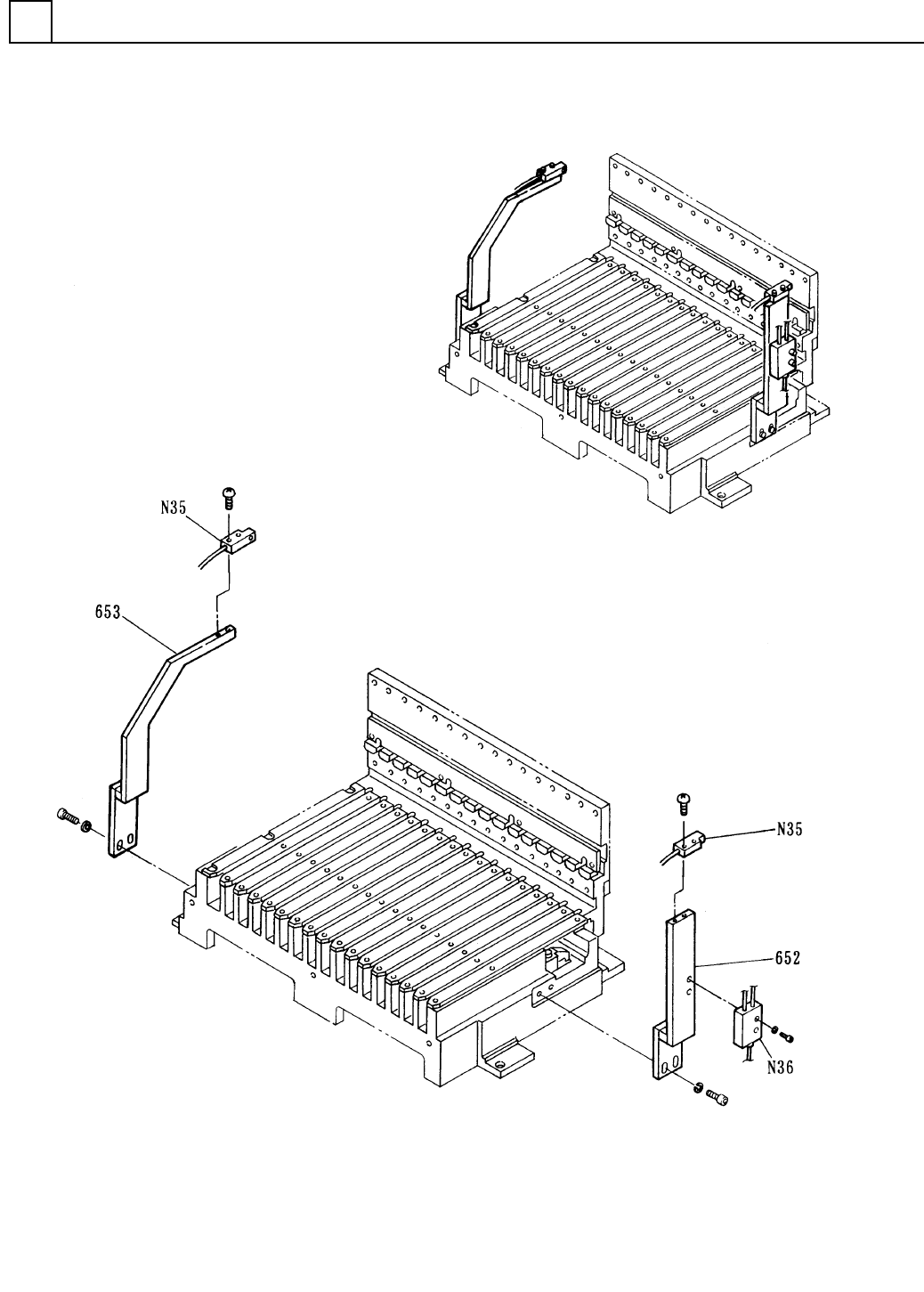
供給部(カセット浮きセンサー部<16連>)
SUPPLY SECT.(FLOAT OF CASSETTE SENSOR SECT.)
10
F10459-07-650-AD
M81