Control unit_20211124_032820

Control unit Page 1 / 14 24.11.2021

100%1 / 14
Control unit
Page 1 / 14 24.11.2021
Control unit
Page 2 / 14 24.11.2021
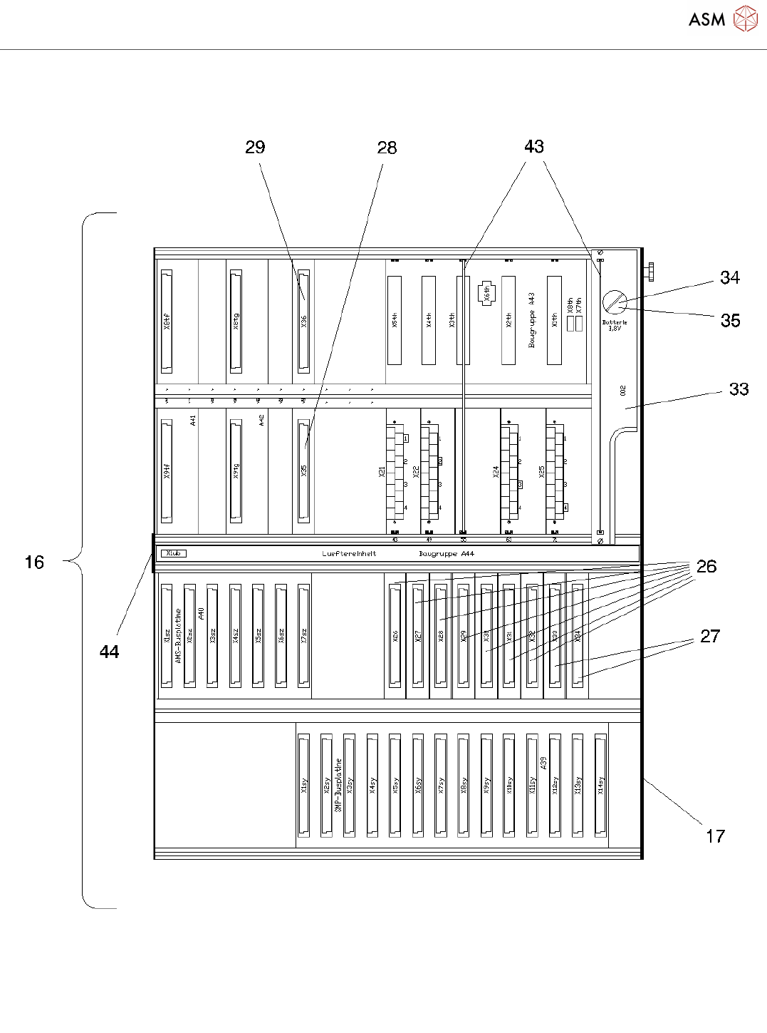
Control unit
Page 3 / 14 24.11.2021