P-0200-001.pdf - 第149页

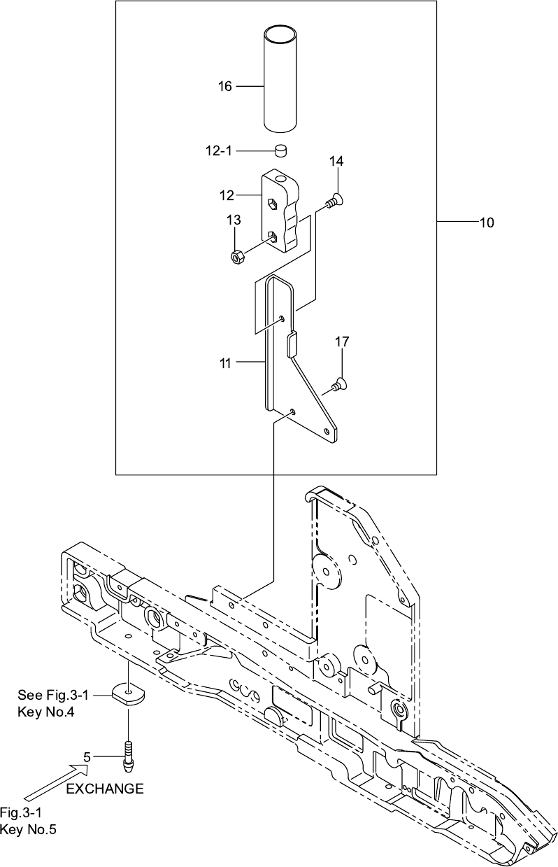
0108-002 16-3 ㇱຠ⇟ภ ㇱ ຠ ฬ ஻ ⠨ PART No. PART NAME REMARKS CT-1680HL-04,08,12,16 5 630 086 4830 PIN,LOCAT E 1 725HL-01B-003 10 630 086 5394 ASSY,BRACKET (TH-1680) 1 11 630 085 9607 BRACKET 1 725HL-01B-001 12 630 070 7601 BR…

100%1 / 166
0108-002
TAG AssyTIM-5000 ࠪ࡝࡯࠭㧕
TAG Assy(for TIM-5000 Series)
Fig. 16-3
16mm ᏷࠹࡯ࡊࡈࠖ࡯࠳↪
FOR 16mm TAPE FEEDER
TH-1680 TH-1680
0108-002
16-3
ㇱຠ⇟ภ
PART No. PART NAME REMARKS
CT-1680HL-04,08,12,16
5 630 086 4830 PIN,LOCATE 1 725HL-01B-003
10 630 086 5394 ASSY,BRACKET(TH-1680) 1
11 630 085 9607 BRACKET 1 725HL-01B-001
12 630 070 7601 BRACKET(GRIP) 1 725HL-01B-002
12 -1 630 085 1526 UNIT,I/O 1 725HL-01H-001
13 411 054 8506 NUT HEX 4 1 M4 F
14 411 113 4708 SCR FLT 4X10 1 M4X10 FLT
16 630 086 5554 TUBE,WIRING 1 725HL-01H-002
17 411 140 7208 SCR FLT 4X6 2 M4X6 FLT
ᵈᗧ
NOTE
⷗಴⇟
Key No.
(GREEN)
GREEN
ᢙ㊂
Q'ty
0108-002
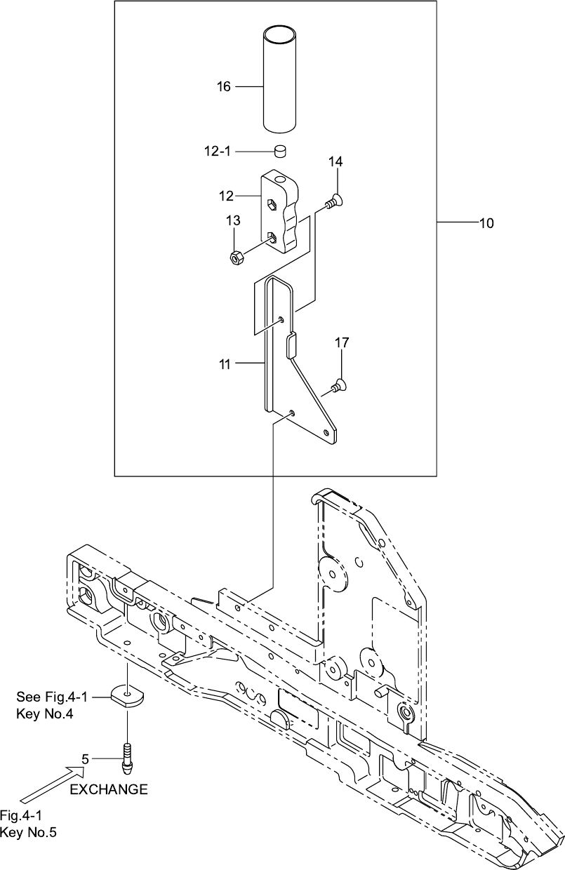
TAG AssyTIM-5000 ࠪ࡝࡯࠭㧕
TAG Assy(for TIM-5000 Series)
Fig. 16-4
24mm ᏷࠹࡯ࡊࡈࠖ࡯࠳↪
FOR 24mm TAPE FEEDER
TH-2480, 2481 TH-2480, 2481