P-0200-001.pdf - 第47页
0108-003 2-6 ㇱຠ⇟ภ ㇱ ຠ ฬ ⠨ PART No. PART NAME REMARKS CT-1252TS,TL CT-1260TS,TL CT-1261TS,TL CT-1280TS,TL CT-1281TS,TL 10 630 071 0601 ASSY,BRACKET(T G-1260) 1 1 (GRAY) 10 630 071 0618 ASSY,BRACKET(T G-1261) 1 1 (ORANGE…

0108-004
12mm ࠹ࡊࡈࠖ࠳ 12mm TAPE FEEDER
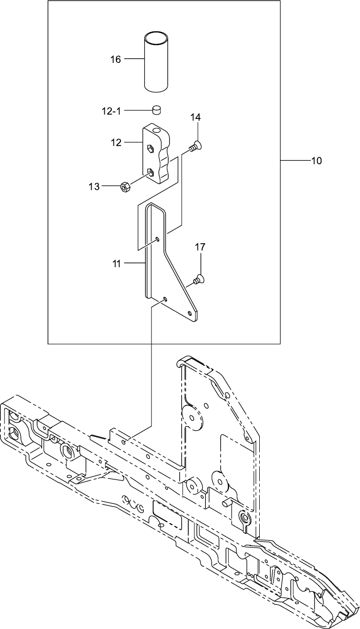
Fig. 2-6 TAG Assy TAG Assy
TG-1252, 1260, 1261 TG-1252, 1260, 1261

0108-003
2-6
ㇱຠ⇟ภ ㇱ ຠ ฬ ⠨
PART No. PART NAME REMARKS
CT-1252TS,TL
CT-1260TS,TL
CT-1261TS,TL
CT-1280TS,TL
CT-1281TS,TL
10 630 071 0601 ASSY,BRACKET(TG-1260) 1 1 (GRAY)
10 630 071 0618 ASSY,BRACKET(TG-1261) 1 1 (ORANGE)
10 630 071 0632 ASSY,BRACKET(TG-1252) 1 (GREEN)
11 630 054 4800 BRACKET 11111 671TG-01B-001
12 630 070 7601 BRACKET(GRIP) 11111 671TG-01B-002
12 -1 630 085 1526 UNIT,I/O 11111 671TG-01H-001
13 411 054 8506 NUT HEX 4 11111 M4 F
14 411 113 4708 SCR FLT 4X10 11111 M4X10 FLT
16 630 041 6206 TUBE,WIRING GRAY 1 1 671TG-01H-002
16 630 041 6237 TUBE,WIRING ORANGE 1 1 671TH-01H-002
16 630 041 6213 TUBE,WIRING GREEN 1 582TJ-01H-002
17 411 140 7208 SCR FLT 4X6 22222 M4X6 FLT
NOTE
ᢙ㊂
Q'ty
⇟
ภ
Key No.
ᵈᗧ

0003-003
16mm ࠹ࡊࡈࠖ࠳ 16mm TAPE FEEDER
Fig. 3-1 ࠞ࠶࠻ࡏ࠺ࠖㇱ Cassette Body Section