P-0200-001.pdf - 第48页
0003-003 16mm ࠹ࡊࡈࠖ࠳ 16mm TAPE FEEDER Fig. 3-1 ࠞ࠶࠻ࡏ࠺ࠖㇱ Cassette Body Section

0108-003
2-6
ㇱຠ⇟ภ ㇱ ຠ ฬ ⠨
PART No. PART NAME REMARKS
CT-1252TS,TL
CT-1260TS,TL
CT-1261TS,TL
CT-1280TS,TL
CT-1281TS,TL
10 630 071 0601 ASSY,BRACKET(TG-1260) 1 1 (GRAY)
10 630 071 0618 ASSY,BRACKET(TG-1261) 1 1 (ORANGE)
10 630 071 0632 ASSY,BRACKET(TG-1252) 1 (GREEN)
11 630 054 4800 BRACKET 11111 671TG-01B-001
12 630 070 7601 BRACKET(GRIP) 11111 671TG-01B-002
12 -1 630 085 1526 UNIT,I/O 11111 671TG-01H-001
13 411 054 8506 NUT HEX 4 11111 M4 F
14 411 113 4708 SCR FLT 4X10 11111 M4X10 FLT
16 630 041 6206 TUBE,WIRING GRAY 1 1 671TG-01H-002
16 630 041 6237 TUBE,WIRING ORANGE 1 1 671TH-01H-002
16 630 041 6213 TUBE,WIRING GREEN 1 582TJ-01H-002
17 411 140 7208 SCR FLT 4X6 22222 M4X6 FLT
NOTE
ᢙ㊂
Q'ty
⇟
ภ
Key No.
ᵈᗧ

0003-003
16mm ࠹ࡊࡈࠖ࠳ 16mm TAPE FEEDER
Fig. 3-1 ࠞ࠶࠻ࡏ࠺ࠖㇱ Cassette Body Section

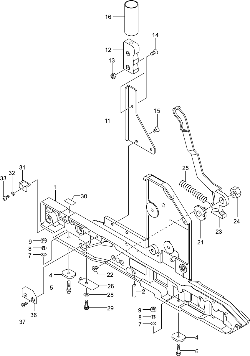
0108-004
3-1
ㇱຠ⇟ภ ㇱ ຠ ฬ ⠨
PART No. PART NAME REMARKS
CT-1660L-04,08,12,16
CT-1680L,PL-04,08,12,16
CT-1660TL-04,08,12,16
CT-1680TL,HL-04,08,12,16
1 630 084 7352 FRAME(CASSETTE BODY) 1 1 725L--01B-001
1 630 060 8397 FRAME(CASSETTE BODY) 1 1 671L--01B-001
2 630 037 0294 PIN,LOCATE 1111 671L--01H-003
4 630 039 3002 PLATE 2222 671L--01B-070
5 630 039 3200 PIN,LOCATE 1111 671L--01B-072
6 630 039 3187 PIN,LOCATE 1111 671L--01B-071
7 411 141 4008 WASHER V 4X9X0.8 2222 FW4
8 411 141 2905 WASHER SPR 4 2222 SW4
9 411 141 0307 NUT HEX 4 2222 M4
11 630 054 4800 BRACKET 1 1 671L--01B-003
12 630 070 7601 BRACKET(GRIP) 1 1 671L--01B-004
13 411 054 8506 NUT HEX 4 1 1 M4 F
14 411 113 4708 SCR FLT 4X10 1 1 M4X10 FLT
15 411 140 7208 SCR FLT 4X6 2 2 M4X6 FLT
16 630 041 6213 TUBE,WIRING 1 1 671L--01H-009
21 630 060 3613 PIN,LOCATE 1111 671L--01B-005
22 411 140 7208 SCR FLT 4X6 2222 M4X6 FLT
23 630 037 0393 LEVER(LOCATE) 1111 671L--01B-041
24 630 000 9859 NUT,HEX 1111 671L--01H-001
25 630 010 5957 SPRING,COMP 1111 671L--01B-076
26 630 039 3217 PLATE 1111 671L--01B-051
28 411 141 2905 WASHER SPR 4 1111 SW4
29 630 000 7602 BOLT,HEX-SCT 1111 M4X6
30 630 037 2502 ACCESSORY,LIGHT 1111 671L--01H-010
31 630 039 4085 PLATE 1111 671L--01B-058
32 411 086 4408 WASHER SPR 3 1111 SW3 F
33 411 041 8908 SCR PAN 3X6 1111 M3X6 PAN
36
630 037 0423 PLATE 1111 671L--01B-045
37
411 034 7208 SCR FLT 3X8 2222 M3X8 FLT
GREEN
ᵈᗧ
NOTE
ᢙ㊂
Q'ty
⇟
ภ
Key No.