P-0200-001.pdf - 第56页

0108-003 16mm ᏷࠹࡯ࡊࡈࠖ࡯࠳ 16mm TAPE FEEDER Fig. 3-6 TAG Assy TAG Assy TG-1660 TG-1660

100%1 / 166
0108-004
3-3
ㇱຠ⇟ภ
PART No. PART NAME REMARKS
CT-1660L-04,08,12,16
CT-1680L,PL-04,08,12,16
CT-1660TL-04,08,12,16
CT-1680TL,HL-04,08,12,16
1 630 050 0639 FRAME(RL1651LA SUB ASSY1)
2 630 044 1871 PIN,GUIDE(REEL BINDER) 582LL-01B-008
9 630 040 2124 BOLT,HEX-SCT(REEL HOLDER) 582LL-01B-009
10 411 004 6903 NUT HEX 6 M6-3 F
ᢙ㊂
Q'ty
1
1
2
2
⷗಴⇟
Key No.
ᵈᗧ
NOTE
0108-003
16mm ᏷࠹࡯ࡊࡈࠖ࡯࠳ 16mm TAPE FEEDER
Fig. 3-6 TAG Assy TAG Assy
TG-1660 TG-1660
0108-003
3-6
ㇱຠ⇟ภ
PART No. PART NAME REMARKS
CT-1660TL-04,08,12,16
CT-1680TL-04,08,12,16
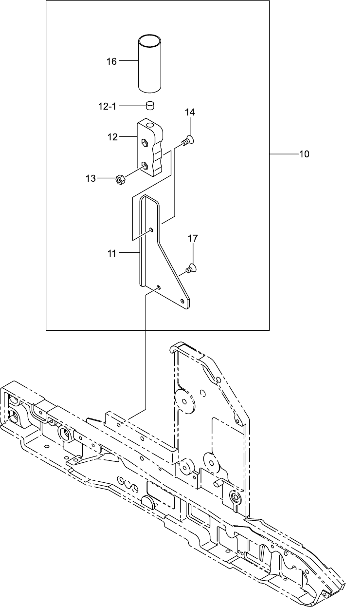
10 630 071 0649 ASSY,BRACKET(TG-1660) 1 1
11 630 054 4800 BRACKET 1 1 671TL-01B-001
12 630 070 7601 BRACKET(GRIP) 1 1 671TL-01B-002
12 -1 630 085 1526 UNIT,I/O 1 1 671TL-01H-001
13 411 054 8506 NUT HEX 4 1 1 M4 F
14 411 113 4708 SCR FLT 4X10 1 1 M4X10 FLT
16 630 041 6213 TUBE,WIRING 1 1 671TL-01H-002
17 411 140 7208 SCR FLT 4X6 2 2 M4X6 FLT
ᢙ㊂
Q'ty
⷗಴⇟
Key No.
(GREEN)
GREEN
ᵈᗧ
NOTE